F-35XP
Cordless Framing Nailer
Parts Reference Guide
Schematic Drawings Inside

DANGER: The Fusion tool is charged with compressed air in a sealed chamber.
Prior to any service or repair, release the charge of pressurized air. The pressurized air must be released prior to service. Major components such as the piston/driver assembly, gearbox, piston stop and guide body are all part of the drive assembly. Deliberate tampering with the drive assembly may result in the release of the driver. Any repair or upgrade requiring access to the pressure chamber may be handled by an authorized Senco dealer or service center.
NFD010G • January 7, 2021 (Replaces 8/25/20)
KYOCERA SENCO Industrial Tools
4270 Ivy Pointe Blvd.
Cincinnati, OH 45245
1-800-543-4596
Questions? Comments? call SENCO’s toll-free Action-Line: 1-800-543-4596
(North and South America Only) or email: [email protected]
© 2020 by Senco Brands, Inc.
F-35XP Cordless Framing Nailer
MAJOR ASSEMBLIES








| PART NO. | DESCRIPTION |
| AA0283 | Rafter Hanger Assembly |
| AA0285 | Body Assembly |
| FA0364 | Front Plate Assembly |
| GA0763 | Feed System |
| VA0122 | Electrical Assembly |
| WA0072 | Gearbox Assembly |
| WA0073 | Mechanical Assembly |
| PART NO. | DESCRIPTION |
| VB0189 | Charger |
| VB0190 | Battery |
BODY ASSEMBLY

| PART NO. | DESCRIPTION |
| AA0286 | Door Assembly |
| AB0268 | Cap |
| AB0267 | Detent, Rafter Hanger |
| AC0641 | Adapter, Nut |
| AC0642 | Retainer, Nut |
| AF0124 | Left Body Assembly |
| AF0125 | Right Body Assembly |
| KD0397 | Screw |
| KD0404 | Screw |
MECHANICAL ASSEMBLY


| PART NO. | DESCRIPTION |
| AB0269 | Pressure Vessel |
| BC0967 | Retainer, Upper |
| BC0968 | Retainer, Lower |
| BC0969 | Sleeve |
| BC0970 | Sleeve Retainer |
| BC0971 | Piston Stop |
| CC0322 | Plug |
| EA0413 | Driver Assembly |
| FA0365 | Chassis-Assembly |
| KD0366 | Screw |
| KD0391 | Screw |
| KD0392 | Washer |
| KD0393 | Screw |
| LB5171 | Seal |
| LB5173 | O-Ring |
| LB5174 | O-Ring |
| LB5175 | Seal |
CHASSIS ASSEMBLY

| PART NO. | DESCRIPTION |
| CA0185 | Fill Assembly |
| VA0121 | Solenoid |
FEED SYSTEM


| PART NO. | DESCRIPTION |
| FC1042 | Backplate |
| FC1043 | Magazine Insert |
| FC1044 | Bumper |
| GA0764 | Magazine Sub-Assembly |
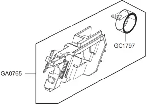
| GA0765 | Carriage Assembly |
| GB0623 | Bracket |
| GB0639 | C-Tube |
| GB0640 | Wear Insert |
| GC1790 | Hex Wrench |
| GC1791 | Washer |
| KD0367 | Screw |
| KD0399 | Screw |
| KD0400 | Screw |
| PART NO. | DESCRIPTION |
| GA0765 | Carriage Assembly |
| GC1797 | Feed Spring |
GA0767 EXTENDED FEED SYSTEM (OPTIONAL)


| PART NO. | DESCRIPTION |
| FC1042 | Backplate |
| FC1043 | Magazine Insert |
| FC1044 | Bumper |
| GA0765 | Carriage Assembly |
| GA0766 | Magazine Sub-Assembly |
| GB0623 | Bracket |
| GB0643 | Wear Insert |
| GB0644 | C-Tube |
| GC1790 | Hex Wrench |
| GC1791 | Washer |
| KD0367 | Screw |
| KD0399 | Screw |
| KD0400 | Screw |
| PART NO. | DESCRIPTION |
| GA0765 | Carriage Assembly |
| GC1797 | Feed Spring |
FRONT PLATE ASSEMBLY



| PART NO. | DESCRIPTION |
| FC1045 | Front Plate |
| HA0334 | Extension Assembly |
| HA0337 | Adjustable Safety |
| HC0819 | Clip |
| HC0824 | Standoff Tube |
| HF0127 | Boot |
| KD0369 | Screw, and Lockwasher |
| KD0372 | Screw |
| KD0383 | Spring |
| KD0384 | Screw |
| KD0385 | Screw |
| KD0387 | Spring Pin |
| KD0388 | Washer |
| LB5169 | O-Ring |
FILL ASSEMBLY

| PART NO. | DESCRIPTION |
| CC0323 | Air Filter |
| CC0324 | Fill Cover |
HANGER ASSEMBLY

| PART NO. | DESCRIPTION |
| AC0637 | Hanger Hook |
| AC0640 | Hook Ring |
| KD0362 | Screw |
GEARBOX ASSEMBLY

| PART NO. | DESCRIPTION |
| KD0394 | Screw |
| WC0245 | Housing |
| WC0254 | Seal |
| WC0255 | Pin |
PISTON AND DRIVER ASSEMBLY

| PART NO. | DESCRIPTION |
| BC0972 | Bearing |
| LB5176 | Seal |
ELECTRICAL ASSEMBLY


| PART NO. | DESCRIPTION |
| AC0642 | Retainer, Nut |
| AF0126 | On-Off Toggle |
| KD0372 | Screw |
| KD0381 | Screw |
| KD0406 | Screw |
| LB5168 | O-Ring |
| VA0121 | Solenoid Assembly |
| VC0133 | Bracket |
| VC0134 | Panel |
| VC0135 | Bracket |
| VC0136 | Bracket |
SOLENOID ASSEMBLY

| PART NO. | DESCRIPTION |
| KD0408 | Spring |
| KD0409 | Nut |
| VC0140 | Bracket |
| VC0141 | Solenoid and Plunger |
TRIGGER ASSEMBLY



| PART NO. | DESCRIPTION |
| KD0407 | Spring |
| HC0826 | Trigger |
NOTES
Questions? Comments? call SENCO’s toll-free Action-line: 1-800-543-4596 (North & South America only) or e-mail: [email protected]
KYOCERA SENCO Industrial Tools
4270 Ivy Pointe Blvd.
Cincinnati, OH 45245
1-800-543-4596























