FREEMAN PE20VT3490 20V Cordless Brushless 34 Degree Framing Nailer User Guide
WARNING
The warning and precautions discussed in this manual cannot cover all possible conditions and si:uations that may occur. Please be aware of the potential hazards and take all necessary precautions to avoid risk of injuries.
SAVE THIS MANUAL
• Keep this manual for the safety warnings, precautions, operations, inspections, and maintenance information. Store this manual and the receipt in a safe and dry place for future reference.
WARNING: To avoid serious personal injury, do not attempt to use this product until you read the manual thoroughly and understand it completely. Save this manual and review it frequently for safe operation and instructing others who may use this tool.
SYMBOLS
In this manual, on the labels, packages and all other information provided with this tool, the following signal words and meanings are intended to explain the levels of risk associated with this tool.
| SYMBOLS | SIGNAL | MEANING |
| WARNING: | Indicates a potentialy hazardous situation, which, if not avoided, could result in death or serious injury. | |
| CAUTION: | Indicates a potentialy hazardous situation, which, if not avoided, may result in minor or moderate injury. | |
| CAUTION: | (Without symbol) Indicates a situation that may result in property damage. |
GENERAL SAFETY INSTRUCTIONS
CALIFORNIA PROPOSITION 65
WARNING . This product can expose you to chemicals including lead, which is known to the State of California to cause cancer and other birth defects or other repro-ductive harm. For more information go to www.P65Warnings.ca.gov.
WORK AREA SAFETY
- Keep work area clean and well lit. Cluttered or dark areas invite accidents.
- Do not operate power tools in explosive atmospheres, such as in the presence of flammable liquids, gases or dust. Power tools create sparks which may ignite the dust or fumes.
- Keep children and bystanders away while operating a power tool. Distractions can cause you to lose control.
ELECTRICAL SAFETY
- Power tool plugs must match the outlet. Never modify the plug in any way. Do not use any adapter plugs with earthed (grounded) power tools. Unmodified plugs and matching outlets will reduce risk of electric shock.
- Avoid body contact with earthed or grounded surfaces such as pipes, radiators, ranges and refrigerators. There is an increased risk of electric shock if your body is earthed or grounded.
- Do not expose power tools to rain or wet conditions. Water entering a power tool will increase the risk of electric shock.
- Do not abuse the cord. Never use the cord for carrying, pulling or unplugging the power tool. Keep cord away from heat, oil, sharp edges or moving parts. Damaged or entangled cords increase the risk of electric shock.
- When operating a power tool outdoors, use an extension cord suitable for outdoor use. Use of a cord suitable for outdoor use reduces the risk of electric shock.
- If operating a power tool in a damp location is unavoidable, use a ground fault circuit interrupter (GFCI) protected supply. Use of a GFCI reduces the risk of electric shock.
- Use battery only with charger listed.
PERSONAL SAFETY
- Stay alert, watch what you are doing and use common sense when operating a power tool. Do not use a power tool while you are tired or under the influence of drugs, alcohol or medication. A moment of inattention while operating power tools may result in serious personal injury.
- Use personal protective equipment. Always wear eye protection. Protective equipment such as dust mask, non-skid safety shoes, hard hat, or hearing protection used for appropriate conditions will reduce personal injuries.
- Prevent unintentional starting. Ensure the switch is in the off-position before connect-ing to power source and/or battery pack, picking up or carrying the tool. Carrying power tools with your finger on the switch or energizing power tools that have the switch on invites accidents.
- Remove any adjusting key or wrench before turning the power tool on. A wrench or a key left attached to a rotating part of the power tool may result in personal injury.
- Do not overreach. Keep proper footing and balance at all times. This enables better control of the power tool in unexpected situations.
- Dress properly. Do not wear loose clothing or jewelery. Keep your hair, clothing and gloves away from moving parts. Loose clothes, jewelery or long hair can be caught in moving parts.
- If devices are provided for the connection of dust extraction and collection facilities, ensure these are connected and properly used. Use of dust collection can reduce dust-related hazards.
- Wor jme Contain long hair. Loose clothes, jewelry, or long hair can be drawn into air vents.
- Do not use on a ladder or unstable support. Stable footing on a solid surface enables better control of the power tool in unexpected situations.
POWER TOOL CARE AND USE
- Do not force the power tool. Use the correct power tool for your application. The correct power tool will do the job better and safer at the rate for which it was designed.
- Do not use the power tool if the switch can not turn it on and off. Any power tool that cannot be controlled with the switch is dangerous and must be repaired.
- Disconnect the plug from the power source and/or the battery pack from the power tool before making any adjustments, changing accessories, or storing power tools. Such preventive safety measures reduce the risk of starting the power tool accidentally.
- Store idle power tools out of the reach of children and do not allow persons unfamiliar with the power tool or these instructions to operate the power tool. Power tools are dangerous in the hands of untrained users.
- Maintain power tools. Check for misalign-ment or binding of moving parts, breakage of parts and any other condition that may affect the power tool’ s operation. If damaged, have the power tool repaired before use. Many accidents are caused by poorly maintained power tools.
- Keep cutting tools sharp and clean. Properly maintained cutting tools with sharp cutting edges are less likely to bind and are easier to control.
- Use the power tool, accessories and tool bits etc. in accordance with these instructions, considering the working conditions and the work to be performed. Use of the power tool for operations different from those intended could result in a hazardous situation.
BATTERY TOOL USE AND CARE
- Recharge only with the charger specified by the manufacturer. A charger that is suitable for one type of battery pack may create a risk of fire when used with another battery pack.
- Use power tools only with specifically designated battery packs. Use of any other battery packs may create a risk of injury and fire.
- When battery pack is not in use, keep it away from other metal objects, like paper clips, coins, keys, nails, screws or other small metal objects, that can make a connection from one terminal to another. Shorting the battery terminals together may cause burns or a fire.
- Under abusive conditions, liquid may be ejected from the battery; avoid contact. If contact accidentally occurs, flush with water. If liquid contacts eyes, additionally seek medical help. Liquid ejected from the battery may cause irritation or burns.
SERVICE
- Have Your phone power tools serviced by a qualified repair person using only identical replacement parts, The will ensure that the safety of thr power tool is maintained.
NAILER SAFETY
- Always assume that the tool contains fasteners. Careless handling of the nailer can result in unexpected firing of fasteners and personal injury.
- Do not point the tool towards yourself or anyone nearby. Unexpected triggering will discharge the fastener causing an injury.
- Do not actuate the tool unless the tool is placed firmly against the workpiece. If the tool is not in contact with the workpiece, the fastener may be deflected away from your target.
- Disconnect the tool from the power source when the fastener jams in the tool. While removing a jammed fastener, the nailer may be accidentally activated if it is plugged in.
- Use caution while removing a jammed fastener. The mechanism may be under compression and the fastener may be forcefully discharged while attempting to free a jammed condition.
- Do not use this nailer for fastening electrical cables. It is not designed for electric cable installation and may damage the insulation of electric cables thereby causing electric shock or fire hazards.
- Hold power tool by insulated gripping surfaces, when performing an operation where the nail may contact hidden wiring. Nails contacting a “live” wire may make exposed metal parts of the power tool “live” and could give the operator an electric shock.
- Know your power tool. Read operator’s manual carefully. Learn its applications and limitations, as well as the specific potential hazards related to this power tool. Following this rule will reduce the risk of electric shock, fire, or serious injury.
- Keep fingers away from trigger when not driving fasteners to avoid accidental firing.
- Use safety equipment Always wear eye protection. Dust mask, nonskid safety shoes, hard hat, or hearing protection must be used for appropriate conditions.
- Protect your lungs. Wear a face or dust mask if the operation is dusty. Following this rule will reduce the risk of serious personal injury.
- Always wear eye protection with side shields marked to comply with ANSI Z87.1. Everyday glasses have only impact resistant lenses. They are not safety glasses. Following this rule will reduce the risk of serious personal injury. Eye protection which conforms to ANSI specifications and provides protection against flying particles both from the FRONT and SIDE should ALWAYS be worn by the operator and others in the work area when loading, operating or servicing this tool. Eye protection is required to guard against flying fasteners and debris, which could cause severe eye injury.
- The employer and/or user must ensure that proper eye protection is worn. We recommend Wide Vision Safety Mask for use over eyeglasses or standard safety glasses that provide protection against flying particles both from the front and side. Always use eye protection which is marked to COMDiV with ANSI Z87.1.
- Additional safety protection will be required in some environments. For example, the working area may include exposure to noise level which can lead to hearing damage. The employer and user must ensure that any necessary hearing protection is provided and used by the operator and others in the work area. Some environments will require the use of head protection equipment. When required, the employer and user must ensure that head protection conforming to ANSI Z89.1-1997 is used.
- Protect your hearing. Wear hearing protection during extended periods of operation. Following this rule will reduce the risk of serious personal injury.
- Battery tools do not have to be plugged into an electrical outlet; therefore, they are always in operating condition. Be aware of possible hazards when not using your battery tool or when changing accessories. Following this rule will reduce the risk of electric shock, fire, or serious personal injury.
- Do not place battery tools or their batteries near fire or heat. This will reduce the risk of explosion and possibly injury.
- Do not crush, drop or damage battery pack. Do not use a battery pack or charger that has been dropped or received a sharp blow. A damaged battery is subject to explosion. Properly dispose of a dropped or damaged battery immediately.
- Batteries can explode in the presence of a source of ignition, such as a pilot light. To reduce the risk of serious personal injury, never use any cordless product in the presence of open flame. An exploded battery can propel debris and chemicals. If exposed, flush with water immediately.
- Do not charge battery tool in a damp or wet location. Following this rule will reduce the risk of electric shock.
- For best results, your battery tool should be charged in a location where the temperature is more than 50°F but less than 100°F. Do not store outside or in vehicles.
- Under extreme usage or temperature conditions, battery leakage may occur. If liquid comes in contact with your skin, wash immediately with soap and water. If liquid gets into your eyes flush them with clean water for at least 10 minutes, then seek immediate medical attention. Following this rule will reduce the risk of serious personal injury.
- Use the tool only for its intended use. Do not discharge fasteners into open air.
- Use only the nails recommended for this tool. Use of the wrong nails could result in poor nail feeding, jammed nails, and nails leaving the tool at erratic angles. If nails are not feeding smoothly and properly, discontinue their use immediately. Jammed and improperly feeding nails could result in serious personal injury.
- Never use this tool in a manner that could cause a nail to be directed toward anything other than the workpiece.
- Do not use the tool as a hammer.
- Always carry the tool by the handle.
- Do not alter or modify this tool from the original design or function without approval from the manufacturer.
- Be aware that misuse and improper handling of this tool can cause injury to yourself and others.
- Never clamp or tape the trigger or workpiece contact in an actuated position.
- Never leave tool unattended if the battery is installed.
- Do not operate this tool if it does not contain a legible warning label.
- Keep the tool and its handle dry, clean and free from oil and grease. Always use a clean cloth when cleaning. Never use brake fluids, gasoline, petroleum-based products, or any strong solvents to clean your tool. Following this rule will reduce the risk of loss of control and deterioration of the enclosure plastic.
OPERATION SAFETY
- Do not use tool if trigger does not actuate properly. Any tool that cannot be controlled with the trigger is dangerous and must be repaired.
- Check operation of the workpiece contact mechanism frequently. Do not use the tool if the workpiece contact mechanism is not working correctly as accidental driving of a nail may result. Do not interfere with the proper operation of the workpiece contact mechanism.
- Always assume that the tool contains nails.
- Do not carry the tool from place to place holding the trigger. Accidental discharge could result.
- Always handle the tool with care:
- Respect the tool as a working implement.
- Never engage in horseplay.
- Never pull the trigger unless nose is directed toward the work.
- Keep others a safe distance from the tool while tool is in operation as accidental actuation may occur, possibly causing injury.
- Choice of triggering method is important Check manual for triggering options.
- Do not hold the tool by the front of the magazine. Do not put hands, head, or other parts of your body near the bottom of the magazine where the nail exits the tool, as serious personal injury could result.
- Do not point the tool toward yourself or anyone whether It contains nails or not.
- Do not actuate the tool unless you Intend to drive a nail Into the workpiece.
- Always ensure that the workpiece contact Is fully positioned above the workpiece. Positioning the workpiece contact only partially above the workpiece could cause the nail to miss the workpiece completely and result in serious personal injury.
- Do not drive nails near edge of material. The workpiece may split causing the nail to ricochet, injuring you or a co-worker. Be aware that the nail may follow the grain of the wood, causing it to protrude unexpectedly from the side of the work material or deflect, possibly causing injury.
- Keep hands and body parts clear of Immediate work area. Hold workpiece with clamps when necessary to keep hands and body out of potential harm. Be sure the workpiece is properly secured before pressing the fastener against the material. The workpiece contact may cause the work material to shift unexpectedly.
- Keep face and body parts away from back of the tool cap when working in restricted areas. Sudden recoil can result in impact to the body, especially when nailing into hard or dense material.
- During normal use the tool will recoil Immediately after driving a fastener. This is a normal function of the tool. Do not attempt to prevent the recoil by holding the nailer against the work. Restriction to the recoil can result in a second fastener being driven from the nailer. Failure to heed this warning can result in serious personal injury.
- Do not drive fasteners on top of other fasteners or with the tool at an overly steep angle as this may cause deflection of fasteners which could cause injury.
LOADING TOOL
- Do not load the tool with fasteners when any one of the operating controls is activated.
- Never place a hand or any part of body in fastener discharge area of tool.
- Never point tool at anyone.
- Do not pull the trigger or depress the workpiece contact as accidental actuation may occur, possibly causing injury.
FEATURES
- 20V Lithium-ion Battery Power
- Brushless Motor Technology
- Adjustable Nailing Power
- Select Fire Button
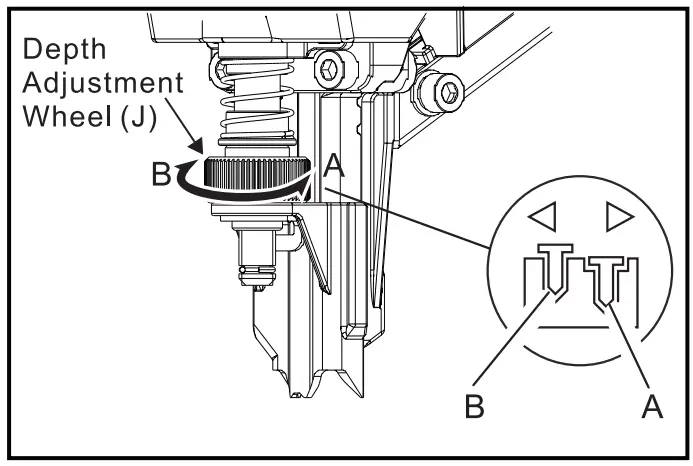
- Adjustable Depth
- Led Light Indicator
- Belt Hook
- Drives Up To 750 Nails / Charge
SPECIFICATIONS
| INPUT VOLTAGE: | DC 20V Max |
| BATTERY TYPE: | Freeman F20 |
| MAGAZINE CAPACITY: | 50 Pcs |
| FASTENER TYPE: | 34° Framing Nails |
| FASTENER RANGE: | 2″ to 3-1/2″ |
| FIRING SPEED: | Up to 90 pcs/min |
OPERATION
WARNING
Do not allow familiarity with products to make you careless. Remember that a careless fraction of a second is sufficient to inflict severe injury.
WARNING
Always remove battery pack from the tool when you are assembling parts, making adjustments, cleaning, or when not in use. Removing battery pack will prevent accidental starting that could cause serious personal injury.
RWMOVE BATTERY PACK
- Press battery release button.
- Pull battery free of the tool body.

ATTACH BELT HOOK
The belt hook can be installed on either side of the nailer depending on operator preference.
- Remove the battery pack or press the Power Button (F) to turn off the tool before installing belt clip or hanging the tool on your belt.
- Align belt clip and screw tightly with side screw hole.
- Tighten securely using a M4 Hex Wrench (Included).

Loading Fasteners
- Insert strip of fasteners from the rear of magazine (A). Be sure the fasteners are pointed downward.
- This tool uses a spring loaded bypass lever in order to load and unload the nails. Once the nails are properly inserted, pull the pusher (B) completely back.
- Once the pusher hits the back of magazine, allow the pusher to slide forward and engage the nails, pushing them to the nose of the tool.
Warning
Keep the tool pointed away from yourself and others when loading nails. Failure to do so could result in possible serious personal injury.
SETTING TOOL FIRING MODE
- Push the mode selection button (G) to select single sequential fire. This mode requires the trigger to be pulled each time a fastener is driven. The tool can be actuated by depressing the work contact element against the work surface after pulling the trigger.
- Push the mode selection button (G) to select bump fire. This will enable you to fire a shot by holding down the trigger and pressing the nose of the gun down on the work piece as many times as is necessary.

LED WORK-LIGHT
The LED Work-light provides feedback to indicate whether the battery pack is charged sufficiently and/or if the tool is functioning properly.
- If work-light is flashing, install fully charged battery. If light continues to flash, see Troubleshooting section for more information.
- If the LED light goes out on your nailer, the unit has timed out for your protection. Lift tool from the workpiece and release trigger to reactivate the nailer before beginning next drive cycle.
DRIVING NAILS AT AN ANGLE
When driving nails at an angle, make sure that the tool is pointed away from yourself and others, and is positioned correctly. Driving at an angle that is too steep may:
- Cause the nail to miss the workpiece
- Cause the nail to ricochet
- Cause the workpiece to splinter, causing the nail to come back towards the operator.

CLEARING JAMS
Occasionally, a fastener may become jammed in the firing mechanism of the tool, making the tool inoperable. To remove a jammed fastener, follow the steps below:
- Remove battery pack.
- Remove fastener strip from magazine.
- Use pliers or a screwdriver to clear the jammed fastener. In the event of a severe jam the magazine may require magazine unit removal to clear the jams.
- Using the included wrench to loosen the C,D,E three screws, C and D screw are in the front of the nose. E screw is at the back of the magazine.
- Removing the magazine, this should expose the jammed fastener and allow for easy clearing.
- Remove the bent nail, using needle-nose pliers if necessary.
- Reverse steps to replace the magazine.



WARNING: Remove your finger from the trigger when not driving nails. Always carry the tool by the handle only.
WARNING: The tool must be allowed to recoil away from the work piece. Do not drive a nail on top of another nail.
WARNING: During normal use the tool will recoil immediately after driving a fastener. This is a normal function of the tool. Do not attempt to prevent the recoil by holding the nailer against the work. Restriction to the recoil can result in a second fastener being driven from the nailer. Failure to heed this warning can result in serious personal injury.
WARNING: Always know the operational mode of the tool before using. Failure to know the operational mode could result in death or serious personal injury.
BATTERIES/BATTERY RECYCLING
These batteries will wear out over time, like all batteries. If this happens, do not disassemble the battery and attempt to fix it. This could cause serious burns, especially when wearing rings and jewelry. To have the longest possible battery life, we suggest the following.
- Once a battery pack has been fully charged remove it from the charger.
- The battery should be stored in a tempera-ture that is below 80°F and away from moisture.
- Batteries should be stored with a 30%-50%charge.
- If a battery has been stored for six months or more charge the battery as normal.
Please recycle all worn batteries. This battery contains lithium-ion batteries. Local and state regulations may prohibit disposal of lithium-ion batteries in ordinary trash. Consult your local waste authority for information regarding available recycling and/or options.
MAINTENANCE
CLEANING THE NAIL CHANNEL
Problems with driving nails or cycling of nails while firing may be due to glue residue from the nail strips. If this is the case clean the area around the driving mechanism.
- Remove the tool battery.
- Slide magazine cover down to remove nails and expose the nail channel.
- Use a small amount of air tool oil on a clean cloth to swab and wipe down the nail channel, until all traces of glue are removed.
- Reinstall nails in the magazine and close the magazine cover.
COLD WEATHER OPERATION
When you are operating the tool in below freezing environments:
- Before using the tool be sure to keep it as warm as possible
- Fire the tool into a scrap piece of material 5 to 6 times.
| PROBLEM | POSSIBLE CAUSES | SOLUTION |
| Tool will not start |
|
|
| Low power when shooting |
|
|
| Tool jams frequently |
|
|
| Overheating |
|
|
|
|
|
LED LIGHT FUNCTIONS
| LED LIGHT SCENARIO | TOOL STATUS | ACTION REQUIRED |
| Solid Green Light (No Rashes) |
|
|
| Flashing Red Light |
|
|
| No Light |
|
|
WARRANTIES
PGP INC. PRODUCT WARRANTIES
Professional 1-Year Limited Warranty The Freeman tool limited warranty extends exclusively to the original purchaser of the Freeman product, begins on the date of purchase. During the warranty period Prime Global Products, Inc. (PGP) expressly warrants that the Freeman product is free from defect in materials and workman-ship subject to the exceptions and limitations contained herein. PGP shall at its option, repair, replace, or offer a full refund for a Freeman product that has a defect in materials or workmanship. A DATED SALES RECEIPT OR PROOF OF PURCHASE FROM THE ORIGINAL RETAIL PURCHAS-ER IS REQUIRED TO MAKE A WARRANTY CLAIM. Warranty registration is also required and can be accomplished through On-Line Product Registration at www.freemantools.com, select PRODUCT REGISTRATION. To make a warranty claim, the original purchaser must return the Freeman tool, postage prepaid and insured, with proof of purchase to PGP or any of its authorized service centers. For questions please call 1-888-669-5672. Other than the postage and insurance requirement, no charge will be made for repairs covered by this warranty.
Warranty Exclusions
These Warranties do not apply where:
- Repairs or alterations have been made, or attempted, by others, and/or the unauthorized use of non-conforming parts or accessories.
- Repairs are required due to normal wear and tear.
- The Tool has been abused, misused, improperly maintained or operated, including: the failure to use clean, dry, regulated compressed air at the recommended pressure; accidents caused by use of the Freeman product after partial failure.
- The Freeman product is used commercially in assembly lines or production lines. The Freeman product is intended for use by individuals and these warranties do not extend to such commercial uses.




















