FN81T1 Full Round Head Framing Nailer
Instruction Manual
Warnings for the safe use of this tool are included in this manual.![]()
Employer’s responsibilities
Keep this manual available for use by all people assigned to the use of this tool.
Employers must enforce compliance with the safety warnings and all other instructions which accompany this tool as shipped from the manufacturer.
Tool actuation system must be appropriate taking into consideration the work application.
The operator must be trained in the safe use of the tool described in the operating safety manual.
Only persons who have read and understand the tool operating safety instructions shall operate the tool.
SAFETY WARNING
WARNING
Read and understand tool labels and manuals. Failure to follow warnings will result in DEATH or SERIOUS INJURY. Save These Instructions.
Personal Protective Equipment
Use safety equipment. Always wear ANSI Z87+ safety glasses with permanently attached side shields. Dust masks, non-skid safety shoes, hard hats, or hearing protection must be used for appropriate conditions. Failure to do so could result in personal injury. Eye protection equipment must be worn by the operator and other people in the work area. The employer is responsible to enforce the use of personal protective equipment by the tool operator and all other personnel in the work area.
Eye protection shall conform to the requirements of ANSI Z87+ and shall provide protection against flying particles both from front and side.
Hearing protection shall have a Noise Reduction Rating determined in accordance with US Environmental Protection Agency Rules that is appropriate for the noise exposure.
Head protection shall conform to ANSI Z89.1.
Explosion Hazard
Never use tools in an explosive atmosphere or in the presence of combustible materials such as flammable liquids, gases or dust.
Hazardous
Never use oxygen, carbon dioxide, or any other bottled gas as a power source for this tool; the tool will explode and cause serious injury.
Hazardous power sources shall not be used. An explosion may occur.
Hazardous power sources include, but are not limited to:
- Reactive gases include, but are not limited to oxygen and combustible gases.
- Pressure sources that can deliver in excess of 1.5 times the maximum air pressure of a tool or 200 psig (13.8 bar), whichever is greater, if a regulator fails.
Triggering systems
Always select an actuation system that is appropriate for the fastener application and training of the tool operator.
Contact Senco at www.senco.com for information on actuation system options.
Tools are manufactured with a variety of triggering systems based on tool application, fastener size, and operator preference. Please read the operating instructions so that you are familiar with the operation of each type of triggering system.
- A sequential actuation mechanism is preferred when exact fastener placement is desired or the employer/operator prefers that the tool be reset for each fastener drive. The operating controls must be activated in a specific sequence to activate the tool. If the tool has a trigger and workpiece contact, the workpiece contact must be activated before the trigger for the tool to operate. This type of trigger is easily identified in your Senco tool by a GREY trigger.
- A contact actuation mechanism is an option when rapid fastener placement is desired. This actuation system can be activated in any sequence. Additional activations can occur when any operating control is released and re-activated. This type trigger is easily identified in your Senco tool by a BLACK trigger.
- Some tools have a selectable trigger option built into the triggering mechanism. These tools can be switched between sequential operation and contact actuation by moving a button, lever or switch. See the operator manual to determine if this selectable trigger is provided in your fastener driving tool. This type of trigger is easily identified in your Senco tool by a RED trigger or BLACK trigger with a RED switch.
- Light-duty tools may have only a finger trigger and do not require a work contact element. These tools are used in specialty applications and are typically used in industrial applications.
- Light-duty tools may have a dual action trigger. The two-stage trigger must be actuated in a sequence in order to drive a fastener. This type tool does not require a work contact element and is used for specialty applications.
- Some special application tools utilize a retracted workpiece contact mechanism. These tools are used for attaching straps to plates through pre-punched holes.
*Trigger color designation does not apply to the metal connectors.
It is recommended that operators that are less experienced in using pneumatic fastener driving tools choose a sequential mechanism until they become familiar with the tool and its operation.
Please call Senco Customer Service to obtain an alternate trigger type in those tools that can be user modified to fit the application and/or level of operator experience.
Personal safety
Always remove your finger from the trigger when not driving fasteners. Never carry the tool with your finger on or under the trigger. The tool will eject a fastener if the safety element is bumped.
Do not actuate the tool unless the tool is placed firmly against the work surface.
Before operating, inspect the tool to confirm the:
- Use of proper power source.
- That tool is in proper working condition.
- The actuation system is on the tool and how it operates.
- No misalignment or binding of moving parts.
- All conditions are necessary for proper and safe tool operation.
Always assume the tool contains fasteners.
- No horseplay.
- Respect the tool as a working implement.
- Keep the tool pointed away from yourself and others when connecting air to the tool.
Do not use tools while tired or under the influence of drugs, alcohol, or medication. A moment of inattention while operating power tools may result in serious personal injury.
Do not overreach. Keep proper footing and balance at all times.
Always place yourself in a firmly balanced position.
Stay alert, focus on your work and use common sense when using tools.
Keep bystanders and children away while operating tools.
Store idle tools out of the reach of minors or other untrained persons.
Drive fasteners into the work surface only; never into materials too hard to penetrate.
Do not force tools. Let the tool do the work.
Use the correct tool for the application. The correct tool will do the job better and safer.
Tools shall be operated at the lowest pressure needed for the application. This will reduce noise levels, part wear, and energy use.
Do not drive fasteners on top of other fasteners or with the tool at too steep of an angle; the fasteners can ricochet and may cause injury.
When using the tool, care should be taken due to the possibility of tool recoil after a fastener is driven.
If the safety element is unintentionally allowed to re-contact the work surface following a recoil, an unwanted fastener will be driven. Therefore, allow the tool to recoil completely off the work surface after a fastener is driven to avoid this condition.
Do not push the safety element on a work surface until a second fastener is desired.
Do not drive fasteners close to the edge of the work surface. Keep face and body parts away from tools and work surfaces. The workpiece is likely to split and the fastener could fly free or ricochet and may cause injury.
The tool may eject a fastener when connected to the air supply; therefore,
- remove all fasteners from the tool
- before connecting air.
Do not load fasteners with trigger or workpiece contact element depressed.
Keep hands and body away from the fastener discharge area of the tool near workpiece contact.
![]()
- Read and understand tool labels and manuals. Failure to follow warnings will result in DEATH or SERIOUS INJURY. (2) Operators and others in the work area MUST wear safety glasses with side shields. (3) Keep fingers AWAY from the trigger when not driving fasteners to avoid accidental firing. (4) See manual for triggering instructions. (5) NEVER point tools at yourself or others in the work area. (6) NEVER use oxygen or other bottled gases. An explosion may occur. (7) MAX AIR PRESS. 120 PSI (8.3 BAR)
Operating controls
Do not use the tool without a danger label on the tool. If the label is missing, damaged, or unreadable, contact your SENCO representative to obtain a new label.
Never use tools if the safety elements, trigger, or springs have become inoperable, missing, or damaged. Do not tamper with or remove safety elements, triggers or springs.
Disconnect the tool from the air before doing tool maintenance, clearing a jammed fastener, leaving the work area, moving the tool to another location, or handing the tool to another person, when not in use or outside of the operator’s supervision.
Tools shall not be modified unless authorized in the tool manual or approved in writing by the manufacturer.
Use only parts, fasteners, and accessories recommended or sold by SENCO. Do not modify tool without authorization from SENCO.
Proper Power source
Use only clean, dry, regulated compressed air at the recommended pressure.
Do not operate the tool with any alternate power source.
Do not connect tools to air pressure that potentially exceeds 200 psig or 13.7 bar.
Regulators shall be used to limit compressed air pressure supplied to the tool.
Regulators shall be set at an operating pressure that is lower than or equal to the manufacturer’s specified maximum.
Air hose must have a minimum working pressure rating of 150 PSIG (10.3 bar) or 150% of the maximum pressure produced in the system, whichever is higher.
The tool and air supply hose must have a hose coupling such that all pressure is removed from the tool when the coupling joint is disconnected.
Use extra caution when driving fasteners into existing walls or other blind areas to prevent contact with hidden objects or persons on another side (e.g. wires, pipes, etc.).
Never use a tool that leaks air or needs repair.
Never lift, pull or lower the tool by the hose.
Keep the tool pointed away from yourself and others while connecting air to the tool.
Never use any part of the tool (cap or main body) as a hammer. The tool could activate or become unsafe.
Read and understand all safety instructions.
![]()
Product safety messages
- Read and Understand tool labels and manual. Failure to follow warnings will result in DEATH or SERIOUS INJURY.
- Operators and othethe rs in work area MUST wear safety glasses with side shields.
- Keep fingers AWAYthe from trigger when not driving fasteners to avoid accidental discharge.
- Know and understand what trigger system you are using. the Check manual for triggering options.
- NEVER point tool at yourself or othethe rs in work area.
- NEVER use oxygen or other bottled gases. Explosion may occur.

maintenance
Always refer to both tool maintenance instructions below and the troubleshooting guide in this manual to assure years of reliable service.
Make sure all screws and caps are securely tightened at all times. Make daily inspections for free movement of triggers and safety elements. Never use the tool if parts are missing or damaged.
When the tool is disconnected from the air, make a daily inspection to assure free movement of safety elements and triggers. Do not use tools if safety elements or trigger sticks or binds.
Squirt Senco pneumatic oil (5 to 10 drops) into the air inlet twice daily (depending on the frequency of tool use). Other oils may damage O-rings and other tool parts.
Wipe the tool clean daily and inspect for wear. Use non-flammable cleaning solutions only if necessary. DO NOT SOAK.
WARNING
Repairs other than those described here should be performed only by trained, qualified personnel. Contact SENCO for information at 1-800-543-4596.
The employer, tool owner and tool operator:
- are responsible for ensuring that the tools are kept in safe working order.
- are responsible for ensuring that only qualified personnel shall repair the tool.
- are responsible for ensuring that manufacturers tool maintenance instructions are available to personnel performing maintenance.
- shall ensure that tools that require repair are removed from service and that tags and physical segregation are used as a means of control.
Tool conditions that require the tool to be taken out of service:
- Excessive leaks from the pressure vessel.
- Inoperable workpiece contact (safety element).
- Workpiece contact (safety element) that appears to bind during use.
- Missing guards.
- Missing safety labels.
- Delayed firing due to worn or damaged parts.
Functional Operation (FN81T1)

Functional Operation (FN91T1)

Tool use
Tool use read the section titled “safety Warnings” before using the tool.
TO LOAD: (FULL ROUND HEAD)
- Insert a strip of nails into the rear of magazine
- Pull the feeder shoe back.

TO LOAD: (Full Round Head)
Dual-mode loading (Two methods to load)
Nails First
➀ Insert a strip of nails into the rear of the magazine.
➁ Pull the feeder shoe back beyond the end of the strip of nails and release.
OR
Feeder shoe First
- Insert a strip of nails into the rear of the magazine.
- Pull the feeder shoe all the way back until the latch at the rear of the magazine locks.
- Push down on the silver latch at the rear of the magazine to release the feeder shoe.

UNLOADING THE TOOL
Push the Tab on the feeder shoe to release the feeder from the strip. Pull the fastener strip out past the sheet metal nail detainer.
Do not load with workpiece contact (safety element) or trigger depression.
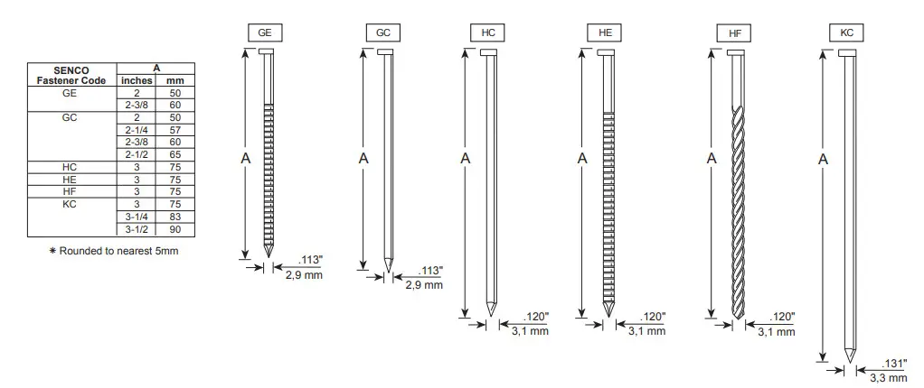
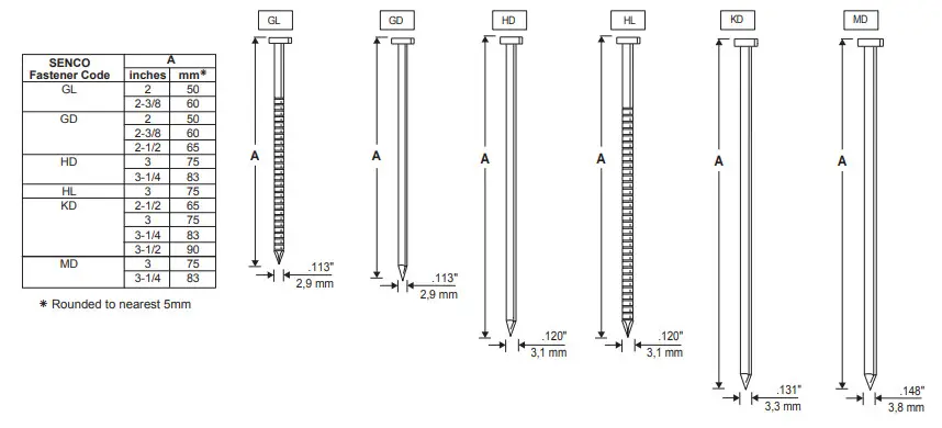
Use only genuine SENCO fasteners (see Fastener Specifications).
Actuation system:
With a contact-actuation (“Dual-action”) trigger, fasteners can be driven in two ways:

The First Way:
- Press the workpiece contact (safety element) against the work surface.
- Pull the trigger and the fastener is driven.

The Second Way:
- Pull and hold the trigger.
- Depress the workpiece contact element against the work surface and drive a fastener. Each time you push the workpiece contact (safety element) against the work surface, a fastener is driven.
This mode of operation is preferred when you desire high production and rapid fastener placement.

With a sequential actuation (restrictive) trigger, fasteners can only be driven one way:
- Press the workpiece contact (safety element) against the work surface.
- Pull the trigger.
This mode of operation is helpful when you require precise fastener placement.
Read the “customer satisfaction and safety reminder” (CSR) in the tool and fastener boxes for safety information regarding contact actuation and sequential trigger modes. under certain conditions, the sequential trigger mode may reduce the possibility of injury to you or to others working with you.
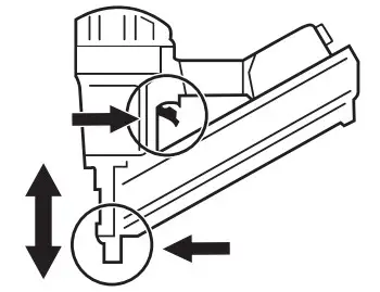
clearing Jams:
Should a fastener jam occur, disconnect the air supply.

- Release the feeder shoe and slide it forward.
- Remove fasteners from the tool.

- Loosen screws using a hex wrench at the rear of the tool by hand. Pull the magazine back.
Clear jammed fastener from guide body.
Slide the magazine back into position and attach screws.
Connect air supply and replace fasteners.
Pull the feeder shoe back.
Features

To adjust the depth the fastener is driven:
First, disconnect the air supply.
Using your thumb or index finger, rotate the wheel to adjust the Depth Control workpiece contact (safety element) to achieve the desired depth.
The tool can be converted for non-toenail (flat surface) applications by adding the no-mar pad.
Use no-mar pad to prevent damage to work surface.

The deflector can be rotated to 3 positions to change the direction of the exhaust air.
Disconnect the air supply, loosen the cap screw with a hex wrench, and then rotate the deflector in the desired direction.
Prior to tool use, ensure the deflector cap screw is tightened.
This tool is equipped with a lockout feature:
When approximately five nails remain in the magazine, the workpiece contact (safety element) will be locked in the undepressed position until more nails are loaded into the magazine.
Troubleshooting

| Problem/Symptom Potential Cause | Corrective Action | ||
| ① | Air leak near the top of tool / Sluggish operation | Firing valve seal | Verify air supply / Tighten screws or install Parts Kit YK0893 |
| ② | Air leak near the bottom of tool / Poor return | Piston stop/Piston seal | Check for piston seal or sleeve wear If parts are worn or damaged, parts are detailed in the parts chart Clean tool / Tighten screws or install Parts Kit YK0894 |
| Tool skipping | Low air pressure | Check air supply | |
| Consider using larger diameter air fitting and hose | |||
| Nail set above the work surface | Low air pressure | Increase air pressure (No greater than 120 psi) | |
| Application too rigorous | Consider the alternate types of wood | ||
| Rate of driving too fast | Reduce drive rate | ||
| Incorrect depth of drive | Adjust setting | ||
| Other problems | Contact SENCO | ||
Accessories
SENCO offers a full line of accessories for your SENCO tools, including:
- Air Compressors
- Hose
- Couplers
- Fittings
- Safety Glasses
- Pressure Gauges
- Lubricants
- Regulators
- Filters
- No-Mar Pads
Options

SEQUENTIAL TRIGGER—This feature is helpful when precise fastener placement is required.
Identified by extra spring at hinge pin and internal lever.
The trigger will be grey.

CONTACT ACTUATION TRIGGER—This feature is used for rapid fastener placement.
Read the safety warning on page 4 for additional recommendations.
The trigger will be black.
Technical specifications
| FN81T1 | FN91T1 | |
| Technical Specifications | ||
| Minimum to maximum operating pressure | 70 – 120 psig | 70 – 120 psig |
| Air Consumption | 0.112 scfm/drive | 0.111 scfm/drive |
| Air Inlet | 3/8″ NPT | 3/8″ NPT |
| Nail Angle | 20 Degree | 34 Degree |
| Weight | 8.8 lbs. (4.0 kg) | 8.5 lbs. (3.8 kg) |
| Fastener Capacity | 63 | 80 |
| Tool size: Height | 14.6″ (371mm) | 14.4″ (366mm) |
| Tool size: Length | 20.7″ (526mm) | 17.3″ (439mm) |
| Tool size: Width: Main Body | 4.8″ (122mm) | 4.8″ (122mm) |
Fastener specifications
34 Degree

20 Degree

Limited Warranty
SENCO® Pneumatic, DuraSpin®, Cordless Tools
& Compressors
KYOCERA-SENCO Industrial Tools, Inc. (“SENCO”) designs and constructs its products using the highest standards of material and workmanship.
SENCO warrants to the original retail purchaser that the following products will be free from defects in material or workmanship for the warranty period specification below:
| Products | New | Reconditioned |
| Pneumatic Tools Ü | Five Years | One Year |
| Fusion Tools | Two Years | Six Months |
| Gas Tools | Two Years | Six Months |
| Duraspin Tools | Five Years | 90 Days |
| Air Compressors | One Year | 90 Days |
| Combo Kit Tools | One Year | 90 Days |
| Multi-Blow Hand Nailers | One Year | 90 Days |
| Stapling Hammers | One Year | 90 Days |
* = Both XP and Pro Series
During the warranty period (which begins on the purchase date), SENCO will repair or replace, at SENCO’s option and expense, any product or part that is defective in materials or workmanship after examination by a SENCO Authorized Warranty Service Centre, subject to the exceptions, exclusions, and limitations described below. Any replacement product or part will carry a warranty for the balance of the warranty period applicable to the replaced product or part. A DATED SALES RECEIPT OR PROOF OF PURCHASE FROM THE ORIGINAL RETAIL PURCHASER IS REQUIRED TO MAKE A WARRANTY CLAIM. Warranty registration is also required and can be accomplished through online Product Registration at www.senco.com or by completing and returning the postage-paid warranty registration form included with your operator’s manual/parts chart information, found inside the product carton. To make a warranty claim, you must return the product, with proper receipt/proof of purchase and return transportation charges prepaid, to a SENCO Authorized Warranty Service Centre. A list of SENCO Authorized Warranty Service Centres can be found at www.senco.com or by calling 1-800-543-4596 toll-free. SENCO will perform its obligations under this warranty within a reasonable time after approval of the warranty claim.
- Subject to the exceptions, exclusions, and limitations described below, SENCO warrants that the SENCO Cordless tool will be free from defects in materials and workmanship for two years after the purchase date.
- SENCO warrants that the batteries and chargers used with SENCO Cordless tools will be free from defects in material and workmanship for one year after the purchase date.
Warranty Exclusions
The following warranty exclusions apply:
- Normal wear parts are not covered under this warranty. Normal wear parts include, for example, isolators, drive belts, air filters, rubber o-rings, seals, driver blades, piston stops, and piston/driver assembly.
- This warranty does not cover parts damaged due to normal wear, misapplication, misuse, accidents, operation beyond the recommended speeds or voltage (electric units only), improper storage, or damage resulting from shipping.
- Products used in production/industrial applications as defined by SENCO are excluded from this warranty.
- Labor charges or loss or damage resulting from improper operation, maintenance, or repairs are not covered by this warranty.
General Warranty Conditions
This warranty will be honored only if:
A. Clean, dry, regulated compressed air has been used, at air pressure not exceeding the maximum indicated on the tool casting;
B. No evidence of abuse, abnormal conditions, accident, neglect, misuse or improper modifications or storage of the product; and
C. No deviation from operating instructions, specifications and maintenance schedules exists (read Operator Manual for use, specifications, and maintenance instructions).
THIS WARRANTY IS THE ONLY WARRANTY ON THE PRODUCT, AND SENCO DISCLAIMS ALL OTHER WARRANTIES. ANY IMPLIED WARRANTIES WILL BE LIMITED IN DURATION TO THE APPLICABLE WARRANTY PERIOD SPECIFIED ABOVE. SOME STATES DO NOT ALLOW LIMITATIONS ON HOW LONG AN IMPLIED WARRANTY LASTS, SO THE ABOVE LIMITATION MAY NOT APPLY TO YOU. YOUR REMEDIES ARE SOLELY AND EXCLUSIVELY AS STATED ABOVE. SENCO SHALL IN NO EVENT BE LIABLE FOR INCIDENTAL, CONSEQUENTIAL, INDIRECT, OR SPECIAL DAMAGES. SOME STATES DO NOT ALLOW THE EXCLUSION OR LIMITATION OF INCIDENTAL OR CONSEQUENTIAL DAMAGES, SO THE ABOVE LIMITATION OR EXCLUSION MAY NOT APPLY TO YOU. IN NO EVENT, WHETHER AS A RESULT OF A BREACH OF CONTRACT, WARRANTY, TORT (INCLUDING NEGLIGENCE), OR OTHERWISE, SHALL SENCO’S LIABILITY EXCEED THE PRICE OF THE PRODUCT WHICH HAS GIVEN RISE TO THE CLAIM OR LIABILITY. ANY LIABILITY CONNECTED WITH THE USE OF THIS PRODUCT SHALL TERMINATE UPON THE EXPIRATION OF THE WARRANTY PERIOD SPECIFIED ABOVE. NO EMPLOYEE OR REPRESENTATIVE OF SENCO OR ANY DISTRIBUTOR OR THE DEALER IS AUTHORIZED TO MAKE ANY CHANGE OR MODIFICATION TO THIS WARRANTY.
Replacement of Tool Due to Natural Disaster
SENCO will replace any tool destroyed by an Act of God such as flood, earthquake, hurricane or other disaster resulting only from the forces of nature. Such a claim will be honored provided that the original retail purchaser had previously submitted a completed warranty registration card for the tool, and then submits proof of ownership and an acceptable statement describing such Act of God documented by an insurance carrier, police department, or another official governmental source. To obtain instructions for filing a claim call 1-800-543-4596.
Customer Satisfaction
If for any reason the product does not perform to the original purchaser’s satisfaction, it can be returned to the place of purchase within thirty days with a dated sales receipt for a full refund of the purchase price (applies to new product sales only).
© 2019 KYOCERA-SENCO Industrial Tools, Inc.
CINCINNATI, OHIO 45244-1611 USA
www.senco.com
160101
KYOCERA-SENCO Industrial Tools, Inc.
8450 Broadwell Road
Cincinnati, Ohio 45244
www.senco.com

Clear jammed fastener from guide body.

















