
The Iridium GO! execTM Premium Dual Mode Antenna Kit is a product designed to enhance the connectivity of the Iridium GO! exec device. This kit includes an Iridium Dual Mode Passive Omnidirectional Antenna, a Mast/Rail Mount, a 5m/17ft Passive SAT Antenna Cable, a 5.25m/17.22ft GNSS Antenna Cable, and an Iridium GO! exec Cable Adapter.
Product Usage Instructions
Prior to installing or using the Iridium GO! execTM Premium Dual Mode Antenna Kit, it is important to read and understand the Installation Guide and the Iridium GO! exec User Manual, including the safety warnings and information. Failure to do so could result in serious injury or death.
Kit Contents
The Iridium GO! execTM Premium Dual Mode Antenna Kit includes:
- 1 x Iridium Dual Mode Passive Omnidirectional Antenna Kit
- 1 x Mast/Rail Mount
- 1 x 5m/17ft Passive SAT Antenna Cable
- 1 x 5.25m/17.22ft GNSS Antenna Cable
- 1 x Iridium GO! exec Cable Adapter
Items included in the kit: 
- 1 x Iridium Dual Mode Passive Omnidirectional Antenna Kit

- 1 x 5m/16.404ft Passive Antenna Cable

- 1 x GNSS Cable for Active GNSS Antenna 5.25m/17.22ft

- 1 x Iridium GO! exec Cable Adapter 0.15m/5.90 inches

- 1 x Stainless Steel Mast/Rail Mount Bracket Kit

- 1 x Iridium GO! exec Mounting Bracket

- 1 x 1in. ball, square base and 4 x Stainless steel metal screws for fixed mount

- 10 x Cable Ties

- 1 x User Installation Guide
Antenna and Cable Installation
To install the antenna and cables for the Iridium GO! execTM Premium Dual Mode Antenna Kit, follow these steps:
- Identify a suitable location for the antenna and mount it using the Mast/Rail Mount. Ensure that the antenna is positioned in a clear view of the sky.
- Connect the Passive SAT Antenna Cable to the Iridium Dual Mode Passive Omnidirectional Antenna and route it to the Iridium GO! exec device.
- Connect the GNSS Antenna Cable to the Iridium Dual Mode Passive Omnidirectional Antenna and route it to the Iridium GO! exec device.
- Connect the Iridium GO! exec Cable Adapter to the Iridium GO! exec device and connect the other end of the Passive SAT Antenna Cable and GNSS Antenna Cable to the adapter.
Note: It is recommended that prior to installation, you pre-test the complete setup. This can be done on a bench or on the deck of the boat. Connect all components to test if everything works fine. Doing so will familiarize the user how the parts go together and guarantees it works fine prior to installation. Make sure the external antenna is located outside and the Iridium GO! exec receives good signal reception for at least 5 minutes during this test before you proceed with the installation. Maintain a separation of at least 20 cm (7.8 inches) from antenna during test.
WARNING
Persons with Pacemakers:
- Should ALWAYS keep Iridium GO! exec and the antenna more than eight inches or twenty centimeters from their pacemaker when the device is turned ON.
- Should turn Iridium GO! exec OFF immediately if there is any reason to suspect that interference is taking place.
- Failure to heed this warning could result in serious injury or death.
- The Iridium GO! exec device utilizes a negative ground system. When using a DC power source, such as a car or boat, the power system must be a negative ground system. Do not use the device with positive ground systems. Failure to properly ground the GO! exec could cause fire or could cause the device to fail so that it is unavailable in an emergency situation, preventing or delaying an emergency response. These hazards could cause serious injury or death.
- Use the Iridium GO! exec device ONLY with Iridium supplied power accessories. Use of non-Iridium supplied power accessories could result in exposing the device to excessive voltage, which could cause fire or could cause the device to fail so that it is unavailable in an emergency situation, preventing or delaying an emergency response. These hazards could cause serious injury or death.
- Step 1)
Find a dry location for Iridium GO! exec inside the vessel. Ensure that it is installed near a power source. See the Iridium GO! exec Mounting Bracket Installation on how to secure the Iridium GO! exec device in the vessel. (Section 3 and 4) - Step 2)
Carefully consider the cable path to allow the cable length for the exterior antenna to reach the Iridium GO! exec device. - Step 3)
Bracket mounting: Install the Mast/Rail mounting bracket within the 5 meter/16 feet proximity to a pole or rail.
Vertical installation
Horizontal installation - Step 4)
Once the antenna mount bracket is securely in place:
- Feed one end of the passive antenna cable through the base of the bracket (A and B) then, feed the cable through the Antenna base plate (C).
- Screw the antenna base to the bracket (D).

Antenna mounting: the antenna must not be mounted at a location such that during radio transmission, any person or persons can come closer than the indicated minimum safe distance to the antenna: 20 cm (7.8 inches). See Iridium GO! exec User Manual for a discussion of exposure to radio frequency (RF) energy.
Note: U-Bolts can fit pole and rail with diameter 30-60mm.
- Step 5)
Once the satellite cable is in place
- Feed the TS9 end of the GNSS antenna cable through the bracket tube from the top (A), and all the way to SMA end.
- Make the single flexi-loop on the GNSS cable as shown in (B) to avoid kinking the GNSS cable when it is connected to the antenna.
Step 6)
- Connect the SAT antenna cable connector (TNC-M) to the antenna connector1 (TNC-F) and hand-tight.
- Connect the GNSS antenna cable connector (SMA-M) to the antenna connector2 (SMA-F) and hand-tight.

- Step 7)
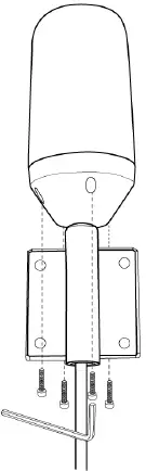
Screw the antenna base to the antenna housing using screws and Allen key provided. Ensure that you attach the black rubber seal(see step 4C above) provided to the antenna base plate.
Note:
- Use of an external antenna will provide connectivity for the Iridium network and GPS reception.
- To ensure maximum performance of the antenna and to maximize availability and reliability of service, the position of the antenna must:
- Have a clear view of the sky
- Be clear and free of obstructions
- Be clear of metal objects
- Be located above and away from other transmitting devices
- Be securely affixed in location
- Not be located indoors
- Be installed in conjunction with a certified included cable.

- Step 8)
To minimize cables waving around, use the cable ties provided to fasten tight along the pole or rail path and at both the antenna end and the Iridium GO! exec end.

Note:
- Do not put stress on the cable. Ensure that the bend radius of the cable doesn’t go below 25mm slack (see 5.3 Passive Antenna Cable Physical Specifications).
- When installing the antenna cables, follow these guidelines:
- Route and restrain cables to prevent them from vibrating or moving under normal conditions which could result in damage to the antenna or the coaxial cable connections.
- Wherever the cables contact structures, protect the cables from chafing or abrasion. If a cable needs to be bent or looped, avoid kinking it, and ensure that each bend radius follows the cable supplier limits.
- Use coaxial sealant, shrink-wrap tubing, electrical tape, or another suitable product to seal all cable connections appropriately to prevent moisture and corrosion damage from weather exposure. Mount all antennas vertically and clear of nearby metal obstructions. Minimize horizontal obstructions as much as possible because this can create areas of poor system coverage.
- Step 9)
To protect the 15cm Iridium GO! exec cable adapter from damage, cable ties shall be used at the Iridium GO! exec end to tighten the satellite cable and the GNSS cable to the double socket arm of the Plastic Mounting Bracket. See illustration to the right. It is important to make sure that the gap between the satellite antenna cable connector and the Iridium GO! exec satellite connector is close enough so that the Iridium GO! exec cable adapter is not stressed at any point when connected to the Iridium GO! exec.
- Step 10)
Connect the TNC end of the cable to Iridium GO! exec cable adapter, and then
- Plug the GNSS antenna cable plug to the Iridium GO! exec GNSS connector.
- Plug the Iridium GO! exec cable adapter plug to the Iridium GO! exec Satellite connector.
The connectors for satellite and GNSS on the device are located behind the cover found directly below the device antenna.
Note:
- When an external antenna is connected, you may still raise the device internal antenna.
If the device’s “Power ON/OFF based on antenna lift” is enabled, this action turns the unit on and allows for transmission over the Iridium network as well as acquiring location information using the connected external antenna, while lowering the device antenna with the external antenna connected will not switch the device off. To switch the device off with the external antenna connected, you need to use the power button on the device or use the device’s Settings menu. Alternatively, with the device powered on and the device antenna in lowered position, unplugging the external antenna will switch the device off. If the device’s Setting “Automatically power on the device on charger connection” is enabled, unplugging the device power supply will also switch off the device, while plugging the device to a power supply will switch the device on. - Please use provided cable ties to secure the antenna cables to the mounting bracket.
WARNING
- Do not leave power and antenna ports uncovered. Open power cover only for as long as recharging is required, and open antenna cover only when actively using the external antenna. Leaving the covers open allows moisture and water vapor to enter the device which in turn could lead to corrosion and damage to the device. This could cause fire or could cause the device to fail so that it is unavailable in an emergency situation, preventing or delaying an emergency response. These hazards could cause serious injury or death.
Permanent Iridium GO! exec Mounting-Bracket Installation
To install the Iridium GO! exec device onto a permanent mounting bracket, follow these steps:
- Identify a suitable location for the mounting bracket and mount it securely.
- Attach the mounting bracket to the Iridium GO! exec device using screws or bolts.
- Connect the Iridium GO! exec Cable Adapter to the Iridium GO! exec device.
- Step 1:
- Choose the preferred location (on a boat) where you want to permanently mount the cradle for holding the Iridium GO! exec.
Please make sure the selected location is within the range of the satellite cable and GNSS cable. - On the horizonal surface or vertical surface at the selected location, drill the 4 pilot holes which align with the four holes on the 1”-ball-square base.
- Align the 1”-ball-square base on top of the 4 pilot holes and fasten with the four screws.
Step 2:- Loosen knob on double socket arm and remove the Suction Cup Twist Lock Base.
- Attach the double socket arm to the 1”-ball-square base in step 1.


- Step 3:
- Orient the Tabdock Mounting-Bracket so that the Iridium GO! exec image is in upright position.
- Align the Tabdock Mounting-Bracket with the 4 hooks on the top of the Double Socket Arm and slide toward direction with “lock” label until it is locked.

- Step 4
- Mount the Device on the Tabdock spring-loaded Mounting-Bracket and make sure the 2 corners of the device are fully locked and secure.
- Adjust position accordingly then tighten knob on double socket arm.
- Connect the Satellite cable and GNSS cable to the antenna connectors, power supply to the USB power connector.
Removable Iridium GO! exec Mounting Bracket Installation
To install the Iridium GO! exec device onto a removable mounting bracket, follow these steps:
- Identify a suitable location for the mounting bracket and mount it securely.
- Attach the mounting bracket to the Iridium GO! exec device using screws or bolts.
- Connect the Iridium GO! exec Cable Adapter to the Iridium GO! exec device.
To keep the Iridium GO! exec device securely in place, install the Mounting Bracket kit provided. 
- Double Socket Arm on Suction Cup Twist Lock Base

- Tabdock spring-loaded Mounting Bracket

- Step 1)
Align the Tabdock Mounting bracket (B) with the 4 hooks on the top of the Double Socket Arm (A) and slide toward direction with “lock” label until it is locked.
- Step 2)
Loosen knob on double socket arm (A) and mount the suction cup of the unit in step 1 on a flat surface (vertical or horizontal) such as on glass surface ( boat windscreen), wall or on table as required. To mount the suction cup, ensure that the lever is in the up position, push the suction cup firmly against the flat surface then push the lever down until it locks.
- Step 3)
Mount the Device on the spring-loaded Mounting-Bracket. Please make sure the 2 corners of the device are fully locked and secure.
- Step 4)
Connect the satellite cable and GNSS cable to the antenna connectors, power supply to the USB power connector. Adjust position accordingly then tighten knob on double socket arm (A). Please make sure the double sockets arm is resting against a surface.
Specifications
The following are the specifications for the Iridium GO! execTM
Premium Dual Mode Antenna Kit:
- Iridium Dual Mode Passive Omnidirectional Antenna
- Mast/Rail Mount
- 5m/17ft Passive SAT Antenna Cable
- 5.25m/17.22ft GNSS Antenna Cable
- Iridium GO! exec Cable Adapter
Iridium Dual Mode Passive Omnidirectional Antenna
Certified dual mode passive Iridium Antenna for use with the Iridium GO! exec
- Requires no pointing towards satellite
- Low loss radome
| Electrical Specifications: | |
| Frequency | 1616 – 1626.5 MHz (SAT) 1561.1 MHz, 1575.42 MHz, 1598.1 – 1605.4 MHz (BeiDou, GPS/Galileo & GLONASS) |
| Impedance | 50 ohms (SAT & GNSS) |
| VSWR | < 2.0 (SAT) |
| Satellite System | Iridium (SAT) BeiDou, GPS, Galileo & GLONASS (GNSS) |
| Polarisation | RHCP (SAT) |
| Axial Ratio | < 3.5 dB (SAT) |
| Gain | 2 dBic (SAT) |
| LNA Gain | 25 dB (GNSS) |
| Noise Figure | 1.2 dB (GNSS) |
| Supply Voltage | 3.0 – 5.5 V DC (GNSS) |
| Average Current Consumption | 20 mA (GNSS) |
| Mechanical Specifications: | |
| Color | White (non-glossy) |
| Height | 150 mm (191.5 mm mounting base included) |
| Diameter | Ø 95 mm |
| Mounting | Supplied Mounting or any US-style Mounting Bracket with 1″-14NF thread. |
| Mounting place | On marine vessel or remote homes |
| Materials | ASA, copper, PCB, stainless steel and brass |
| Operating temperature | -40C to +70C |
| Connector 1 | SAT: TNC-female |
| Connector 2 | GNSS: SMA-female |
| IP rating | IP68 |
| SAT Cable | See 5m/16.404ft passive SAT antenna cable specifications |
| GNSS Cable | See 5.25m/17.224ft GNSS antenna cable specifications |
Mas t/Rail Mount
Stainless Steel Mast/Rail Mounting Bracket
| Mechanical Specifications: | |
| Color | Polished |
| Mounting | On pole or rail with supplied U-bolts |
| Mounting place | On vertical or horizontal pole or rail with diameter Ø 30-60 mm |
| Materials | Polished high grade AISI-316 stainless steel |
| For Antenna Types | Supplied Iridium Marine antenna |
| Dimensions | 130 x 92.5 x 40 mm |
5m/17ft Passive SAT Antenna Cable
| Electrical Specifications: | |
| Impedance | 50 Ω |
| Capacitance | 78.41 pF/M (23.9 pF/ft) |
| Velocity of Propagation | 84% |
| Voltage Withstand | 2500 VDC |
| Max Operating Frequency | 8 GHz |
| Physical Specifications: | |
| Bending Radius Static | 25.4mm (1”) |
| Bending Radius Repeated | 103mm (4.0”) |
| Weight | 0.10 kg/m or 0.068 lb/ft |
| Connectors | TNC-M (Iridium GO! exec – cable adaptor) |
| Cable diameter | 0.405” or 10.287mm |
| Connector Diameter | See TNC connector specs |
| Environmental Specifications: | |
| Operating Temperature | -40°C to +85°C |
5.25m/17.22ft GNSS Antenna Cable
| Electrical Specifications: | |
| Impedance | 50 Ω |
| Capacitance | 96.45 pF/M (29.399 pF/ft) |
| Velocity of Propagation | 69.5 % |
| Voltage Withstand | 12000 Vrms |
| Max Operating Frequency | 3 GHz |
| Physical Specifications: | |
| Bending Radius Static | 13mm (0.512”) |
| Bending Radius Repeated | 30mm (1.181”) |
| Weight | 17gms/m |
| Connectors | TS9 (Iridium GO! exec GNSS antenna connector SMA (Iridium Antenna – connector2) |
| Cable diameter | 2.52.5mm (0.1”) |
| Connector Diameter | See SMA and TS9 specs |
| Environmental Specifications: | |
| Operating Temperature | -55°C to +85°C |
Iridium GO! exec Cable Adapter
| Electrical Specifications: | |
| Impedance | 50 Ω |
| Capacitance | 96.45 pF/M (29.399 pF/ft) |
| Velocity of Propagation | 69.5 % |
| Voltage Withstand | 12000 Vrms |
| Max Operating Frequency | 3 GHz |
| Physical Specifications: | |
| Bending Radius Static | 13mm (0.512”) |
| Bending Radius Repeated | 30mm (1.181”) |
| Weight | 17gms/m |
| Connectors | Iridium GO! exec antenna connector Iridium SAT Antenna – cable |
| Cable Length | 15cm / 5.905’’ |
| Cable diameter | 2.52.5mm (0.1”) |
| Connector Diameter | See connector specs |
| Environmental Specifications: | |
| Operating Temperature | -55°C to +85°C |
Prior to installing or using Iridium GO! exec, read and understand this Installation Guide, and the Iridium GO! exec User Manual including the safety warnings and information. Failure to do so could result in serious injury or death.
Legal Notices
This Installation Guide provides installation information for the Iridium GO! exec Premium Dual Mode Antenna Kit. Iridium expects there may be additions and or modifications to this document as product development continues, or as new features are developed, so Iridium reserves the right to revise this Installation Guide or withdraw it at any time without prior notice. You can find the current version of this Installation Guide for the Iridium GO! exec at www.iridium.com.
Your Iridium GO! exec Premium Dual Mode Antenna Kit contains Iridium® Accessories subject to the 1-year Limited Warranty including Exclusions, Disclaimers, Limitations of Liability and Conditions of Use that is in the Legal Information Booklet that came with your Iridium GO! exec, and that is also available online at www.Iridium.com. Installation of the Iridium GO! exec Premium Dual Mode Antenna Kit does nothing to change or extend the original Limited Warranty on your Iridium GO! exec device itself. You are permitted to use Iridium GO! exec Premium Dual Mode Antenna Kit only as described and specified in this Installation Guide, the Iridium GO! exec User Manual, and the Limited Warranty. By using the Iridium GO! exec Premium Dual Mode Antenna Kit, you are indicating that you agree to comply with the terms set forth in this Installation Guide as well as the User Manual, including without limitation the Limited Warranty, including the section describing permitted use of Iridium GO! exec (the “Conditions of Use”). If you fail to comply with the Limited Warranty and the Conditions of Use, Iridium may void certain protections offered under the Limited Warranty, and Iridium reserves the right to terminate your right to use the Iridium GO! exec on the Iridium system. If you do not accept the terms of the Limited Warranty and Conditions of Use, do not use the Iridium GO! exec Premium Dual Mode Antenna Kit. If you do not have the Iridium GO! exec User Manual, it can be found at www.iridium.com or call 1-866-947-4348 (or +1-480-752-5155 for outside U.S.) and request that a User Manual be sent to you.
Third Party Information
This Installation Guide might refer to third party sources of information, hardware or software, products or services and/or third-party web sites (“third party information”). Iridium does not control, and is not responsible for, any third-party information, including without limitation the content, accuracy, copyright compliance, compatibility, performance, trustworthiness, legality, decency, links, or any other aspect of third party information. The inclusion of such third-party information does not imply endorsement by Iridium of the third-party information. ANY THIRD PARTY INFORMATION THAT IS PROVIDED WITH IRIDIUM’S FACILITIES, SERVICES, PRODUCTS OR USER INFORMATION IS PROVIDED “AS IS”. IRIDIUM MAKES NO REPRESENTATIONS, GUARANTEES OR WARRANTIES IN RELATION TO THIRD PARTY INFORMATION AND IRIDIUM SHALL NOT BE LIABLE FOR ANY LOSSES, DAMAGES, LIABILITIES, JUDGMENTS, AND FINES, AMOUNTS PAID IN SETTLEMENT, EXPENSES OR COSTS OF DEFENSE SUSTAINED IN RELATION TO ANY SUCH THIRD PARTY INFORMATION.
Intellectual Property, Trade Secret, Proprietary or Copyrighted Information
To protect Iridium proprietary and confidential information and/or trade secrets, this Installation Guide may describe some aspects of Iridium technology in generalized terms. Iridium products may include copyrighted Iridium and third-party software. Any such copyrighted software contained in Iridium products may not be modified, reverse engineered, distributed or reproduced in any manner to the extent provided by law. The purchase of any Iridium products shall not be deemed to grant either directly or by implication or otherwise, any license under copyrights, patents, or patent applications of Iridium or any third-party software provider, except for the normal, nonexclusive, royalty-free license to use that arises by operation of law in the sale of a product.
Content Copyright
You are exclusively responsible for the use of Iridium GO! exec Premium Dual Mode Antenna Kit, including proper use of third party copyrighted materials. If you violate these terms, you agree to defend, indemnify and hold Iridium harmless with respect to any claims or actions by third parties related to your improper use of copyrighted material and to pay all costs, damages, fines and other amounts incurred by Iridium, or on its behalf, in the defense of any such claims or actions.
For Customer Support, please contact:
Web: www.iridium.com
Email: [email protected]
Toll free: +1.866.947.4348
Phone: +1.480.752.5155
Address: Iridium Satellite LLC 1800 S.Price Road Chandler, AZ 85286, USA
©Copyright 2023 Iridium Satellite LLC and its affiliates. All rights reserved.
Iridium® and the Iridium Logo are registered trademarks and Iridium GO! exec is a trademark of Iridium Satellite LLC and its affiliates (“Iridium”). All other trademarks, service marks and logos are the property of their respective holders, which have not been endorsed, sponsored or otherwise affiliated with Iridium or Iridium GO! exec.
GEIG2302


















