PANORAMA SW3-665 Ultra Wideband MiMo Antenna WMMG Range Installation Guide
Installation Instructions
Selecting a Position
Check that all the contents are in the box – This should include:

- 1 x Antenna 1
- 1 x Desk Stand
- 2 x Wall Bracket Plates
- 1 x U-Bolt
- 1 x U-Bolt Plate
- 4 x Screws
- 4 x Plain Washers
- 4 x Spring Washers
- 2 x Nuts
Select Position

For a good installation the antenna should be directed towards the strongest network signal. In order to achieve this follow the guide below:
- Connect the antenna to your router or modem with the antenna adapter (if applicable) and coaxial cable provided.
- Ensure that your device is connected to the network and displaying the signal strength indicator.
- With the antenna at selected location, rotate it in approximately 45 degree steps in each position, you may need to wait for up to one minute to allow the signal strength indicator to update.
Note: Signal strength indication may be displayed either:
- a. Graphically with bars, (where more bars is a better signal), or
- b. As a signal level value in dBm (e.g. -80) – in this case, the lower the negative number, the better the signal, (i.e. -71 is stronger signal than -83).
Mounting the Antenna
Mounting the antenna internally
To mount the antenna internally use the supplied desk stand and follow the instructions at 5. DESK MOUNTING INSTRUCTIONS
Mounting the antenna externally
Mounting the antenna outside will provide optimum signal strength and data rates. Begin by following the instructions at 1.2 concerning position and orientating the antenna. Then follow 3. MAST MOUNTING INSTRUCTIONS or 4. WALL MOUNTING INSTRUCTIONS depending upon the equipment you have available.
Important Information
RF Safety Note – Ensure that the antenna is mounted in such a way that no person is likely to be within a distance of 30cms (12”) from the antenna during use.
RF Safety Note – Ensure that the antenna is used only as supplied the co-axial cables should not be cut shorter or otherwise modified.
Electrical Caution – Parts of this antenna are an electrical conductor. Contact with power lines can result in death or serious injury. The antenna and supporting mast must not be close to any power lines during installation, use or removal. If the antenna is elevated and at risk from lightning strike it must be ensured that the antenna is mounted and earthed appropriately by a trained professional in accordance with the relevant standards.
Waste electrical products should not be disposed of with household waste. All electronic products with the WEEE logo must be collected and sent to approved operators for safe disposal or recycling. Please recycle where facilities exist. Many electrical/electronic equipment retailers facilitate “Distributor Take Back scheme” for household WEEE. Check with your Local Authority or electronic retailers for designated collection facilities where WEEE can be disposed of for free.
CE Note RoHS 2 compliance is declared per Directive 2011/65/EU and its subsequent amendments with exemption 6.c applied. This product contains lead as an alloying element in a copper alloy containing up to 4% lead by weight. REACH (Registration, Evaluation, Authorization and Restriction of Chemicals, EC 1907/2006). This product contains Lead (CAS No. 7439-92-1) which is classified as an SVHC (Substance of Very High Concern) as being toxic to reproduction under Article 57c. of REACH.
Mast Mounting Instructions
To Mast Mount this antenna you will need:

- 1 x Antenna
- 1 x U-Bolt
- 1 x U-Bolt Plate
- 2 x Washers
- 2 x Spring Washers
- 2 x Nuts
Mast Mounting the antenna externally
Ensure that the selected mounting location can be safely accessed with the equipment that you have available and mount the antenna so that it has at least 1 metre (3.3’) of clearance from all obstructions if possible. The antenna should not be mounted directly on to metal masts or poles. If the antenna must be mounted to such a surface it must be mounted at the lip of the roof or the very top of the pole such that the body of the antenna is elevated clear of the metal surface.

Ensure a safe connection
Secure the antenna in place and waterproof the exposed connections. Fully tighten the mounting hardware. If exposed the RF connector joint should be waterproofed with a weatherproof electrical tape (self amalgamating type is recommended) allowing a significant overlap of each turn and ensuring that the overlap is in the opposite direction to predicted water fall.

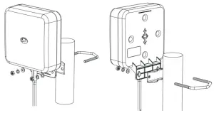
Wall Mounting Instructions
To Wall Mount this antenna you will need:

- 1 x Antenna
- 2 x Wall Bracket Plates
- 4 x Screws
- 4 x Washers
- 4 x Spring Washers
- 2 x Nuts
Fix the mounting bracket to the external wall or other flat surface using suitable screws and wall plugs (not supplied).

Fix the mounting bracket to the antenna using the washers and screws supplied.

Fix the antenna to the wall mounting bracket

Secure the antenna in place and waterproof the exposed connections. Fully tighten the mounting hardware. If exposed the RF connector joint should be waterproofed with a weatherproof electrical tape (self amalgamating type is recommended) allowing a significant overlap of each turn and ensuring that the overlap is in the opposite direction to predicted water fall.
Desk Mounting Instructions
To Desk Mount this antenna you will need:
- 1 x Antenna
- 1 x Desk Mount
Using the Antenna Internally
When using the antenna internally, take care to ensure that the antenna or cables do not cause a trip hazard. The antenna can be fitted to the supplied desk stand for internal use. Optimum performance will be achieved with the antenna facing a window in the direction of best network signal strength.
Mounting and dismounting the antenna to the desk stand
Once you have determined the desired mounting location and orientation you can mount and dismount the antenna to the supplied desk stand following the steps below.
Mounting the Antenna
Hold the antenna cable securely upwards against the back of the antenna. Push the mounting foot of the antenna down into the groove in the base so that the mounting holes sit flush with the pegs in the base as shown. Holding the antenna and base securely push the antenna back into the base until the pegs locate.
Dismounting the Antenna
Grip the base securely from below and the antenna at the top edge. Pull the top of the antenna away from the base stand whilst lightly squeezing the base in order to pivot the foot of the antenna out of the trough in the desk stand as shown. Once the foot of the antenna is unlocked from the desk stand pull the antenna forwards and upwards from the base freeing.
Contact Information
Panorama Antennas Ltd
Head Office – United Kingdom 61 Frogmore, Wandsworth, London, SW18 1HF
[email protected]
+44 (0)20 8877 4444
Panorama Antennas Inc
USA 1551 Heritage Parkway, Suite 101, Mansfield, TX, 76063
[email protected]
+1 817-539-1888
Panorama Antennas Pty Ltd
Australia Unit 1, 5 Jaggs Way, Kardinya, WA 6163
[email protected]
+61 406 812 364
Panorama Antennas SAS
France 16 All& des Acacias, 33700 Merignac
[email protected]
+33 554 070 436
Panorama Antennas Pte Ltd
Singapore Space@ Tampines, 18 Tampin es Industrial Crescent, 52}3505
[email protected]
+65 9155 4194
Panorama Antennas Ltd
Germany [email protected]
+49 2303 902 88 00





![Panorama Antenna Sw3-772 Cm[x]-24-58-2[var] Series Low Profile Mimo Wifi Antenna Instruction Manual Panorama Antenna Sw3-772 Cm[x]-24-58-2[var] Series Low Profile Mimo Wifi Antenna Instruction Manual](https://static-data1.manualsee.com/1/img/25/2485368/2022/03/PANORAMA-ANTENNA-SW3-772-CMX-24-58-2-VAR-Series-Low-Profile-WiFi-Antenna-FEATURED-1568x538.png)



![Panorama Antennas Sab-315 Bs[g]m Antenna Range Marine Adapter Installation Guide Panorama Antennas Sab-315 Bs[g]m Antenna Range Marine Adapter Installation Guide](https://static-data1.manualsee.com/1/img/202/3849112/2022/07/Panorama-Antennas-SAB-315-BSGM-Antenna-Range-Marine-Adapter-Installation-Guidet_8.jpg)





