
USER GUIDE

32 FULL HD CURVED
FREESYNC GAMING MONITOR
(1920 x 1080, 75Hz)
KAMN32F7CSA
SAFETY & WARNINGS
- Read all instructions before using the appliance and retain this user guide for future reference.
- Unplug the monitor before cleaning it.
- Use a clean, slightly dampened cloth to wipe the main monitor body.
- • To clean the screen: turn it off, unplug it and wait for it to cool completely, then wipe it with a dry microfibre cloth.
- Do not use cleaning alcohol, ammonia-based liquids, or other harsh cleaners.
- This monitor is designed with ventilation holes on the back of the casing. Do not cover or block them.
- Do not insert any object or spray any liquid into the vents.
- Avoid placing the monitor near heaters, stoves, fireplaces, or other sources of heat, as well as in rooms lacking adequate ventilation.
- Do not position the monitor in unsafe locations. If the monitor falls, it may be damaged and may injure nearby people.
- Unplug the monitor if it is not going to be used for an extended period.
- Do not place heavy objects on the monitor, its power cord, or any connected cable.
- Do not open the back panel of the monitor, as it contains a high-voltage current even when not plugged in.
![]()
The terms HDMI and HDMI High-Definition Multimedia Interface, and the HDMI Logo are trademarks or registered trademarks of HDMI Licensing Administrator, Inc. in the United States and other countries.
COMPONENTS

OVERVIEW
Monitor Controls
| 1 | Backlight button | Press to turn the display backlight on/off. | |
| 2 | Menu button | Press to display the OSD menu or enter sub-menus. | |
| 3 | ∨ | Down button | Press to move down in the menu. |
| ∧ | Up button | Press to move up in the menu. | |
| 5 | Exit button | Press to exit the menu. | |
| 6 | Power button | Press to turn the monitor ON/OFF. |
Monitor Ports
7 Audio in
8 VGA input
9 HDMI input
10 Power input
ASSEMBLY
Before disposing of any packaging, place all items on a soft, clean, and flat surface to ensure all components are accounted for.
WARNING: The panel of the monitor is fragile. Keep the foam underneath the monitor screen while assembling the stand.
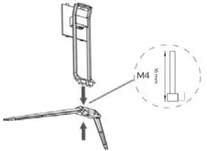
- Carefully remove the monitor, stand arm and stand base from the box.

- Attach the stand base to the stand arm using the M4x16 screw provided.

- Insert the stand arm block into the back cabinet and push down until firmly connected.

- Lift the monitor up straight and remove the bottom foam. Stand the monitor up on the installed base.

VESA MOUNT
VESA mounting pattern 100 x 100mm, screw size M4.
Note: VESA mount or mounting accessories are NOT included.
Open the box, take out the monitor with the protection form attached, and gently place it on a desktop or table. Remove the extra parts and the foam covering the back of the monitor. Press the release button to remove the stand plate. If the monitor was already attached to the stand assembly, remove it.

Assemble the mount following the instructions provided with the mount.

CONNECTIVITY
Power
Connect the included power cable to the monitor power port, then connect the other end to a power outlet.

Audio In
Connect an audio cable to the 3.5mm audio port on the monitor (Audio In) and the 3.5mm audio port on your computer.
HDMI
Connect an HDMI cable from the computer’s display output to the monitor’s display input.
VGA
Connect a VGA cable from the computer’s display output to the monitor’s display input.

OPERATION
- Connect the monitor to the input device via HDMI or VGA.
- Connect the power cable to the monitor, then connect the other end directly to a power socket.
- Use the power button to turn the monitor on.
Indicator Light
The indicator light will illuminate green when the monitor is powered on.
FreeSync
- In order to use this feature, ensure your hardware has FreeSync capability and the graphics drivers are fully up to date.
- After connecting, you may receive a prompt to enable the feature on your computer. If you do not receive the prompt, you may need to enable the function in your graphics card menu.
- See your graphics card manufacturer’s documentation for instructions on how to turn on and/or enable FreeSync.
The On-Screen Display (OSD)
The OSD menu may be used to adjust your monitor’s settings and appears on the screen after turning on the monitor and pressing the “
” button.
When using the monitor for the first time, settings will automatically adjust to optimal parameters according to your computer’s configuration and parts, etc.
- Press “
” to enter the OSD menu. - Press “∨ ” or “∧ ” to browse functions.
With the desired function highlighted, press “
to enter the sub-menu.
Press “ ∨” or “ ∧” to browse sub-menus, then press “
” to highlight the desired function.
Press “∨ ” or “ ∧” to highlight an option, then press “
” to confirm the settings and exit the current screen. - Press “
” to exit the current screen.
List of Functions
| Main Menu | Sub-Menu | Options | Description |
| Brightness | Picture | -0-100 | Adjust display brightness |
| Contrast | -0-100 | Adjust display contrast | |
| Blacklight | -0-100 | Adjust display Blacklight | |
| Low blue | On | Enable/disable blue light reduction | |
| Off | |||
| ECO | STANDARD/ TEXT/GAME/ MOVIE/ FPS/RTS | Preset color modes | |
| DCR | On | Enable/disable dynamic contrast ratio | |
| Off | |||
| Image | Horizontal position | -0-100 | Adjust video display area left to right (VGA only) |
| Vertical position | -0-100 | Adjust video display area up and down (VGA only) | |
| Clock | -0-100 | Adjust display Clock | |
| Phase | -0-100 | Adjust display Phase | |
| Aspect | Wide (16:9), 4:3 | Adjust display Phase Aspect | |
| FreeSync | On/Off | Adjust display FreeSync On/Off |
Colour | Warm mode | Red/green/blue | Adjust red/green/blue levels |
| Cool mode | Red/green/blue | Adjust red/green/blue levels | |
| User mode | Red/green/blue | Adjust red/green/blue levels | |
| HDR mode | On/Off | Enable or disable HDR mode | |
| OSD Setting | Language | English, | Set OSD language |
| OSD H- Position | -0-100 | Adjust OSD horizontal position | |
| OSD VPosition | -0-100 | Adjust OSD vertical position | |
| OSD Timer | 5-60 | Set how long the OSD remains open after the last input | |
| Transparency | -0-100 | Set OSD overall transparency |
Reset | Image | None | Restore VGA image defaults |
| Colour | None | Automatically configure VGA color settings | |
| Reset | None | Restore factory defaults | |
| Power down | On | Enable/disable Power down function | |
| Off | |||
| Time count | 10-90min | Adjust Time count | |
| OD | On (default) | Enable/Disable Overdrive | |
| Off | |||
| Misc | Signal source | VGA/HDMI | Adjust input source |
| Mute | On | Enable or disable monitor speaker output | |
| Off | |||
| Volume | -0-100 | Adjust monitor speaker volume |
GAME PLUS MODE
Game plus
Press the “
button to switch Game plus modes. According to the needs of your game, choose the corresponding game icon. These game icons are primarily designed to optimize your aim during shooting games, though they can be used for other scenarios.

SPECIFICATIONS
| Screen size | 32 |
| Aspect ratio | 16:9 |
| Brightness | 280cd/m² (typical) |
| Panel | VA |
| Resolution | 1920 x 1080 |
| Refresh rate | 75Hz |
| Response time | 10ms with Overdrive enabled (20ms typical) |
| Viewing angle | ≥178°(H) / 178°(V) |
| Contrast ratio | 3000:1 |
| VESA mounting | 100 x 100mm |
| Colors | 16.7M |
| Signal input | HDMI 1.4 x 1, VGA x 1 |
| Power | AC 100-240V~ 50/60Hz 1.1A |
| Speakers | YES |
| Power cable | YES |
| HDMI Cable | YES |
| Low Blue Light | YES |
| Flicker-Free | YES |
| Dimensions (w. Stand) | 714.4 x 231.6 x 536.4 (mm) |
| Dimensions (w/o Stand) | 714.4 x 106.2 x 424 (mm) |
| Net weight | 7.2kg |
| Gross weight | 9.2kg |
NOTES
Need more information?
We hope that this user guide has given you the assistance needed for a simple setup.
For the most up-to-date guide for your product, as well as any additional assistance you may require, head online to help.kogan.com
























