USER GUIDE
34″ CURVED ULTRAWIDE FREESYNC HDR GAMING MONITOR
(21:9 144Hz 3440 x144O)
KAM N34FXQULA
Safety and warnings
Read all instructions before using the appliance and retain them for reference.
- Unplug the monitor before cleaning it with a slightly damp, clean
- Wiping the screen once it has been turned off with a dry microfibre cloth is
- Do not use cleaning alcohol, ammonia-based liquids, or other harsh cleaners.
- This monitor is designed with ventilation holes on the back of the Do not cover or block them.
- cling the monitor near heaters, stoves, fireplaces, or other sources of heat, in rooms lacking adequate ventilation.
- Do not insert any objects or spray any liquids into the vents.
- Do not position the monitor in unsafe If the monitor falls, it may be damaged and may injure nearby people.
- Unplug the monitor if it is not going to be used for an extended
- Do not place heavy objects on the monitor, its power cord, or any connected
- Do not open the back panel of the monitor, as it contains a high-voltage current even when not plugged in.
The terms HDMI and HDM I High- Definition Multimedia Interface and the HDMI Logo are trademarks or registered trademarks of HDMI Licensing Administrator, Inc. in the United States and other countries.
COMPONENTS


| A Monitor B Stand Stem C Stand Base D Cable Clip E PM5*11mm Screws ( x 4) | F VESA connectors x 4 (35mm+7mm) G Power Cable H DP Cable(1.5m) I User Guide |
OVERVIEW
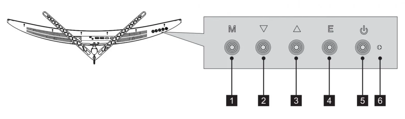
Monitor Controls

- M Menu Button: Press to display the OSD menu or enter sub-menus.
Down Button: Press to move down in the menus.
Up Button: Press to move up in the menus.- E Exit Button: Press to exit.
Power Button: Press to turn the monitor on/off.- LED Indicator: Change colors to indicate status.
Monitor Ports
- Power Connector: Insert the power cable to supply power to the monitor.
- Audio Output: Insert one end of the Audio cable into the computer’s audio output to receive the audio signals from your monitor.
- DP Connector: Insert one end of the DP cable into the computer’s DP output and connect the other end to the monitor’s DP port.
- HDMI Connector: Insert one end of the HDMI cable into the computer’s HDMI output and connect the other end to the monitor’s HDMI
ASSEMBLY
Keep the foam underneath the monitor before attaching the stand.
- Open the package, take out the product with foam still attached, and gently place it on a desktop or table. Then take out the stem, cable clip, and base, use the screwdriver (not included) and one screw to fasten the base to the stem.

- Remove the foam covering the bottom of the monitor, then remove the converter on the back of the monitor. Then use two screws to fasten the converter onto the stem.

- Attached is the converter with stem and base back onto the back of the monitor, Then remove the remaining foam on the monitor and stand it on the desktop. Press the button to remove the monitor from the bracket and easily unmount it.

Make sure the monitor is laid on a flat surface before removing the stand.
WALL MOUNTING
- Open the package, take out the product with foam still attached, and gently place it on o desktop or table. Remove the extra parts and the foam covering the bock of the monitor. Press the release button to remove the stand plate. If the monitor was already attached to the stand, remove the stand.

- Remove the original screws x4 (1) from the opening in the back of the monitor.
- Follow the directions received with your mount, stand, or accessory and install the monitor on the wall or fixture as desired. Remember to use the included 4 screws when mounting the monitor. Refer to image (2) for correct screw placement.

Do not discard the original screws. These may be needed for future use. - Follow the directions received with your mount, stand, or accessory and install the monitor on the wall or fixture as desired.

CONNECTIVITY
Removable Rear Panel
This monitor features a removable rear panel that covers the input ports. It may be easier to remove this panel before attempting to connect or remove cables from the monitor.

Power Cable
Connect the included power cable to the power connector. and then plug the other end into a power outlet

Earphones
Plugin your earphones to receive audio signals from your monitor. If your earphones are connected to the monitor and audio devices are connected to your computer at some time, the audio devices will not produce sound. Earphones and other audio devices are not included.

HDMI
In order for the monitor to receive HDMI signals from the computer, use the HDMI cable to connect the monitor to the computer.
DP
In order for the monitor to receive DP signals from the computer, use the DP cable to connect the monitor to the computer.

OPERATION
Insert one end of the DP cable into your PC’s graphics card. An HDMI cable may also be used. HDMI cable is not included.
- Connect the other end of the cable to the corresponding connector on your monitor.

- Connect the power cable to your monitor then connect the other end to your power source. It is recommended that you use a surge protector with adequate voltage if a wall outlet cannot be reached directly.
- Locate the power button on the monitor and press it to turn the monitor on.
FreeSync The feature itself is off by default when setting a 144Hz refresh rate. In order to use this feature, please note you must have hardware with FreeSync capability, on the DP cable. and the latest graphic drivers. To use this feature, connect your computer and monitor with on DP cable. After connecting, you may receive a prompt to enable the feature on your computer. If you do not receive the prompt, you may need to enable the function in your graphics card menu. See your graphics card manufacturer’s documentation for instructions on how to turn on and/or enable FreeSync.
Indicator Light

Solid blue light indicates power is on and the monitor is operating normally. Flashing blue light indicates no video source. no horizontal or vertical signal has been detected.
Please ensure your computer is on and all video cables are fully inserted and/or connected.
On-Screen Display (OSD)
The On-Screen Display (OSD) Menu may be used to adjust your monitor’s settings and appears on the screen after turning on the monitor and pressing the M button.
When using the monitor for the first time, settings will automatically adjust to optimal settings according to your computer’s configuration and parts, etc.
- Press any one of the buttons (M,

E.
) to activate the navigation window.
- Press M
to enter the OSD menu.
- Press
or
browse functions.
• Highlight the desired function, then press M to enter the sub-menu.
• Press
or
to browse sub-menus, then press M to highlight the desired function.
• Press
or
to highlight an option, then press M to confirm the settings and exit the current screen. - Press E to exit the current screen.
List of Functions
Main Menu | Sub-Menu | Options | Descriptions |
| Input Source | DP1 ; DP 2 | NONE | Switch to DP signal input |
| HDMI 1; HDMI 2 | NONE | Switch to HDMI signal input | |
| Brightness/ Contrast | Brightness | 0-100 | Adjust display brightness |
| Black level | 0-100 | Adjust display black level | |
| Contrast | 0-100 | Adjust display contrast | |
| DCR | On | Turn on the DCR function | |
| Off | Turn off DCR function | ||
| Color Setting | Gamma | Gamma 1.8 | Set Gamma add-in |
| Gamma 2.0 | |||
| Gamma 2.2 | |||
| Gamma 2.4 | |||
| Gamma 2.6 | |||
| Picture Mode | Standard, Photo, Movie, Game, FPS, RTS | Set visual mode according to activity | |
| Color Temperature | Warm, Cool, User | Select color temperature | |
| Low Blue Light | 0-100 | Set blue light filtering level | |
| Hue | 0-100 | Adjust hue levels | |
| Saturation | 0-100 | Adjust saturation levels | |
| Picture Quality Setting | Sharpness | 0-100 | Set display sharpness |
| Response Time | Off, High, Middle, Low | Turn On/Off the response time of the monitor | |
| Noise Reduction | Off, High, Middle, Low | Reduce the interference of image noise caused by signal source interference | |
| Dynamic Luminous Control | On, Off | Compensate for grayscale display screen and strengthen the expression of grayscale | |
| MPRT | Off | / | |
| Display | Aspect Ratio | Wide Screen, 4:3, 1:1, Auto | Select the on-screen aspect ratio |
| LedMode | Flicker, Normal, Off | Switch LED modes / turn LEDs on/off |
| Audio | Mute | On, Off | Turn mute mode on/off |
| Volume | 0-100 | Adjust audio volume | |
| Audio Source | DP1 ; DP 2 ; HDMI t HDMI 2 | Select audio signal input via HDMI or DP | |
| Multi-Window | Multi-Window | Off, PIP Mode, PBP 2Win | Select PIP/PBP modes according to the number of input signals etc. |
| Sub Win2 Input | DP1, DP 2, HDMI1, | Select according to an input signal for PIP/ PBP mode | |
| PIP Size | Small, Medium, Large | Adjust the PIP/PBP window size | |
| PIP Position | Top Right, Top Left, Bottom Right, Bottom Left | Adjust the PIP/PBP window position | |
| Swap | NONE | Swap the PIP/PBP signal sources | |
| OSD | Language | English, | Set OSD language |
| OSD H-Position | 0-100 | Adjust the OSD’s horizontal position | |
| OSD V-Position | 0-100 | Adjust the OSD’s vertical position | |
| OSD Transparency | 0-100 | Set the OSD’s overall transparency | |
| OSD Time Out | 5-100 | Set how long the OSD remains open after non-use | |
| OSD Rotation | Normal, 90, 180, 270 | When the user flips the display, this function can also flip the OSD to achieve the best display angle | |
| Other | DP Version | DP1.1, DP1.2 DP1.4 | |
| FreeSync (Adaptive Sync) | On, Off | Turn the FreeSync function on/off | |
| HDR | Off, On, Auto-Detect | Turn the HDR mode on/off | |
| Reset | None | Reset monitor configurations |
ECO MODE & GAMEPLUS
- Press any one of the buttons (M,

E,
) to activate the navigation window.
- Press
button to switch Game plus modes. According to the needs of your game, choose the corresponding game icon. These game icons are primarily designed to optimize your aim during shooting games, though they can be used for other scenarios.
- Press
the button to switch ECO modes. These modes include Standard, Text, Movie, Game, FPS, and RTS and can be used to optimize settings according to your activity. Standard mode is suitable for most activities.
SPECIFICATIONS
| Model | KAMN34FXQULA |
| Screen Size | 34″ |
| Aspect Ratio | 21:9 |
| Backlight | E-LED |
| Brightness | 400cd/m2 |
| Panel | VA |
| Resolution | 3440×1440 |
| Refresh Rate | 144Hz |
| Response Time | 5ms(GTG) |
| Viewing Angle | ≥178 ‘(H) /12≥178 º(V) |
| Contrast Ratio | 3000:1 |
| VESA Mounting | 75×75 |
| Colors | 16.7M |
| FreeSync | YES |
| Signal Input | DP–2, HDMI2.0*2 |
| Power | AC 100-240V 50/60Hz 2.0A |
Audio | |
| Speakers | NO |
| Audio Out | YES |
Accessories | |
| Power Cable | YES |
| DP Cable | YES |
Additional Functions | |
| Low Blue Light | YES |
| Flicker-Free | YES |
| Physical Dimensions | |
| Dimensions (w / Stand ) | 808.65×454.19×225.58(mm) |
| Dimensions (w / o Stand ) | 808.65×363.33×123.12(mm) |
| Net Weight | 7.02kg |
| Gross Weight | 8.96kg |
NOTES
Need more information?
We hope that this user guide has given you the assistance needed for a simple set-up.
For the most up-to-date guide for your product.
as well as any additional assistance you may require,
head online to help.kogan.eom
































