Wall Mounted
Packaged Heat Pump
Models:
W18HB-A W24HB-A
W24HB-B
W24HB-C
W24HBDA
W24HBDB
W24HBDC
General Notes
- Revised and/or additional pages may be issued from time to time.
- A complete and current manual consists of pages shown in the contents section.
Important
- Contact the installing and/or local Bard distributor for all parts requirements. Make sure to have the complete model and serial number available from
the unit rating plates.
Contents hide
CABINET COMPONENTS

- Exterior cabinet parts are manufactured with various paint color options. To ensure the proper paint color is received, include the complete model and a serial number of the unit for which cabinet parts are being ordered.
- Exterior cabinet parts are manufactured from stainless steel Code “S”
- Exterior cabinet parts are manufactured from aluminum Code “A”
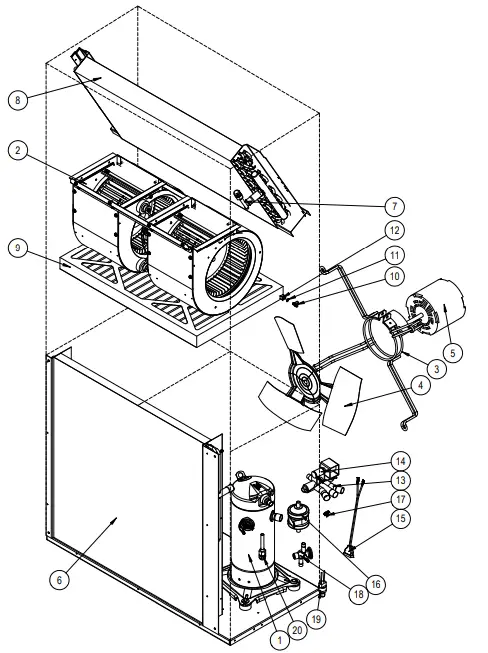
FUNCTIONAL COMPONENTS – STANDARD UNITS



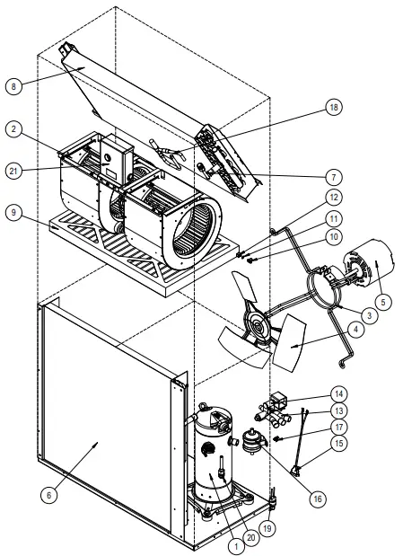
FUNCTIONAL COMPONENTS – DEHUMIDIFICATION UNITS


CONTROL PANEL – 230 VOLT 1 PHASE UNITS


CONTROL PANEL – 230 VOLT 3 PHASE UNITS

CONTROL PANEL – 460 VOLT 3 PHASE UNITS

CONTROL PANEL – 460 VOLT 3 PHASE UNITS

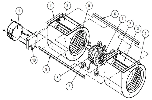
BLOWER ASSEMBLY

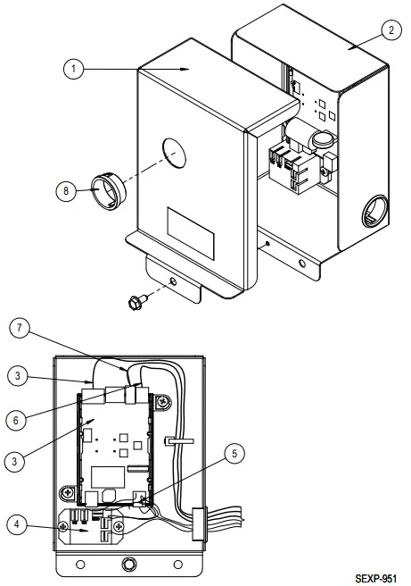
EEV CONTROLLER ASSEMBLY

























