DIMPLEX BLF7451 74-In Electric Fireplace
Product Information
- Model: BLF7451 Electric Fireplace
- Manufacturer: Dimplex
The Dimplex BLF7451 is an electric fireplace designed to provide warmth and ambiance to any room. It features a high-quality design and construction, with a focus on safety and ease of use. The fireplace comes equipped with a range of safety features, including automatic shut-off and a cool-to-the-touch exterior, making it safe for use in homes with children and pets. The fireplace is designed to be easy to install and use, with simple controls and intuitive settings that allow you to customize the temperature and flame effect to suit your preferences. It also comes with a range of maintenance features that make it easy to keep your fireplace looking and working great for years to come.
Product Usage Instructions
Installation
- Read all instructions carefully before beginning installation.
- Choose a suitable location for your electric fireplace, taking into account the clearances required around the unit.
- Plug the unit into a standard electrical outlet.
- Turn on the fireplace and adjust the temperature and flame settings to suit your preferences.
Usage
- Always read the user manual before using your electric fireplace.
- Keep the area around your electric fireplace clear of flammable materials, such as curtains or furniture.
- Do not touch the hot surfaces of the electric fireplace, especially the trim around the heater outlet.
- Never cover or obstruct the front of the heater, as this can lead to high temperatures and potential hazards.
- Supervise young children and infirm persons when using the electric fireplace.
- Do not leave the electric fireplace unattended while it is in operation.
- Use only replacement parts authorized by the manufacturer.
Product Maintenance
- Clean the exterior of the electric fireplace regularly with a soft cloth.
- Do not use abrasive cleaners or solvents on the electric fireplace.
- Inspect the unit periodically for signs of damage or wear.
By following these usage instructions and recommendations, you can enjoy your Dimplex BLF7451 electric fireplace safely and efficiently for years to come.
IMPORTANT SAFETY INFORMATION
Always read this manual first before attempting to install or use this fireplace. For your safety, always comply with all warnings and safety instructions contained in this manual to prevent personal injury or property damage. To view the full line of Dimplex products, please visit www.dimplex.com
Always use a qualified technician or service agency to repair this fireplace.
- NOTE: Procedures and techniques that are considered important enough to emphasize.
- CAUTION: Procedures and techniques which, if not carefully followed, will result in damage to the equipment.
- WARNING: Procedures and techniques which, if not carefully followed, will expose the user to the risk of fire, serious injury, or death.
Welcome & Congratulations
Thank you and congratulations for purchasing an electric fireplace from Dimplex. Please use our convenient online registration page to record your model and serial numbers for future reference at
www.dimplex.com/register

Please carefully read and save these instructions.
CAUTION: Read all instructions and warnings carefully before starting installation. Failure to follow these instructions may result in a possible electric shock, fire hazard and will void the warranty.
NO NEED TO RETURN TO THE STORE
- Questions with operation or assembly? Require Parts Information?
- Product Under Manufacturer’s Warranty?
- Contact us at: www.dimplex.com/customer_support
- For Troubleshooting and Technical Support
- OR Toll-Free 1-888-DIMPLEX (1-888-346-7539)
- Monday to Friday 8:00 a.m. to 4:30 p.m. EST
In order to better serve you, please have your model and serial number ready or register your product online before calling (See above)
IMPORTANT INSTRUCTIONS
When using electrical appliances, basic precautions should always be followed to reduce the risk of fire, electric shock, and injury to persons, including the following:
- Read all instructions before installing or using this electric fireplace.
- This fireplace is hot when in use. To avoid burns, do not let bare skin touch hot surfaces. The trim around the heater outlet becomes hot during heater operation.
- DANGER: High temperatures may be generated under certain abnormal conditions. Do not partially or fully cover or obstruct the front of this heater.
- Extreme caution is necessary when any heater is used by or near children or invalids and whenever the unit is left operating and unattended.
- Young children should be supervised to ensure that they do not play with the appliance.
- The appliance is not intended for use by young children or infirmed persons without supervision.
- Do not operate the unit after it malfunctions. Disconnect power at the service panel and contact Dimplex Technical Service for service 1-888-346-7539.
- Do not use outdoors.
- Never locate fireplace where it may fall into a bathtub or other water container.
- To disconnect the fireplace, turn the controls off, then disconnect the circuit at the main disconnect panel.
- Do not locate the heater immediately below a fixed socket outlet.
- Do not insert or allow foreign objects to enter any ventilation or exhaust opening as this may cause an electric shock or fire, or damage to the heater.
- To prevent a possible fire, do not block air intakes or exhaust in any manner.
- All electrical heaters have hot and arcing or sparking parts inside. Do not use in areas where gasoline, paint, or flammable liquids are used or stored.
- Use this heater only as described in this manual. Any other use not recommended by the manufacturer may cause fire, electric shock or injury to persons.
- Do not burn wood or other materials in the electric fireplace.
- Do not strike the fireplace glass.
- Always use a certified electrician should new circuits or outlets be required.
- Disconnect all power supply before performing any cleaning, maintenance or relocation of the unit.
- When transporting or storing the unit and cord, keep in a dry place, free from excessive vibration and store so as to avoid damage.
WARNING
- Remote control contains small batteries. Keep away from children. If swallowed, seek medical attention immediately.
- Do not install battery backwards, charge, put in fire or mix with used or other battery types – may explode or leak causing injury.
NOTE: Changes or modifications not expressly approved by the party responsible for compliance could void user’s authority to operate the equipment.
CAUTION
- RISK OF ELECTRIC SHOCK
- DO NOT OPEN
- NO USER-SERVICABLE PARTS INSIDE
SAVE THESE INSTRUCTIONS
Quick Reference Guide
- The electrical information regarding your electric fireplace can be found on the rating label located on the front of the unit, behind the glass.
- Please use our convenient online registration page to record your model and serial numbers for future reference at www.dimplex.com/register
- If you have any technical questions or concerns regarding the operation of your electric fireplace, or require service contact customer service at 1-888-346-7539.


- For dimensions of your fireplace, refer to Figure 1.
Fireplace Installation
Site Selection
Review and consider all of the following conditions before installation:
- Dimensions of the unit: 74.1 in. (1883 mm) x 19.4 in. (494 mm)
- For surface installation, the unit requires a minimum of 2 wall studs in order to ensure secure installation. For other installation methods, suitable framing is required.
There are two possible mounting methods:
- Surface mount;
- Flush mount.
CAUTION: Ensure installation does not allow fireplace to be in direct contact with building vapor barrier or insulation and meets all local building code.
NOTE: A dedicated, properly fused 15 Amp circuit is required, rated for the appropriate voltage (120V, 240V).
WARNING: Construction and electrical outlet wiring must comply with local building codes and other applicable regulations to reduce the risk of fire, electric shock and injury to persons.
WARNING: To reduce the risk of fire, do not store or use gasoline or other flammable vapors or liquids in the vicinity of the heater.

- Select a location that is not susceptible to moisture and is away from drapes, furniture and high traffic.
- Unpack the fireplace, front glass and hardware from the box and remove all packaging materials before installation.
- Store the fireplace in a safe, dry and dust free location until you are ready to install the fireplace.
Wiring
WARNING
- To reduce the risk of fire, electric shock or injury to persons, always use a licensed electrician.
- Ensure that the circuit on which the fireplace is to be installed has the power cut off at the service panel until installation is complete.

- Carefully remove the electrical cover bracket from the back of the fireplace by removing the three retaining screws. (Figure 2)
- Leaving a minimum of 3 in. (7.6 cm) of slack, route the power supply through a cable clamp (not included) and the hole in the electrical cover bracket.
- Remove the two covers off of the unit at the front to access the wire connections. (Figure 3)
For 120V Installations
- Use two conductor, non-metallic sheath cable with ground wire (3 wires total) for the incoming power supply.
CAUTION: Use the appropriate wire to meet local and national electrical codes for rated power consumption.
- Connect the L1 wire from the unit to the live wire from the power supply.
- Connect the N and H1 wires from the unit to the neutral wire from the power supply.
- Connect the L2 and H2 wires together, with a wire connector and leave them disconnected from everything.
- Attach the grounding wire to the cover with the provided grounding screw. Place wire in-between screw and lock washer and tighten (Figure 4).
- Reposition the electrical cover brackets over the wires and connectors and attach to the fire-place chassis using the screw removed in step 1 and step 3.
For 240V Installations

- Use three conductor, non-metallic sheath cable with ground wire (4 wires total) for the incoming power supply on fireplace inserts.
CAUTION: Use the appropriate wire to meet local and national electrical codes for rated power consumption.
- Connect the L1 wire from the unit to the L1 wire from the power supply.
- Connect the L2 wire from the unit to the L2 wire from the power supply.
- Connect the N wire from the unit to the neutral wire from the power supply.
- Connect the H1 and H2 wires together, with a wire connector and leave them disconnected from everything.
- Attach the grounding wire to the cover with the provided grounding screw. Place wire in-between screw and lock washer and tighten (Figure 4).
- Reposition the electrical cover brackets over the wires and connectors and attach to the fire-place chassis using the screw removed in step 1 and step 3.
For Bathroom Use
- If this unit is installed in a bathroom it must be protected by a GFI receptacle or circuit. If receptacle is used it must be readily accessible.
- To prevent electrical shock this unit is an electrical appliance that is NOT watertight and must be installed as to prevent water from entering unit. This must be installed away from showers, tubs, etc. Never locate fireplace where it may fall into a bathtub or other water container.
Surface Mount Installation
CAUTION: Two people will be required for various steps of this procedure.
WARNING: Ensure that the circuit on which the fireplace is to be installed has the power cut off at the service panel until installation is complete.
- Determine the mounting location of the unit so that the wall-mounting bracket can be installed into 3 wall studs.
- NOTE: It is recommended that the mounting bracket be installed 56 in. (142 cm) off of the ground to maintain an optimized viewing angle of the flame.
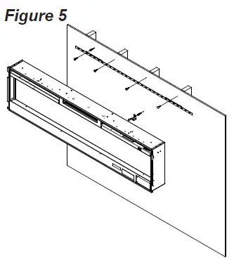
- Hold the wall mounting bracket, with the bubble level on the top, on the wall so that the bubble on the level is centered between the two black lines.

- Mark the 4 mounting screw locations, on the wall, ensuring that the wall bracket stays level. (Figure 5)
- In locations where the screws are being installed only into drywall, install the supplied wall anchors before installing the screw (predrill if required).
- Secure the wall bracket to the wall using the supplied 1½ in.(3.8 cm) mounting screws and washers into the wall and/or wall anchors.
- Install the bottom support bracket to the wall centered with the wall mounting bracket, using the appropriate mounting hardware, 13 ¾” (350 mm) below the wall mounting bracket. (Figure 5)

- Remove the center screw from the bottom of the fireplace. (Figure 6)
- Hang the fireplace from the bracket.
- Install the removed screw through the bottom support bracket into the fireplace.
- Refer to Front Glass Installation section final installation procedures.
Flush Mounted Installation – 2×8 Framing
CAUTION: Two people will be required for various steps of this procedure.

- Prepare a wall with a framed opening of 73 in. (185.4 cm) wide x 18 ½ in. (47 cm) high (Figure 7).
- NOTE: It is recommended that the bottom of the unit not be mounted higher than 40 in. (102 cm) from the ground to maintain an optimized viewing angle of the flame.
- WARNING: Do not attempt to wire your own new outlets or circuits. To reduce the risk of fire, electric shock or injury to persons, always use a licensed electrician.
- Ensure that the circuit on which the fireplace is to be installed has the power cut off at the service panel until installation is complete.
- Lift the fireplace and insert into opening. The fireplace’s mounting trim should be flush against the wall (Figure 7).
- Use the supplied bubble level to level the fireplace within the framing, adjust as required.

- Drive four supplied mounting screws through the four mounting holes located on the inside surface of the fireplace chassis, into wall studs (Figure 8).
- Refer to Front Glass Installation section for final installation procedures.
Front Glass Installation

- Pour and evenly distribute the supplied media in the Media tray of the firebox (Figure 9).
- Carefully mount front glass assembly so that the front glass hooks hang on the front glass mounts on the fireplace (Figure 9).
- Use the supplied four Phillips sheet metal screws to fasten the glass assembly tabs to the fireplace (Figure 10).
Operation

WARNING: This electric firebox must be properly installed before it is used.
The unit can be controlled by either the manual controls which are located on the upper right of the fireplace or the remote (Figure 11 & 12).
The fireplace is supplied with an IR multifunction remote control.
NOTE: To operate correctly, the remote control must be pointed towards the Floating DisplayTM.
- A.
Standby- Turns the unit On and Off.
- Activated by pressing the Standby button on the remote or the unit.
- The unit will turn on with the same functions that it was set to when it was turned Off and the intake temperature will be indicated on the Floating DisplayTM.
- NOTE: When any button is pressed the intake temperature will be displayed on the Floating DisplayTM for 5 seconds.
- B.
Flame Effects- Turns the flame effect On and Off.
- Activated by pressing the button on the remote.
- C.
Heat ON/OFF- Turns the heater On and Off.
- Activated by pressing the
button on the unit or the remote. - Indicated by the icon and the intake temperature being displayed on the Floating DisplayTM, for 5 seconds before turning off.
- NOTE: After the heater is switched off, there is a 60-second fan delay, where the fan will continue running before turning off.
- NOTE: The unit can be operated in Heat Only Mode. When the unit is only running with the heater, the
icon will continuously be displayed on the Floating DisplayTM. - NOTE: The heater may emit a slight, harmless odor when first used. This odor is a normal condition caused by the initial heating of internal heater parts and will not occur again.
- D & E
: Thermostat Controls- Adjusts the temperature set point to your individual requirements. Once the desired set temperature is reached the heater will turn off. The heater will cycle on and off to maintain the desired set temperature. The default temperature setting is 72°F (22°C).
- Adjusted by pressing the
to decrease the setpoint and the
to increase the setpoint on the unit or the remote. - The Floating DisplayTM will indicate the temperature setpoint as it is adjusted.
- NOTE: Holding the
and the buttons down for two seconds, on the unit, will change the temperature from °C to °F, or vice versa. - Disable Heat
- If desired, depending on the season, the heater on the unit can be disabled. The unit will operate in the same fashion, with remainder of the controls.
- Pressing the
and
buttons on the unit at the same time and holding for 2 seconds will disable and enable the heater.
- NOTE: When the heater has been disabled and either the or the
DisplayTM will indicate “–“.
- F.
Color Themes- Different presets of ambient lighting color combinations contained in the unit.
- Changed by repeatedly press-ing the corresponding button on the remote or the unit.
- Cycles through the different preset ambient lighting settings of the unit, this includes different combinations of colours of the flame base and media lighting.
- NOTE: The last theme of the cycle is a prism where the unit cy-cles through a variety of colours.
- Pressing the
button stops the cycling and holds the unit on the preferred color, indicated by a “U” – Unfreeze or a “F” – Freeze on the display.
- Different presets of ambient lighting color combinations contained in the unit.
- G.
Brightness- Changes the brightness of the lights in the unit.
- Adjusted by repeatedly pressing the corresponding button on the remote.
- Indicated by the second digit on the Floating Display™ changing to show: “H” (high), and “L” (low).
- H.
Sleep Timer- The Sleep Timer can be set to automatically shut off the fireplace after a preset time (from 30 minutes to 8 hours).
- To set the timer press the timer button on the remote, repeatedly, until the desired time is displayed.
- The Floating DisplayTM will display the different times as it is adjusted. Once the timer has begun, pressing the
button will display the time remaining before the unit turns Off. - NOTE: The Sleep Timer can be cancelled at any time by pressing the
button repeatedly until the sleep timer displays nothing.
Resetting the Temperature Cutoff Switch
Should the heater overheat, an automatic cut out will turn the whole unit off and it will not come back on without being reset. It can be reset by turning the unit off at the main disconnect panel and waiting 5 minutes before turning the unit back on.
CAUTION: If you need to continuously reset the heater, unplug the unit and call technical support at 1-888-346-7539.
Remote Control Battery Replacement
To replace the battery:
- Slide battery cover open on the remote control.
- Correctly install one 3 Volt (CR2032 [longer life] or CR2025) battery in the battery holder.
- Close the battery cover.
A battery must be recycled or disposed of properly. Check with your Local Authority or Retailer for recycling advice in your area.
Maintenance
WARNING: Disconnect power and allow heater to cool before attempting any maintenance or cleaning to reduce the risk of fire, electric shock or damage to persons.
NOTE: The fireplace should not be operated with an accumulation of dust or dirt on or in the unit, as this can cause a build up of heat and eventual damage. For this reason the heater must be inspected regularly, depending upon conditions and at least at yearly intervals.
Partially Reflective Glass Cleaning
The partially reflective glass is cleaned in the factory during the assembly operation. During shipment, installation, handling, etc., the partially reflective glass may collect dust particles; these can be removed by dusting lightly with a clean dry cloth. To remove fingerprints or other marks, the partially reflective glass can be cleaned with a damp cloth. The partially reflective glass should be completely dried with a lint free cloth to prevent water spots. To prevent scratching, do not use abrasive cleaners.
Fireplace Surface Cleaning
- Use only a damp cloth to clean painted surfaces of the fireplace. Do not use abrasive cleaners.
Servicing
- Except for installation and cleaning described in this manual, an authorized service representative should perform any other servicing.
Warranty
Products to which this limited warranty applies
This limited warranty applies to your newly purchased Dimplex electric fireplace. This limited warranty applies only to purchases made in any province of Canada except for Yukon Territory, Nunavut, or Northwest Territories or in any of the 50 States of the USA (and the District of Columbia) except for Hawaii and Alaska. This limited warranty applies to the original purchaser of the product only and is not transferable.
Products excluded from this limited warranty
Products purchased in Yukon Territory, Nunavut, Northwest Territories, Hawaii, or Alaska are not covered by this limited warranty. Products purchased in these States, provinces, or territories are sold AS IS without warranty or condition of any kind (including, without limitation, any implied warranties or conditions of merchantability or fitness for a particular purpose) and the entire risk of as to the quality and performance of the products is with the purchaser, and in the event of a defect the purchaser assumes the entire cost of all necessary servicing or repair.
What this limited warranty covers and for how long
Products, other than fireplace surrounds (mantels) and trims, covered by this limited warranty have been tested and inspected prior to shipment and, subject to the provisions of this warranty, Dimplex warrants such products to be free from defects in material and workmanship for a period of 2 years from the date of the first purchase of such products. Dimplex fireplace surrounds (mantels) and trims covered by this limited warranty have been tested and inspected prior to shipment and, subject to the provisions of this warranty, Dimplex warrants such products to be free from defects in material and workmanship for a period of 1 year from the date of first purchase of such products.
The limited 2 year warranty period for products other than fireplace surrounds (mantels) and trims and the limited 1 year warranty period for fireplace surrounds (mantels) and trims also applies to any implied warranties that may exist under applicable law. Some jurisdictions do not allow limitations on how long an implied warranty lasts, so the above limitation may not apply to the purchaser.
What this limited warranty does not cover
This limited warranty does not apply to products that have been repaired (except by Dimplex or its authorized service representatives) or otherwise altered. This limited warranty does further not apply
to defects resulting from misuse, abuse, accident, neglect, incorrect installation, improper maintenance or handling, or operation with an incorrect power source.
What you must do to get service under this limited warranty
Defects must be brought to the attention of Dimplex Technical Service by contacting Dimplex at 1-888-DIMPLEX (1-888-346-7539), or 1367 Industrial Road, Cambridge Ontario, Canada N1R 7G8. Please have proof of purchase, catalogue/model and serial numbers available when calling. Limited warranty service requires a proof of purchase of the product.
What Dimplex will do in the event of a defect
In the event a product or part covered by this limited warranty is proven to be defective in material or workmanship during (i) the 2 year limited warranty period for products other than fireplace surrounds (man-tels) and trims, and (ii) the 1 year limited warranty period for surrounds (mantels) and trims, you have the following rights:
- Dimplex will in its sole discretion either repair or replace such defective product or part without charge. If Dimplex is unable to repair or replace such product or part, or if repair or replacement is not commercially practicable or cannot be timely made, Dimplex may, in lieu of repair or replacement, choose to refund the purchase price for such product or part.
- Limited warranty service will be performed solely by dealers or service agents of Dimplex authorized to provide limited warranty services.
- For products other than surrounds (mantels) and trims, this 2 year limited warranty entitles the purchaser to on-site or in-home warranty services. Accordingly, Dimplex will be responsible for all labour and transportation associated with repairing or replacing the product or part except as follows: (i) charges which may be levied for travel costs incurred to travel to the purchaser’s site where the product is located if the purchaser’s site is beyond 30 miles (48 km) from the closest service depot of Dimplex’s dealer or service agent; and (ii) the purchaser is solely responsible for providing clear access to all serviceable parts of the product.
- For surrounds (mantels) and trims, this 1 year limited warranty does not entitle the purchaser to on-site or in-house warranty services. The purchaser is responsible for the removal and transportation of the surrounds (mantels) and trims (and any repaired or replacement product or part) to and from the authorized dealer’s or service agent’s place of business. On-site or in-home services for surrounds (mantels) and trims may be performed at the purchaser’s specific request and expense at Dimplex’s then-current rates for such services. Dimplex will not be responsible for, and this limited warranty shall not include, any expense incurred for installation or removal of the surrounds (mantels) or trims or any part thereof (or any replacement product or part) including, without limitation, all shipping costs and transportation costs to and from the authorized dealer’s or service agent’s place of business and all labour costs. Such costs shall be the purchaser’s responsibility.
What Dimplex and its dealers and service agents are also not responsible for
IN NO EVENT WILL DIMPLEX, OR ITS DIRECTORS, OFFICERS, OR AGENTS, BE LIABLE TO THE PURCHASER OR ANY THIRD PARTY. WHETHER IN CONTRACT, IN TORT, OR ON ANY OTHER BASIS, FOR ANY INDIRECT, SPECIAL, PUNITIVE, EXEMPLARY, CONSEQUENTIAL, OR INCIDENTAL LOSS, COST, OR DAMAGE ARISING OUT OF OR IN CONNECTION WITH THE SALE, MAINTENANCE, USE, OR INABILITY TO USE THE PRODUCT, EVEN IF DIMPLEX OR ITS DIRECTORS, OFFICERS, OR AGENTS HAVE BEEN ADVISED OF THE POSSIBILITY OF SUCH LOSSES, COSTS OR DAMAGES, OR IF SUCH LOSSES, COSTS, OR DAMAGES ARE FORESEEABLE. IN NO EVENT WILL DIMPLEX, OR ITS OFFICERS, DIRECTORS, OR AGENTS BE LIABLE FOR ANY DIRECT LOSSES, COSTS, OR DAMAGES THAT EXCEED THE PURCHASE PRICE OF THE PRODUCT.
SOME JURISDICTIONS DO NOT ALLOW THE EXCLUSION OR LIMITATION OF INCIDENTAL OR CONSEQUENTIAL DAMAGES, SO THE ABOVE LIMITATION OR EXCLUSION MAY NOT APPLY TO THE PURCHASER.
How State and Provincial law apply
This limited warranty gives you specific legal rights, and you may also have other rights which vary from jurisdiction to jurisdiction. The provisions of the United Nations Convention on Contracts for the Sale of Goods shall not apply to this limited warranty or the sale of products covered by this limited warranty.
Replacement Parts
- Element . . . . . . . . . . . . . . . . . . . . . . . . . . . . . . . . . . . . . . . . . . .2200510700RP
- Partially Reflective Glass Replacement Kit . . . . . . . . . . . . . . . .9600750100RP
- Blower Assembly . . . . . . . . . . . . . . . . . . . . . . . . . . . . . . . . . . . .5300160300RP
- Front Glass. . . . . . . . . . . . . . . . . . . . . . . . . . . . . . . . . . . . . . . . 6908730100RP
- Flicker Motor. . . . . . . . . . . . . . . . . . . . . . . . . . . . . . . . . . . . . . . 2000220100RP
- Flicker Assembly . . . . . . . . . . . . . . . . . . . . . . . . . . . . . . . . . . . .5902490100RP
- Cutout. . . . . . . . . . . . . . . . . . . . . . . . . . . . . . . . . . . . . . . . . . . . 2300201600RP
- Display / Control Board. . . . . . . . . . . . . . . . . . . . . . . . . . . . . . . 3001640100RP
- Flame LED Light Strip (Amber) . . . . . . . . . . . . . . . . . . . . . . . . .3000830200RP
- Switch Board . . . . . . . . . . . . . . . . . . . . . . . . . . . . . . . . . . . . . . .3001520100RP
- Remote Control . . . . . . . . . . . . . . . . . . . . . . . . . . . . . . . . . . . . .6700520200RP
- Media LED Light Strip (RGB) (6 per unit). . . . . . . . . . . . . . . . . 3001570300RP
- Thermistor . . . . . . . . . . . . . . . . . . . . . . . . . . . . . . . . . . . . . . . . .3001560100RP
- Relay Board. . . . . . . . . . . . . . . . . . . . . . . . . . . . . . . . . . . . . . . .3001630100RP
- LED Driver Board (controls 2 LED strips). . . . . . . . . . . . . . . . . 3000810100RP
- LED Driver Board (controls 1 LED strip). . . . . . . . . . . . . . . . . . 3000810200RP
- Mounting Kit. . . . . . . . . . . . . . . . . . . . . . . . . . . . . . . . . . . . . . . .9600760100RP
- AC/DC Adapter. . . . . . . . . . . . . . . . . . . . . . . . . . . . . . . . . . . . . 2100250100RP
Dimplex North America Limited
- 1367 Industrial Road
- Cambridge ON Canada N1R 7G8
© 2015 Dimplex North America Limited
7214000100R01
























