013406 Cord Dimmer

Instruction Manual
Important! Read the user instructions carefully before use. Save them for future reference.
Care for the environment!
Recycle discarded product in accordance with local regulations



SAFETY INSTRUCTIONS ELECTRICAL SAFETY
New installations and extensions to existing systems should always be carried out by an authorised electrician. If you have the necessary experience and knowledge (otherwise contact an electrician), you can replace power switches and wall sockets, fit plugs, extension cords and light sockets. Incorrect installation can result in fatal injury and the risk of fire.
SYMBOLS

TECHNICAL DATA
- Voltage : 230 V ~ 50 Hz
- Range : 0.5 A/3-100 VA
- Protection rating : IP20
- Cord type : H03VVH2-F/H05VVH2-F
- Cross-sectional area of cord : 0.5 – 0.75 mm2
- Overheating protection : Yes
DESCRIPTION
ADJUSTABLE LIGHTING
- 3-100 V light sources.
- 3-60 V LED RC:
– LED bulb (trailing, RC mode).
– LED bulb filament type (trailing, RC mode). - 3-20 V LED RL:
– LED bulb (leading, RL mode).
– LED bulb filament type (leading, RL mode).
ASSEMBLY
INSTALLATION
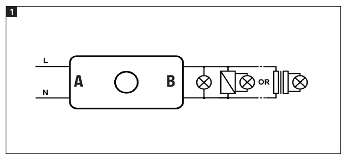
- The in wire is connected to the in terminal (A).
- The out wire to the light is connected to the out terminal (B). FIG. 1
- Set the type of light source with the adjuster screw for mode (LEADING)/ TRAILING)) before connecting to mains. FIG. 2
- If the light flashes with low brightness, or if it takes a long time to start the light source, or if all light sources do not start at the same time, adjust the “MIN” setting clockwise to increase brightness.
NOTE:
- The cord dimmer needs a neutral wire.
- The cord dimmer is bipolar, both the phase and neutral must be connected.
IMPORTANT:
- Light sources of the same type can be connected in parallel. Mixed light sources of inductive and capacitive types must not be connected in parallel (e.g. LED light source and light source controlled with conventional transformer).
- There can be some flickering when LED light sources are connected to the dimmer. Adjust with the MIN screw to get the correct setting.
Adjusting brightness
- Screw the MIN screw to the left (LOW) to set the min level of the light source.
- Screwing the MIN screw to the right (HIGH) sets the max level of the light source.
FIG. 3
– A= Input voltage.
– B = To light.
Leading/Trailing Mode
- For resistive bulbs (LED, incandescent, electronic transformer) the screw is set anticlockwise to maximum (LEADING).
- For inductive bulbs (via conventional transformer) the screw is set clockwise to maximum (TRAILING).
- Set the correct mode when the dimmer is without voltage. If the mode is changed when the dimmer is on the dimmer will switch off and start again without pressing the button.
FIG. 4
– A= Input voltage.
– B = To light.
USE
INTENDED USE
Cord dimmer for diming LED bulbs indoors.
FUNCTION
On/Off
- Press the power switch to switch on the light source to maximum brightness the first time after installation.
- Switch off the dimmer by pressing the power switch again.
- On and off are controlled by tapping the power switch ( < 0.5 s). Pressing the power switch increases/reduces the brightness. Pressing the switch increases the brightness, pressing again reduces the brightness. The brightness stops at the maximum/minimum level.
Dimming
Dimming is carried out by pressing the button (> 0.5 s) when it is on. The dimmer goes from min to max and stops at max. Pressing again makes the dimmer go from max to stop at min.
Memory function
The memory function stores the last setting so that the dimmer lights up again at the last setting. This also happens if the light is disconnected from the mains.
Soft start function
The light is switched on and off with soft start/ stop, which is more comfortable and prolongs the life span of the light source.



















