
400-821

DIMMER OPERATING INSTRUCTIONS
Important! Read the user instructions carefully before use. Save them for future reference. (Translation of the original instructions).
Jula reserves the right to make changes. For the latest version of operating instructions, see www.jula.com
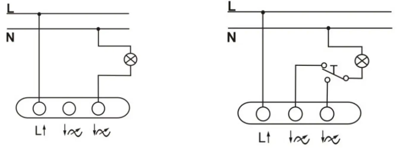
| Standard connection, | Multiway connection |
![]() | |
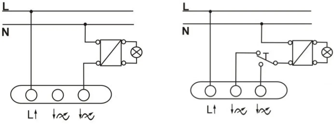
| Standard connection — Low voltage halogen bulb | Multiway connection — Low voltage halogen bulb |
![]() | |
SAFETY INFORMATION
Read the operating instructions carefully before use.
Please retain for future reference.
WARNING
RESPECT ELECTRICITY! New installations and extensions of existing installations must always be carried out by a qualified technician. If you have the necessary knowledge (if not, you should contact an electrician), you may replace power switches, wall sockets, fit plugs, extension leads, and lamp holders. Incorrect fitting may endanger your life and result in a fire.
TECHNICAL DATA
| Rated voltage | AC 230 V/ 50 Hz |
| Adjustable power | 20 — 300 W |
Adjustable loads
- Incandescent lamp(230V)
- Halogen lamp (230V)
- Low voltage halogen lamp with dimmable electronic transformer
JUIA AB, BOX 363, SE-532 24 SKARA
2022-01-20 0
Jula AB





















