SONANCE PS-S43T Professional Series Surface Mount

PRODUCT DESCRIPTION
From Sonance, the company that created the architectural audio category comes a range of professional loudspeakers that set a new benchmark in sound quality and aesthetics for commercial environments.
Introducing Sonance Professional Series
Sonance Professional Series includes a range of In-Ceiling, Pendant and Surface Mount Speakers that deliver true full range fidelity, extremely low distortion, wide dispersion and a smooth power response. The range also shares consistent voicing, ensuring seamless sonic integration when used together throughout a space.
The Surface-Mount Speakers feature Sonance’s FastMount® bracket and front cable connection to speed up the installation process and provide a clean appearance. Available in 4”, 5.25”, 6.5” and 8” 2-Way and 8” Woofer in either black or white.
BOX & CONTENTS
2-WAY SPEAKERS
- (2) PS-S43T, or PS-S53T, or PS-S63T, or PS-S83T
- (2) Speaker Grille
- (2) FastMount Brackets
- (2) Wiring Terminal Covers
- (4) Grille Retention Screws
WOOFER
- (1) PS-S83WT
- (1) Speaker Grille
- (1) FastMount Bracket
- (1) Wiring Terminal Cover
- (2) Grille Retention Screws
PRODUCT FEATURES

AMPLIFIER SELECTION
When choosing an amplifier the maximum number of speakers and the output level of each speaker must be known. The sum of the tap settings should never exceed 80% of the amplifier’s rated output. For example, if there are 5 speakers and the taps are set at 15 watts, the load would be 75 watts (5 x 15 watts = 75 watts). To arrive at the needed power for this number of speakers, simply divide the total load by .8. In this case, 75 / .8 = 93.75 watts. Therefore, a standard 100 watt amp would safely drive this load. To calculate the amount of usable power an amp offers, simply multiply the rated output by .8, i.e., 100 watts x .8= 80 watts.
WIRE GAUGE – 70V/100V SYSTEM
The most common wire used on commercial 70 volt systems is 18 gauge, 2 conductor, stranded, and jacketed without a shield. The wire starts at the amplifier location and is paralleled at each speaker location.
Wire length using 18 gauge is appropriate up to 700 feet with a 100 watt load. If you double the load (sum of your tap settings), you will reduce the footage by half, to 350 feet. Conversely, if you halve the load, you may double the acceptable wire length, i.e., a 50 watt load is safe over 1400 feet of 18 gauge. Stepping up to 16 gauge wire extends the allowable run length by approximately 35%. For example, a 100 watt load can go 700 feet on 18 gauge; the same load may be placed on 1100 feet of 16 gauge.
WIRE GAUGE – 8 OHM SYSTEM
When using Sonance Professional Series loudspeakers in an 8 ohm system the total wire resistance should be less than 10% of the speaker impedance. The speakers are nominally 8 ohms impedance, so your total wire resistance should be no more than 0.8 ohms.
In simple terms, the extra resistance from the wire will have a very negative affect on the sound quality of the speaker. The sound can be less dynamic, definition of bass frequencies can be reduced, and in extreme cases, the high frequencies can be attenuated. Amplifier power is also wasted in the wire, reducing the maximum output level of the system.
Please refer to the following chart (see figure 1) when deciding on the appropriate wire gauge for your installation.

SPEAKER PLACEMENT
Sonance Professional Series speakers possess extremely smooth and predictable off-axis frequency response. The FastMount mounting system makes it easy to mount the speakers in a variety of positions and locations (see figure 2 and 3):
WALL/CEILING MOUNTING

It is important that the bracket is securely mounted onto a structurally sound surface, capable of withstanding the weight of the product and any vibration created by the operation of the speaker. Four screws points must be used at all times. A screw size of #14 to #20 diameter x 2” length or M6 to M8 diameter x 50mm length is recommended. When mounting onto drywall or plasterboard, the bracket should be affixed to a joist or stud. When mounting onto brick or concrete, wall plugs or concrete anchors should be used.
POLE MOUNTING
To mount the speaker on a pole, 2 x U-bolts and nuts should be used to clamp around the pole and bolt through the 4 holes on the back of the FastMount bracket. Spring washers or blue thread lock are recommended to ensure the nuts do not work loose through the vibration of the speaker.

PIVOTING THE SPEAKERS
You can rotate the speaker in the bracket to direct the sound towards the listeners.
- Unlock the slide locks on the speaker pivots by moving them towards the rear of the speaker (see figure 4).
- Rotate the speakers to the desired position.
- Lock the slide locks by moving them towards the front of the speaker.

PAINTING THE GRILLES & SPEAKER SHELL
Sonance Professional Series Surface Mount speakers feature a tough polypropylene enclosure that can be painted. Sonance recommends using a weather-resistant outdoor paint and a spray gun.
- If they have already been installed, remove the grilles from the speakers.
- To protect the speaker driver units during painting, place the grilles on a piece of cardboard and trace around their outlines. Then cut the cardboard just inside of the trace line and fit these “paint plugs” into the speakers’ baffles. (Be careful not to damage the driver components while fitting the paint plugs.)
- Paint the speakers the desired color according to the paint manufacturer’s instructions. Remove the paint plugs after the paint has thoroughly dried.
- Paint the grille separately from the speaker using very thin paint (5:1 ratio). Avoid plugging the grille holes with excess paint.
INSTALLING THE SPEAKERS
The best performance is obtained by placing the left and right speakers at ear level, 6 – 10 feet apart. The speakers should be facing the listeners. If you are mounting the speakers above or below ear level, pivot them up or down to direct the sound towards the listeners.

- Remove the speakers from the mounting brackets by pulling the tabs on the front panels away from each other (see figure 6).

- Run the speaker wires from the amplifier to the speaker locations and through the holes in the mounting brackets.
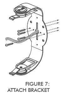
NOTE: BE SURE TO LEAVE ENOUGH WIRE AT THE SPEAKER LOCATION TO FEED THROUGH THE TUNNEL IN THE SPEAKER ENCLOSURE AND WIRE TO THE EUROBLOCK CONNECTOR ON THE FRONT. - Attach the mounting bracket to the mounting surface using hardware (not included) that is appropriate for the type of surface (see figure 7).

- If the installation requires that the speakers be mounted on poles you can attach the bracket to poles using 2.5” U-bolts (not included, see figure 8).

- Feed the speaker wires from the brackets into the wire entry grommets on the backs of the speakers, through the wire tunnels and out the openings on the speakers’ front panels (see figure 9).
- The grommet forms a water-resistant seal around the speaker wire.
- Make sure there is enough slack in the wire to allow the speaker to pivot on the bracket.

- Slide the speakers onto the brackets until the locks snap into place (see figure10).
- Pull enough wire through the front of the speaker to allow connection to the terminals.

- Pull enough wire through the front of the speaker to allow connection to the terminals.
- Connect the wires from your amplifier to the input connector (see figure 11).

- Strip approximately .1875” (5mm) of the insulation off each wire. Insert the wire into the correct square opening on the connector. Use a small flat head screwdriver to tighten the corresponding screw to secure the wire (see figure 12).

- Pin 1 + Positive In
- Pin 2 – Negative In
- Pin 3 + Positive Out
- Pin 4 – Negative Out
When using multiple speakers you can connect the speakers either in parallel or in the loop through method as shown (see figure 13 & 14).

- Determine the proper wattage setting for each speaker in the installation and set each speaker’s transformer tap selector (see figure 15).

- Fit the wiring terminal covers into the recesses in the speakers’ front panels (see figure 16).
- The covers should fit tightly, but can be removed and replaced if the speakers need to be disconnected.

- The covers should fit tightly, but can be removed and replaced if the speakers need to be disconnected.
- Fit the grilles onto the speakers (see figure 17).
- Install the grille retention screws (see figure 18)

PS-S43T TECHNICAL SPECIFICATIONS
LOUDSPEAKER
- Frequency Range (-10dB): 57Hz – 25kHz
- Frequency Range (-3dB): 75Hz – 20kHz
- Power Capacity: 60 Watts Continuous Program Power 30 Watts Continuous Pink Noise
- Nominal Sensitivity: 87dB
- Nominal Coverage Angle: 90 degrees x 90 degrees coverage
- Directivity Factor (Q): 7.6
- Directivity (DI): 8.1dB
- Rated Maximum SPL: 105dB @ 1 meter (3.3 feet) average, 110dB peak
- Rated Impedance: 8 ohms nominal, 6 ohms minimum
- Transformer Taps: 70V: 30W, 15W, 7.5W and 3.8W 100V: 30W, 15W and 7.5W
- Crossover Point: 3000Hz
- Overall Dimension: 9.25” Height x 5.47” Width x 4.8” Depth (235mm x 139mm x 122mm)
- Net Weight: 6.79 lbs (3.08kg) each
- Shipping Weight: 19 lbs (8.62kg) pair
- Unit of Measure: Pair
- Color: Black or White
- Grille: Powder Coated Aluminum, Friction Fit
TRANSDUCERS LF
Driver: 4” (100mm) Polypropylene Cone, Butyl Rubber Surround
HF Driver: 1” (25mm) Cloth Dome, Ferrofluid cooled
ENCLOSURE
Input Connectors: Front-mounted four pin, Euroblock with loop output connections
Safety Agency: UL 1480, NFPA 70
Mounting Bracket: U-Bracket with Sonance FastMount
Environmental & UV: Conforms to MIL-STD-810 for humidity, salt spray, temperature, IEC 529 IPX4 splash-proof rating
Included Accessories
- Euroblock Connector x 2
- FastMount Bracket x 2
- Terminal Cover x 2
- Grille x 2
Optional Accessories
- Replacement Grille White (pair) | 40164
- Replacement Grille Black (pair) | 40168
PS-S53T TECHNICAL SPECIFICATIONS
LOUDSPEAKER
- Frequency Range (-10dB): 43Hz – 25kHz
- Frequency Range (-3dB): 70Hz – 20kHz
- Power Capacity: 90 Watts Continuous Program Power 45 Watts Continuous Pink Noise
- Nominal Sensitivity: 88dB
- Nominal Coverage Angle: 90 degrees x 90 degrees coverage
- Directivity Factor (Q): 7.0
- Directivity (DI): 8.0dB
- Rated Maximum SPL: 106dB @ 1 meter (3.3 feet) average, 113dB peak
- Rated Impedance: 8 ohms nominal, 6 ohms minimum
- Transformer Taps: 70V: 30W, 15W, 7.5W and 3.8W 100V: 30W, 15W and 7.5W
- Crossover Point: 2750Hz
- Overall Dimension: 10.08” Height x 6.36” Width x 5.68” Depth (256mm x 162mm x 144mm)
- Net Weight: 8.68 lbs (3.94kg) each
- Shipping Weight: 23.93 lbs (10.85kg) pair
- Unit of Measure: Pair
- Color: Black or White
- Grille: Powder Coated Aluminum Friction Fit
TRANSDUCERS
LF Driver: 5.25” (130mm) Polypropylene Cone, Butyl Rubber Surround
HF Driver: 1” (25mm) Cloth Dome, Ferrofluid cooled
ENCLOSURE
Input Connectors: Front-mounted four pin, Euroblock with loop output connections
Safety Agency: UL 1480, NFPA 70
Mounting Bracket: U-Bracket with Sonance FastMount
Environmental & UV: Conforms to MIL-STD-810 for humidity, salt spray,temperature, IEC 529 IPX4 splash-proof rating
Included Accessories
- Euroblock Connector x 2
- FastMount Bracket x 2
- Terminal Cover x 2
- Grille x 2
- Grille Retention Screws x 4
Optional Accessories
- Replacement Grille White (pair) | 93162
- Replacement Grille Black (pair) | 93163
PS-S63T TECHNICAL SPECIFICATIONS
LOUDSPEAKER
- Frequency Range (-10dB): 49Hz – 25kHz
- Frequency Range (-3dB): 65Hz – 20kHz
- Power Capacity: 120 Watts Continuous Program Power 60 Watts Continuous Pink Noise
- Nominal Sensitivity: 88dB
- Nominal Coverage Angle: 90 degrees x 90 degrees coverage
- Directivity Factor (Q): 6.5
- Directivity (DI): 7.9dB
- Rated Maximum SPL: 108dB @ 1 meter (3.3 feet) average, 116dB peak
- Rated Impedance: 8 ohms nominal, 6 ohms minimum
- Transformer Taps: 70V: 60W, 30W, 15W and 7.5W 100V: 60W, 30W and 15W
- Crossover Point: 2750Hz
- Overall Dimension: 12.14” Height x 7.51” Width x 6.86” Depth (308mm x 191mm x 174mm)
- Net Weight: 11.43 lbs (5.18kg) each
- Shipping Weight: 31.26 lbs (14.18kg) pair
- Unit of Measure: Pair
- Color: Black or White
- Grille: Powder Coated Aluminum Friction Fit
TRANSDUCERS
LF Driver: 6.5” (165mm) Polypropylene Cone, Butyl Rubber Surround
HF Driver: 1” (25mm) Cloth Dome, Ferrofluid cooled
ENCLOSURE
- Input Connectors: Front-mounted four pin, Euroblock with loop output connections
- Safety Agency: UL 1480, NFPA 70
- Mounting Bracket: U-Bracket with Sonance FastMount
- Environmental & UV: Conforms to MIL-STD-810 for humidity, salt spray, temperature, IEC 529 IPX4 splash-proof rating
ENCLOSURE
- Input Connectors: Front-mounted four pin, Euroblock with loop output connections
- Safety Agency: UL 1480, NFPA 70
- Mounting Bracket: U-Bracket with Sonance FastMount
- Environmental & UV: Conforms to MIL-STD-810 for humidity, salt spray, temperature, IEC 529 IPX4 splash-proof rating
Included Accessories
- Euroblock Connector x 2
- FastMount Bracket x 2
- Terminal Cover x 2
- Grille x 2
- Grille Retention Screws x 4
Optional Accessories
- Replacement Grille White (pair) | 93164
- Replacement Grille Black (pair) | 93165
PS-S83T TECHNICAL SPECIFICATIONS
LOUDSPEAKER
- Frequency Range (-10dB): 41Hz – 25kHz
- Frequency Range (-3dB): 55Hz – 20kHz
- Power Capacity: 160 Watts Continuous Program Power 80 Watts Continuous Pink Noise
- Nominal Sensitivity: 90dB
- Nominal Coverage Angle: 90 degrees x 90 degrees coverage
- Directivity Factor (Q): 7.6
- Directivity (DI): 8.1dB
- Rated Maximum SPL: 110dB @ 1 meter (3.3 feet) average, 116dB peak
- Rated Impedance: 8 ohms nominal, 6 ohms minimum
- Transformer Taps: 70V: 60W, 30W, 15W and 7.5W 100V: 60W, 30W and 15W
- Crossover Point: 2750Hz
- Overall Dimension: 14.02” Height x 9.01” Width x 8.58” Depth (356mm x 229mm x 218mm)
- Net Weight: 14.72 lbs (6.68kg) each
- Shipping Weight: 42.23 lbs (19.16kg) pair
- Unit of Measure: Pair
- Color: Black or White
- Grille: Powder Coated Aluminum Friction Fit
TRANSDUCERS
- LF Driver: 8” (203mm) Polypropylene Cone, Butyl Rubber Surround
- HF Driver: 1” (25mm) Cloth Dome, Ferrofluid cooled
ENCLOSURE
- Input Connectors: Front-mounted four pin, Euroblock with loop output connections
- Safety Agency: UL 1480, NFPA 70
- Mounting Bracket: U-Bracket with Sonance FastMount
- Environmental & UV: Conforms to MIL-STD-810 for humidity, salt spray,temperature, IEC 529 IPX4 splash-proof rating
Included Accessories
- Euroblock Connector x 2
- FastMount Bracket x 2
- Terminal Cover x 2
- Grille x 2
Optional Accessories
- Replacement Grille White (pair) | 93166
- Replacement Grille Black (pair) | 93167
PS-S83WT TECHNICAL SPECIFICATIONS
LOUDSPEAKER
- Frequency Range (-10dB): 32Hz – 300Hz
- Frequency Range (-3dB): 50Hz – 150Hz
- Power Capacity: 200 Watts Continuous Program Power 125 Watts Continuous Pink Noise
- Nominal Sensitivity: 89dB
- Nominal Coverage Angle: 180 degrees x 180 degrees coverage
- Directivity Factor (Q): N/A
- Directivity (DI): N/A
- Rated Maximum SPL: 110dB @ 1 meter (3.3 feet) average, 116dB peak
- Rated Impedance: 8 ohms nominal, 6 ohms minimum
- Transformer Taps: 70V: 120W, 60W, 30W and 15W 100V: 120W, 60W and 30W
- Crossover Point: 150Hz
- Overall Dimension: 14.02” Height x 9.01” Width x 8.58” Depth (356mm x 229mm x 218mm)
- Net Weight: 16.08 lbs (7.62kg) each
- Shipping Weight: 21.49 lbs (9.75kg) each
- Unit of Measure: Each
- Color: Black or White
- Grille: Powder Coated Aluminum Friction Fit
TRANSDUCERS
- LF Driver: 8” (203mm) Polypropylene Cone, Butyl Rubber Surround
- HF Driver: N/A
ENCLOSURE
- Input Connectors: Front-mounted four pin, Euroblock with loop output connections
- Safety Agency: UL 1480, NFPA 70
- Mounting Bracket: U-Bracket with Sonance FastMount
- Environmental & UV: Conforms to MIL-STD-810 for humidity, salt spray, temperature, IEC 529 IPX4 splash-proof rating
Included Accessories
- Euroblock Connector x 1
- FastMount Bracket x 1
- Terminal Cover x 1
- Grille x 1
- Grille Retention Screws x 2
Optional Accessories
- Replacement Grille White (pair) | 93166
- Replacement Grille Black (pair) | 93167
CERTIFICATIONS
SONANCE | PROFESSIONAL SERIES 12 SURFACE MOUNT | INSTALLATION MANUAL SAFETY AGENCY COMPLIANCE
Sonance Professional Series loudspeakers models PS-S43T, PS-S53T,PS-S63T, PS-S83T & PS-S83WT meet the following standards:
UL 1480: Listed Standard For Safety For Speakers for Fire Alarm, Emergency, and Commercial and Professional Use.
NFPA 70: 2002 National Electrical Code
ENVIRONMENTAL AND UV: Conforms to Mil Spec 810 for humidity, salt spray, temperature, IEC 529 IP-X4 splash-proof rating.
TECHNICAL ASSISTANCE AND SERVICE
The Technical Assistance Department at Sonance is available at (949) 492-7777 to answer any questions concerning the operation and installation of your speakers between the hours of 7:00 AM and 5:00 PM Pacific time, Monday through Friday, except holidays.
In the event your unit should need repair or service, you may return the unit to your authorized dealer or use the following guidelines:
PLEASE KEEP ORIGINAL PACKAGING WHEN POSSIBLE.
- Be prepared to state the model number and / or serial number, date of purchase, and dealer’s name and address when calling.
- Contact Sonance directly at (949) 492-7777 or at www.sonance.com YOU MUST HAVE PRIOR AUTHORIZATION TO RETURN YOUR UNIT.
- If you are returning the product directly to Sonance, call us to obtain a return authorization number before shipping.
- Ship the product via United Parcel Service, Federal Express, or other package delivery service. Please do not use the U.S. Postal Service.
- Write the return authorization number on the outside of the box.
- Ship to:
Attn: Quality Assurance Department
Sonance
991 Calle Amanecer
San Clemente, CA 92673
WARRANTY, REMEDY, EXCLUSIONS AND LIMITATIONS (U.S. ONLY)
Limited Warranty
Sonance warrants this product to the original purchaser to be free from defects in material and workmanship, under normal use and conditions, for a period of five (5) years from the date of original purchase as shown on the invoice. Sonance will at its option and expense during the warranty period, either repair the defect or replace the Product with a new or remanufactured Product or a reasonable equivalent.
The foregoing exclusive warranty gives you specific legal rights, and you may have other rights, which vary from state to state. This warranty
applies exclusively to the original purchaser.
The exclusive warranty does not apply and is ineffective if:
- The invoice fails to establish that the product was purchased from an authorized Sonance dealer or distributor;
- The product was subjected to misuse, neglect, accident, or improper installation.
[Damage to the product was caused by accident, abuse, or misuse]; - The product was modified, altered, or repaired by unauthorized personnel; or
- The unit was not used as described in the installation and operating instructions.
Exclusive Remedy
Sonance agrees, at its option during the five (5) year warranty period, to repair any defect in material or workmanship or to furnish an equal product in exchange without charge to the purchaser, subject to verification of the defect and proof of the date of purchase. Exclusions
TO THE EXTENT PERMITTED BY LAW, THE WARRANTY SET FORTH ABOVE IS IN LIEU OF, AND EXCLUSIVE OF, ALL OTHER WARRANTIES, EXPRESS
OR IMPLIED, AND IS THE SOLE AND EXCLUSIVE WARRANTY PROVIDED BY SONANCE. ALL OTHER EXPRESS AND IMPLIED WARRANTIES,
INCLUDING THE IMPLIED WARRANTIES OF MERCHANTABILITY, IMPLIED WARRANTY OF FITNESS FOR USE, AND IMPLIED WARRANTY OF FITNESS FOR A PARTICULAR PURPOSE ARE SPECIFICALLY EXCLUDED.
No one is authorized to make or modify any warranties on behalf of Sonance. The warranty stated above is the sole and exclusive remedy and Sonance’s performance shall constitute full and final satisfaction of all obligations, liabilities and claims with respect to the Product.
IN ANY EVENT, SONANCE SHALL NOT BE LIABLE FOR CONSEQUENTIAL, INCIDENTAL, ECONOMIC, PROPERTY, BODILY INJURY, OR PERSONAL INJURY DAMAGES ARISING FROM THE PRODUCT, ANY BREACH OF THIS WARRANTY OR OTHERWISE. This warranty statement gives you specific legal rights, and you may have other rights which vary from state to state. Some states do not allow the exclusion of implied warranties or limitations of remedies, so the above exclusions and limitations may not apply. If your state does not
allow disclaimer of implied warranties, the duration of such implied warranties is limited to period of Sonance’s express warranty.
Warranty Exclusions and Damage Limitations
Additional Limitations and Exclusions from Warranty Coverage: The warranty described above is non-transferable, applies only to the initial installation of the Product, does not include installation of any repaired or replaced Product, does not include damage to allied or associated equipment which may result for any reason from use with this Product, and does not include labor or parts caused by accident, disaster, negligence, improper installation, misuse (e.g. overdriving the amplifier or speaker, excessive heat or cold or humidity, outdoor installation), or from service or repair which has not been authorized by Sonance.
Obtaining Authorized Service: To qualify for the warranty, you must contact your authorized Sonance Dealer/Installer or call Sonance Customer Service at (949) 492-7777 within the warranty period, must obtain a return merchandise number (RMA), and must deliver the Product to Sonance shipping prepaid during the warranty period, together with the original sales receipt, or invoice or other satisfactory proof of purchase.
©2017 Sonance. All rights reserved. Sonance and FastMount are registered trademarks of Dana Innovations.
Due to continuous product improvement, all features and specifications are subject to change without notice.
For the latest Sonance product specification information visit our website: www.sonance.com
SONANCE • 991 Calle Amanecer • San Clemente, CA 92673 USA
(949) 492-7777 • FAX: (949) 361-5151
www.sonance.com/professionalseries































