Safety instructions
Electrical equipment may only be installed and assembled by a qualifi ed electrician. Always follow the relevant accident prevention regulations of the country.
Failure to comply with these installation instructions may result in damage to the device, fire or other hazards.
When installing and laying cables, always comply with the applicable regulations and standards for SELV electrical circuits.
These instructions are an integral component of the product and must be retained by the end user.
Design and layout of the device
Figure 1: Front view of push-button 4gang
- Operation LED
- Buttons (number dependent on the variant)

Figure 2: Side view of push-button 4gang - Status LED
- Fastening clamps
- User interface (AST)
Function
System information
This device is a product of the KNX system and corresponds to the KNX guidelines. Detailed specialized knowledge obtained from KNX training courses is required for understanding. The planning, installation, and commissioning are carried out with the help of KNX-certifi ed software.
system link start-up
The function of the device is software-depend-
ent. The software is to be taken from the product database. You can find the latest version of the product database, technical descriptions as well as conversion and additional support programs on our website.
easy link start-up
The function of the device is configuration-dependent. The configuration can also be done using devices developed especially for simple settings and start-up.
This type of configuration is only possible with devices of the easy link system. easy link stands for an easy, visually supported start-up. Preconfigured standard functions are assigned to the in/outputs by means of a service module.
Correct use
- Operation of consumers, e.g. light on/off, dim-ming, blind up/down, saving and opening light scenes, etc.
- Installation on bus application unit, flush-mounted
Product characteristics
- Start-up and programming in S-mode and
E- mode - Push-button functions: switching/dimming, blind control, value transmitter, scene call-up, specifi -cation of the heating operating mode, forced control, stepping switch
- Two status LEDs per push-button
- The function and color of the status LEDs are configurable for the device
- A white operation LED
Operation
The functions of the buttons, their operation, and the activation of the loads can be adjusted individually for each device.
There are two operating modes:
- Single-surface operation:
Switching lighting on/off or dimming brighter/darker is carried out alternately by repeatedly touching a button. - Two-surface operation:
Two adjacent buttons form a functioning pair. For example, touching the left-hand surface switches/dims lighting on/makes it brighter, and touching the right-hand surface switches it off /makes it darker.
Operating a function or load
Loads, such as lighting, blinds, etc., are operated using the touch surfaces, which are dependent on the device programming.
- Press a button.
- The stored function is executed.
- The actuation pulse lasts for the duration of the actuation. Depending on the function, short and long touches can trigger diff erent actions, e.g. switching/dimming.
Information for electricians
Installation and electrical connection
DANGER!
Touching live parts in the installation environment can result in an electric shock.
An electric shock can be lethal!
Disconnect the connecting cables before working on the device and cover all live parts in the area!
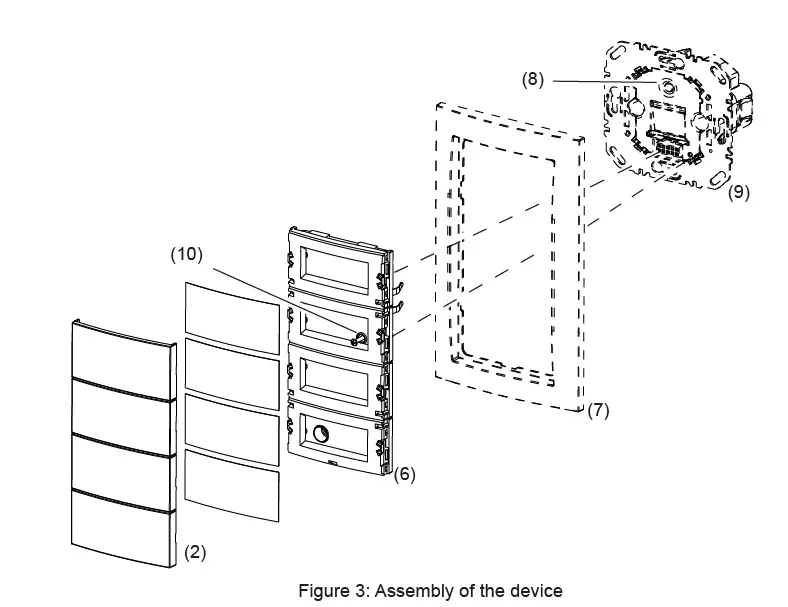
Connecting and installing the device (figure 3)
The bus application unit is mounted and connected to the KNX bus and installed in a wall box.
- (2) Push-button with labelling fi eld inlay
- (6) Push-button
- (7) Frame (not within scope of delivery)
- (8) Illuminated programming button
- (9) Bus application unit, fl ush-mounted (not within scope of delivery)
- (10) Screw for dismantling protection
- Mount push-button (6) with design frame (7) onto the bus application unit (9) until the fastening clamps lock into place, while doing so straightly insert contact pins of the module into the user interface (5).
Both devices are interconnected electrically via the application interface AST. - Fix dismantling protection with screw (10) if desired.
- Mount push-buttons with labeling field inlay (2) onto the push-button
Dismantling
- Loosen screw for dismantling protection (10).
- Remove push-button from bus application unit (9).
Start-up
system link – Load application software
Since the application software is loaded into the bus application unit, it is possible to already load the application software and assign the physical address of the bus application unit together. If this has not taken place, it is also possible to program later.
- Load application software into the device.
- The loading of non-compatible application software is indicated by the red flashing of the status LEDs (3).
- Mount push-button.
easy link
Note: The device must be mounted on the bus application unit for the E mode start-up.
Information on the system confi guration can be taken from the extensive description of the service module easy link.
Appendix
Technical data
- KNX Medium TP 1
- Start-up mode system link, easy link
- Rated voltage KNX DC 21 … 32 V SELV
- Current consumption KNX typ. 20 mA
- Power consumption typ. 150 mW
- Connection mode KNX user interface (AST)
- Degree of protection IP20
- Protection class III
- Operating temperature -5 … +45 °C
- Storage/transport temperature –20 … +70 °C
Troubleshooting
Bus operation is not possible.
Cause: Push-button does not match the programmed bus application unit. All status LEDs are fl ashing red.
Replace the push-button module or reprogram the bus application unit.
Accessories
- Bus application unit, flush-mounted 8004 00 01
- Labeling fi eld inlay Q.x 9498 xx xx
Warranty
We reserve the right to make technical and formal changes to the product in the interest of technical progress.
Our products are under guarantee within the scope of the statutory provisions.
If you have a warranty claim, please contact the point of sale or ship the device postage free with a description of the fault to the appropriate regional representative.

















