CRYSTORAMA 5264-EB-CL-MWP Mercer Seven Light Chandelier
ASSEMBLY INSTRUCTION
WARNING:
All electrical components must be installed by a licensed electrician in accordance with the National Electric Code and the appropriate local electrical codes
You will need 6- Candelabra Base Bulb and 1-Medium Base Bulb. 40 Watts recommended 60 Watts Max. USE LED BULBS FOR EXTENDED USE The fixture is Damp rated
HOW TO INSTALL
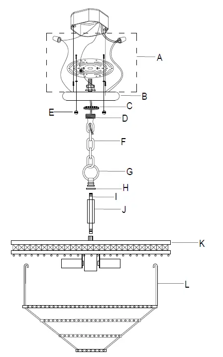
Place the fixture parts on a soft cloth-covered platform before installation of fixture.
For Hanging:
- Lock the threaded nipple into the coupling of the fixture body then put the rod and the check ring onto the threaded nipple and lock them with the fixture loop.
- Hang the basket ring on the crossbar of the fixture body using the hooks attached to the basket ring.
- Install the mounting plate onto the outlet box.
- Decide the desired hanging height and adjust the chain to the correct length.
- Raise the fixture up and do the wire connection. Attach the canopy over the mounting plate and secure with ball nuts.
- Dress the crystals as illustrated.

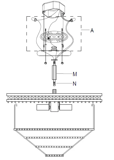
For Ceiling:
- Same installation step#1 and #2 as above for the hanging.
- Remove the fixture loop from the fixture body and the loop from the ceiling canopy. Place the canopy over the top of the fixture body and secure with the ball nuts.
- Dress the crystals as illustrated.

WARNING:This product can expose you to Lead, which is known to the State of California to cause cancer and/or birth defects or reproductive harm.For more information go to www.p65warnings.ca.gov
Product Information: – Model: #5264-EB-CL-MWP –
Manufacturer: Crystorama
- Part Numbers:
- For Hanging:
- Canopy (W6xH1.4): XSN5264EBCAN6IN
- Collar Ring: Not specified
- Collar Loop: XSN5264EBLOOP
- Ball nut: XSN5264EBBANUT (2 pieces
- Chain (4mmx72): XSN5264EBCHA4MM
- Fixture Loop: Not specified
- Check ring: Not specified
- Threaded nipple; H5: Not specified
- Rod ; H5: XSN5264EBROD5IN
- Conversion kit For Ceiling:
- Rod ; H3 1/4: XSN5264EBROD3.25IN
- Threaded nipple; H3 3/8: Not specified
- Electrical Requirements:
- 6 Candelabra Base Bulbs (40 Watts recommended, 60 Watts Max)
- 1 Medium Base Bulb (40 Watts recommended, 60 Watts Max)
- LED bulbs are recommended for extended use

- For Hanging:
- Safety:
- All electrical components must be installed by a licensed electrician in accordance with the National Electric Code and the appropriate local electrical codes.
- This product can expose you to Lead, which is known to the State of California to cause cancer and/or birth defects or reproductive harm. For more information, go to www.p65warnings.ca.gov.
- Rating:
- Damp rated fixture
Product Usage Instructions
- For Hanging:
- Lock the threaded nipple into the coupling of the fixture body.
- Put the rod and the check ring onto the threaded nipple and lock them with the fixture loop.
- Hang the basket ring on the crossbar of the fixture body using the hooks attached to the basket ring.
- Install the mounting plate onto the outlet box.
- Decide the desired hanging height and adjust the chain to the correct length.
- Raise the fixture up and do the wire connection.
- Attach the canopy over the mounting plate and secure with ball nuts.
- Dress the crystals as illustrated.
- For Ceiling:
- Follow installation steps 1 and 2 as mentioned above for hanging.
- Remove the fixture loop from the fixture body and the loop from the ceiling canopy.
- Place the canopy over the top of the fixture body and secure with ball nuts.
- Dress the crystals as illustrated.

Note: It is important to read and follow all safety instructions provided in the user manual before installing or using the product.

















