THERMOROSSI Moma Fireplace
INSTRUCTIONS VALID ONLY FOR MOMA
INTRODUCTION
GENERAL GUIDELINES
We recommend cleaning the casings with a dry microfibre cloth when the appliance is OFF and completely cooled down.
Thermorossi S.p.A. retains copyright on theses service instructions. These instructions may not be reproduced or communicated to third parties or used in any other way without the necessary authorisation
TRANSPORTATION AND STORAGE
TRANSPORTATION AND HANDLING
Take special care to protect all the fragile parts from mechanical impact which could damage them.
STORAGE
The casing must be stored in a humid-free environment and sheltered from the weather; avoid placing the casing directly on the ground. The company is not responsible for damages caused by negligence.
COMPONENTS

The kit includes the following elements:
| B – D – I | Protective cardboard |
| C – E | Side |
| F | Upper side cast iron elements |
| G | Lower cast iron element |
| H | Calendered profile |
| L | Middle upper cast iron element |
Attention: The casings are delicate and must be handled with extreme care. Wear soft cotton gloves. Clean with soft dry micro fibre cloths for delicate surfaces such as lenses or glasses.
ASSEMBLING THE CASING
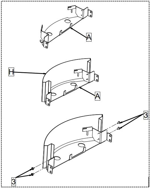
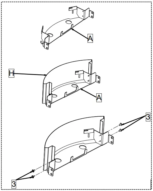
- Undo the 4 screws (1) and remove the lower bracket (2) present on the appliance and dispose of it

- Fix the calendered profile (H) with the 4 screws (3) provided in the kit

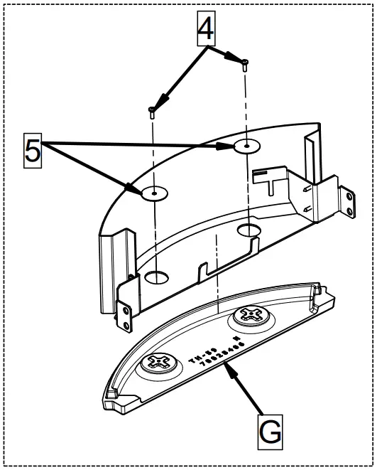
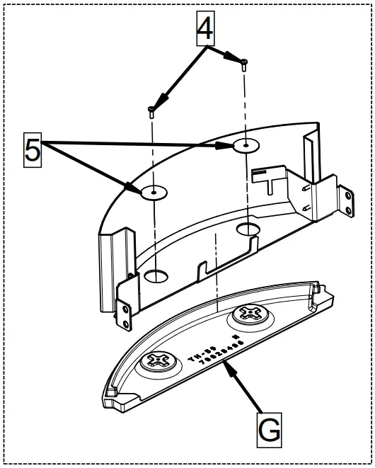
- Fix the lower cast iron element (G) to the lower bracket (A) just assembled, using the 2 screws (4) and the 2 washers (5).

- Fix the assembly just created to the appliance using the previously removed screws (1).

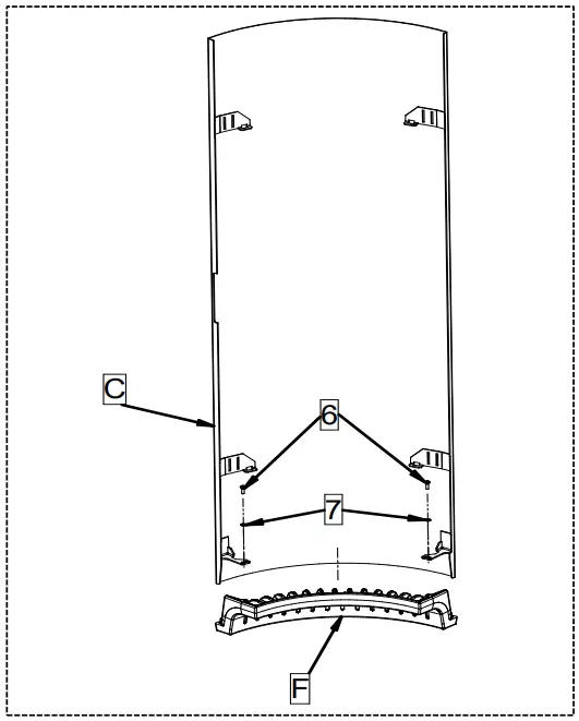
- Fix the upper side cast iron element (F) to the side panel (C) with the screws (6) and washers (7) provided in the kit. Carry out the same operation on the opposite side.

- Insert the side panel just created into the dedicated tabs provided on the appliance (see details). Carry out the same operation on the opposite side.

- Remove the pellet loading tray and loosen the 3 screws (8) underneath as shown in the detail.
ATTENTION: If your appliance has a NATURAL body do not carry out this operation; start directly from point 9
- Insert the middle upper cast iron element (L) in the interspace just created and, if necessary, tighten the previously loosened screws (8).
ATTENTION: If your appliance has a NATURAL body do not carry out this operation; start directly from point 9.
- Loosen the 3 screws (9) present at the top of the appliance.
ATTENTION: This operation is only to be carried out on appliances with a NATURAL body.
- Insert the middle upper cast iron element (L) in the interspace just created.
ATTENTION: This operation is only to be carried out on appliances with a NATURAL body.
SPARE PARTS

INSTRUCTIONS VALID ONLY FOR MOMA SUPREME
INTRODUCTION
GENERAL GUIDELINES
We recommend cleaning the casings with a dry microfibre cloth when the appliance is OFF and completely cooled down.
Thermorossi S.p.A. retains copyright on theses service instructions. These instructions may not be reproduced or communicated to third parties or used in any other way without the necessary authorisation.
TRANSPORTATION AND STORAGE
TRANSPORTATION AND HANDLING
Take special care to protect all the fragile parts from mechanical impact which could damage them.
STORAGE
The casing must be stored in a humid-free environment and sheltered from the weather; avoid placing the casing directly on the ground. The company is not responsible for damages caused by negligence.
COMPONENTS

The kit includes the following elements:
| B – D – I | Protective cardboard |
| C – E | Side |
| F | Upper side cast iron elements |
| G | Lower cast iron element |
| H | Calendered profile |
| L | Middle upper cast iron element |
| M | Cast-iron oven surface (only for air products) |
| N | Non-structural profile (only for model PAIRPLUS 13) |
Attention: The casings are delicate and must be handled with extreme care. Wear soft cotton gloves. Clean with soft dry microfibre cloths for delicate surfaces such as lenses or glasses.
ASSEMBLING THE CASING
- Undo the 4 screws (1) and remove the lower bracket (2) present on the appliance and dispose of it.

- Fix the calendered profile (H) with the 4 screws (3) provided in the kit on the lower bracket (2) just removed

- Fix the lower cast iron element (G) to the lower bracket (A) just assembled, using the 2 screws (4) and the 2 washers (5).

- Fix the assembly just created to the appliance using the previously removed screws (1).

- Fix the upper side cast iron element (F) to the side panel (C) with the screws (6) and washers (7) provided in the kit. Carry out the same operation on the opposite side.

- Insert the side panel just created into the dedicated tabs provided on the appliance (see details). Carry out the same operation on the opposite side.

- Remove the pellet loading tray and loosen the 3 screws (8) underneath as shown in the detail.
ATTENTION: If your appliance has a NATURAL body do not carry out this operation; start directly from point 9
- Insert the middle upper cast iron element (L) in the interspace just created and, if necessary, tighten the previously loosened screws (8).
ATTENTION: If your appliance has a NATURAL body do not carry out this operation; start directly from point 9
- Loosen the 3 screws (9) present at the top of the appliance.
ATTENTION: This operation is only to be carried out on appliances with a NATURAL body.
- Insert the middle upper cast iron element (L) in the interspace just created.
ATTENTION: This operation is only to be carried out on appliances with a NATURAL body.
- Fix the cast-iron oven surface (M) using screws (9) and washers (10) as indicated in the figure. Install the non-structural profile (N) (only for model PAIRPLUS 13).
ATTENTION: Carry out this operation only for air appliances,
SPARE PARTS









































