Installation, use and maintenance guide
CASING CHIC – CHIC SUPREME 
CHIC – CHIC SUPREME
INSTALLATION GUIDE.
INSTRUCTIONS VALID ONLY FOR CHIC
INTRODUCTION
1.1 GENERAL GUIDELINES
ATTENTION: The majolica elements are handcrafted so they could contain subtle surface imperfections, and crazing or shade variations. The layer of glaze has an expansion factor that is different from that of the majolica tiles which is what causes the hairline cracks. This phenomenon is a natural process and is not a defect. We recommend cleaning the majolica tiles with a dry microfibre cloth. Using moist or wet cleaning cloths would show up the natural crazing even more.
Thermorossi S.p.A. retains copyright on these service instructions. These instructions may not be reproduced or communicated to third parties or used in any other way without the necessary authorization.
1.2 TRANSPORTATION AND STORAGE
TRANSPORTATION AND HANDLING
Take special care to protect all the fragile parts from mechanical impact which could damage them.
STORAGE
The casing must be stored in a humid-free environment and sheltered from the weather; avoid placing the casing directly on the ground. The company is not responsible for damages caused by negligence.
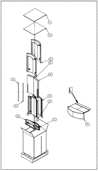
COMPONENTS

The kit includes the following elements:
| A – B | Protective polystyrene |
| C | Upperside panels |
| D | Protective cardboard |
| E | Lower side panels |
| F | Upper majolica |
| G | Lower majolica |
| H | Support bracket |
| I-L-M-N | Compensating profiles |
Attention: The majolica elements are delicate and must be handled with extreme care. Use soft cotton gloves when handling them. Clean with soft dry microfibre cloths for delicate surfaces such as lenses or glasses.
ASSEMBLING THE CASING
![]() | |
| 1 – Fasten the support bracket (H) to the hole (3) using the screw (1) and nut (2). ATTENTION: If your appliance has a NATURAL body do not carry out this operation; start directly from the next point. | 2 – Undo the 4 screws (4) and remove the majolica support bracket. |
![]() | |
| 3 – Insert the lower majolica (G) on the bracket that you have just removed. | 4 – Adjust the two teeth illustrated in the DETAIL B box to firmly secure the majolica to the bracket. Lastly fasten the bracket with the majolica using the 4 screws (4) removed earlier. |
![]() | |
| 5 – Mount the four compensating profiles, (I-LM-N), by inserting the hooks in the slots provided on the body of the appliance. In some cases it may be necessary to break off the last hook at the bottom of the upper profile. | 6 – Detail A shows the hook correctly inserted in the slot. Then use a screwdriver to turn the hooks outwards to firmly secure the compensating profiles to the appliance. |
![]() | |
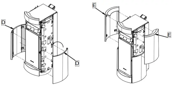
| 7 – Insert the lower side panel (E) on the teeth provided, as illustrated in details C and D. Slightly bend the teeth so as to firmly secure the majolica to the body. Carry out the same procedure on the opposite side. | 8 – Insert the upper side panel (C) on the teeth provided, as in the previous point. Slightly bend the teeth so as to firmly secure the majolica to the body. Carry out the same procedure on the opposite side. |
![]() | |
| 10 – Insert the upper majolica (F) on the teeth provided. Slightly bend the teeth so as to firmly secure the majolica to the body. ATTENTION: If your appliance has a NATURAL body do not carry out this operation; start directly from the next point. | 11 – Insert the upper majolica (F) on the teeth provided. Slightly bend the teeth so as to firmly secure the majolica to the body. ATTENTION: This operation is only to be carried out on appliances with a NATURAL body. |
INSTRUCTIONS VALID ONLY FOR CHIC SUPREME
INTRODUCTION
1.1 GENERAL GUIDELINES
ATTENTION: The majolica elements are handcrafted so they could contain subtle surface imperfections, and crazing, or shade variations. The layer of glaze has an expansion factor that is different to that of the majolica tiles which is what causes the hairline cracks. This phenomenon is a natural process and is not a defect. We recommend cleaning the majolica tiles with a dry microfibre cloth. Using moist or wet cleaning cloths would show up the natural crazing even more.
Thermorossi S.p.A. retains copyright on these service instructions. These instructions may not be reproduced or communicated to third parties or used in any other way without the necessary authorization.
1.2 TRANSPORTATION AND STORAGE
TRANSPORTATION AND HANDLING
Take special care to protect all the fragile parts from mechanical impact which could damage them.
STORAGE
The casing must be stored in a humid-free environment and sheltered from the weather; avoid placing the casing directly on the ground. The company is not responsible for damages caused by negligence.
COMPONENTS

The kit includes the following elements:
| A | Compensating profiles |
| B | Lower majolica |
| C | Upper majolica |
| D | Lower side panels |
| E | Upper side panels |
| F | Central majolica (only for air products) |
| G-H | Protective cardboard |
| I | Protective polystyrene |
| L | Compensating bracket |
Attention: The majolica elements are delicate and must be handled with extreme care. Use soft cotton gloves when handling them. Clean with soft dry microfibre cloths for delicate surfaces such as lenses or glasses.
ASSEMBLING THE CASING
![]() | |
| 1 – Assemble both compensating profiles (A) using screws (1) on the sides of the appliance, as indicated in the figure. | 2 – Undo the 4 screws (2) and remove the majolica support bracket. Insert the lower majolica (B) on the bracket that you have just removed. Lastly fasten the bracket with the majolica using the 4 screws (2) just removed. |
![]() | |
| 3 – Remove the tray and insert the upper majolica (C) on the teeth provided. Slightly bend the teeth so as to firmly secure the majolica to the body. ATTENTION: If your appliance has a NATURAL body do not carry out this operation; start directly from the next point. | 4 – Insert the upper majolica (C) on the teeth provided. Slightly bend the teeth so as to firmly secure the majolica to the body. ATTENTION: This operation is only to be carried out on appliances with a NATURAL body. |
![]() | |
| 5 – Insert the lower side panel (D) on the teeth provided. Slightly bend the teeth so as to firmly secure the majolica to the body. Carry out the same procedure on the opposite side. | 6 – Insert the upper side panel (E) on the teeth provided, as in the previous point. Slightly bend the teeth so as to firmly secure the majolica to the body. Carry out the same procedure on the opposite side. |
![]() | |
| 7 – Insert the central majolica (F) as indicated in the figure (only for air products). Fix it with screws (4) and washers (3). | 8 – ATTENTION: The compensating bracket (L) has to be applied only in those cases where the appliance body is deeper than the central majolica (F) in order to close the remaining gap. |

Via Grumolo, 4 (Z.I.) 36011 Arsiero (VI) – ITALY
Fax 0445.741657 – www.thermorossi.com – [email protected]
























