
AURORA ELECTRIC FIREPLACE
OPERATION AND INSTALLATION MANUAL

SCANDIA AURORA
36″ Electric Fireplace
50″ Electric Fireplace
74″ Electric Fireplace

Version 1.1 08/12/12022
Contents of this manual may be updated without notice.
| Model Name | Model Number |
| Aurora 36” | SG010400165 |
| Aurora 50″ | SG010400168 |
| Aurora 74” | SG010400171 |

Specifications
| Model | Aurora 36” | Aurora 50″ | Aurora 74” | |
| Rated Power | 1500W | |||
| Rated Voltage | 240V ~ 50Hz | |||
| Appliance Dimensions | Height | 429 mm | 429 mm | 429 mm |
| Width | 915 mm | 1270 mm | 1880 mm | |
| Depth | 150 mm | 150 mm | 150 mm | |
| Unit Net Weight | 18.4 KG | 21.6 KG | 30.5 KG | |
| Installation Options | Recessed or Wall | |||
| Power cable length | 1.8m | |||
| Power cable position | Right hand rear corner | |||
WARNING
This appliance must be installed in accordance with:
- Manufacturer’s Installation Instructions
- Current AS/NZS 3000
- Local Regulations and Municipal Building Codes
Including local OH&S requirements. For continued safety of this appliance it must be installed and maintained in accordance with the manufacturer’s instructions.
INTRODUCTION
Congratulations on purchasing a genuine Scandia Electric Fireplace. When cared for properly, these high quality, finely crafted appliances will offer many years of reliable performance. This instruction manual has been developed to ensure optimum performance from your Scandia Electric Fireplace. It’s very important that you thoroughly read and understand all instructions before using your new appliance.
IMPORTANT INSTRUCTIONS
When using electrical appliances the following precautions should always be followed to reduce the risk of fire, electric shock or injury to persons:
1 Read all instructions before using this appliance.
2 The appliance maybe hot when in use. To avoid burning, do not touch hot surfaces. Keep combustible items, such as furniture, pillows, bedding, papers, clothes, and curtains at least 1m from the hot air outlet of the appliance.
3 Extreme caution is necessary when any appliance is used near children or infants.
4 Do not operate the appliance with a damaged cord or plug or when it has been dropped or damaged in any manner, instead return the appliance to place of purchase.
5 Do not use this appliance outdoors.
6 This appliance is not intended for use in bathrooms or laundry areas.
7 If you need to disconnect the appliance, turn controls to off, then remove plug from outlet.
8 Do not inset or allow foreign objects to enter any inlet or outlet vents as this may damage the appliance.
9 To prevent damage to the appliance, do not block air inlets or the heating outlet.
10 Do not operate this appliance using a powerboard or extension leads.
11 Use this appliance only as describes in this manual. Any other use is not recommended by the manufacturer.
12 Never cover or partially cover the appliance during use.
13 This appliance is not intended for use by persons (including children) with reduced physical, sensory or capabilities, or lack of experience and knowledge, unless they have been given supervision or instruction concerning use of the appliance by a person responsible for their safety.Children should be supervised to ensure that they do not play with the appliance.
14 Never operate this appliance using an external switching device, such as a timer or remotely switched circuit.
UNPACKING THE APPLIANCE
Carefully remove the appliance from the box and check all items are present and inspect for any physical damage to the appliance, accessories, power cord and plug.
Prior to installing the appliance, test to make sure the appliance operates properly by plugging the power cord into a conveniently located and grounded GPO.
RECESSED WALL INSTALLATION

WALL CAVITY DIMENSIONS
| Model | A (Width) | B (Height) | C (Depth) |
| Aurora 36” | 890 | 410 | 160 |
| Aurora 50” | 1245 | 410 | 160 |
| Aurora 74” | 1855 | 410 | 160 |
WARNING:
Find a suitable location to build the cavity for the fireplace. Minimum clearance from the the mantel is 200mm; the installation location must be near a GPO. Do not locate the appliance immediately below a GPO.
1. “Remove the four silver colored screws on the top of the appliance and take off the wall bracket (See Step 1).

Step 1
- ST4*8-Screws
- Wall Mount Bracket
2. To remove the glass, unscrew the 2 silver screws on the left and right hand sides of the appliance. Remove the glass front using the suction lifter provided, move the glass upwards and then outwards (Step 2).

Step 2
- Take off the left silver screw
- Fix the Suction Lifters to the glass, lift upwards then outwards.
- Take off the right silver screw
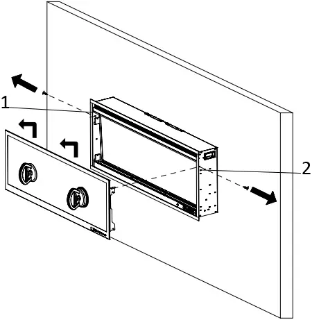
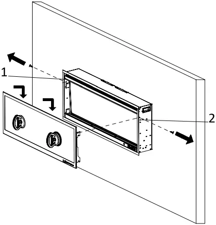
3. Before positioning the appliance into the cavity, connect the plug to the GPO, move the appliance into the cavity then fix the 2 silver screws from the inside of the appliance into the cavity wall (See Step 3).

Step 3
- ST4*40 – Screws
4. Position the plastic base tray as shown, place the crystals and wood fire logs into position (See Step 4)

Step 4
- Plastic Tray
- Crystal Embers
- Wood Fire Logs
WARNING:
ALWAYS use extreme caution when handing glass. Failure to do so could result in personal injury or property damage. Two suction lifters are provided to handle the glass front safely.
5. Install the glass in the direction of the arrows, once securely in place remove the suction lifter.

Step 5
Note: Store the suction lifter in a safe place for future use.
WALL MOUNTED INSTALLATION
1. Remove the four silver colored screws on the top of the appliance and take off the wall bracket (See Step 1).

Step 1
- ST4*8-Screws
- Wall Mount Bracket
Locate structural members behind the wall and mark out using the wall bracket (See Step 2).
Step 2
Screw the wall bracket into place (See Step 3).
Step 3
1. ST4*40-Screws
2. Lift fireplace and place onto the bracket, fix the 4 silver screws back to the top (Step 4).

Step 4
3. To remove the glass, unscrew the 2 silver screws on the left and right hand sides of the appliance. Remove the glass front using the suction lifters provided, move the glass upwards and then outwards (Step 5). Remove the glass in the direction of the arrows, using the suction lifter provided.

Step 5
- Take off the left silver screw
- Take off the right silver screw
4. Position the plastic base tray and place the crystals and wood fire logs into position (Step 6).

Step 6
- Plastic Tray
- Crystal Embers
- Wood Fire Logs
5. Install the glass in the direction of the arrows, once securely in place remove the suction lifter.

Step 7
- Take off the left silver screw
- Take off the right silver screw
- Take care when installing the glass panel. Installing the glass front requires 2 people.
- Carefully set the left and right hand hooks of the glass front inner onto the corresponding left and right hand locating tabs of the firebox.
Make sure the glass is correctly attached to the firebox on both sides. Also ensure the control panel springs are located correctly and not mis-aligned
OPERATION
SAFETY INSTRUCTIONS
1 Only use this appliance in accordance with the instructions in this manual.
2 Be cautious when handling and disposing of the packaging. The packaging contains plastic wrapping that may be lethal to children.
3 Never operate this appliance using an external switching device, such as a timer or remotely switched circuit.
4 The appliance is only suitable for indoor use.
5 Never use the appliance in the bathroom, shower or near a swimming pool.
6 Never leave infants or small children unattended near the appliance.
7 In case of a faulty appliance, disconnect the plug immediately and return to the original point of purchase.
OPERATING THE FIREPLACE
Ensure the appliance is plugged into the GPO and switched on. The Control Switch Panel is on the bottom of fireplace (See image below)

- Touch Control Switch Panel
REMOTE CONTROL FUNCTIONS

- Power ON/OFF
- Flame log setting
- Heat setting
- Flame setting
- Top light setting
- Timer Setting
- This remote control uses two AAA batteries (Included).
- Instructions for battery installation are on the Remote Control battery compartment.
ICON FUNCTIONS
| POWER | ![]() | Turns the appliance ON/OFF. |
| FLAME | ![]() | Controls flame effect. 13 colors : ( L01,L02…L12,L13) |
| FLAME LOG | ![]() | Controls flame log effect. 13 colors : ( C01,C02…C12,C13) |
| TOP LIGHT | ![]() | Controls Top light colors. 3 colors : ( F0 OFF-F1 yellow-F2 blue-F3 purple) |
| HEATER | ![]() | Controls the heater function Press button to initiate the heater. (OFF) no heater or fan. (LO), heater fan warm air (750W) (HI), heater fan hot air (1500W) NOTE: Heater functions cycle from OFF-LO-HI |
| Control with Smart Phone App | ![]() | You can operate the Aurora Electric Fireplace series with a smartphone App. Use the “Flame” button to pair devices. Scan the QR code below for App Operation Instructions |
| TIMER | ![]() | Controls the Timer. 9 Settings: (1h, 2h, 3h, 4h, 5h, 6h, 7h, 8h,9h) Press button until reach desired setting |
WARNING:
NEVER dispose of batteries in fire. Failure to observe this precaution may result in an explosion. Dispose of batteries at your local battery recycling centre.
WIFI SMARTPHONE AND SMART HOME INSTRUCTIONS
Your Scandia Aurora Electric Fireplace can be connected and fully operated using a WiFi Smartphone App, it can also be connected to either a Google Home or Amazon Alexia device for simple on/off operation commands.
Please scan the following QR code for detailed instructions on how to connect your Aurora Fireplace using the WiFi Smartphone App, Google Home or Amazon Alexia:
TEMPERATURE LIMITING CONTROL
This appliance is equipped with a temperature limiting control. Should the heater reach an unsafe temperature (100OC), the heater will automatically turn OFF.
To reset:
1 Turn the ON/OFF switch on the CONTROL PANEL to OFF.
2 Unplug the power cord from the outlet.
3 Inspect the appliance to make sure no vents are obstructed or blocked with dust or lint.. If so use a vacuum to clean these areas.
4 With the power switch in the OFF position, plug the power cord back into the outlet. Switch ON the power switch.
5 If the appliance switches off again then the appliance is faulty and must be returned to the original point of purchase.
NOTE:
When the heater is first turned on, a slight odor may be present. This is normal and should not occur again unless the heater is not used for a long period of time.
To improve operation, aim the remote control at the front of the fireplace. DO NOT press the buttons too quickly. Give the unit time to respond to each command.
CARE AND MAINTENANCE
CLEANING
NEVER immerse or spray with water. Doing so could result in electric shock, fire, or personal injury.
METAL:
Wipe using a soft cloth, slightly dampened with a citrus oil based product.
DO NOT use brass polish or household cleaners as these products will damage the metal trim.
GLASS:
Use a good quality glass cleaner sprayed onto a cloth or towel, clean the glass then dry thoroughly with paper towel or a lint-free cloth.
NEVER use abrasive cleaners directly on the glass surface.
VENTS:
Use a vacuum or duster to remove dust or debris from the vent inlet and outlet areas.
PLASTIC:
Wipe gently with a slightly damp cloth and a mild solution of soap and warm water. NEVER use abrasive cleansers directly on the plastic surface.
WARRANTY
2 YEAR LIMITED WARRANTY
This limited warranty (Warranty) is given by Scandia Heating (Aust) Pty Ltd (ACN 005 868 093) (Scandia or we) to the original retail purchaser (You) of the Electric Fireplace to which this Warranty applies.
Our goods come with guarantees that cannot be excluded under the Australian Consumer Law. You are entitled to a replacement or refund for a major failure and for compensation for any other reasonably foreseeable loss or damage. You are also entitled to have the goods repaired or replaced if the goods fail to be of acceptable quality and the failure does not amount to a major failure.
The benefits that this Warranty provides are in addition to other rights and remedies available to you under the Australian Consumer Law. This Warranty does not limit those rights and remedies.
IMPORTANT: For this Warranty to apply, you must fully complete the online warranty registration form within 30 days after the original purchase. By completing this, you also agree that, to the extent permitted by law, our liability to You on any basis in relation to the Electric Fireplace (other than under the Australian Consumer Law) is limited to our obligations under this Warranty.
SCOPE OF WARRANTY
If:
- a defect in material or workmanship appears in the following parts within the corresponding warranty period after the date of the original purchase, such as to make the Electric Fireplace unfit for normal home use and;
- you comply with the requirements below regarding making a claim, then, subject to the exclusions below, we will (or will arrange to) replace or repair the relevant part or (at our option) replace the entire Electric Fireplace with the same or comparable model.
EXCLUSIONS
This Warranty does not apply:
- if the Electric Fireplace is not installed or operated to the specifications detailed in this manual;
- where the defect is not due to the original design or manufacture of the part (including where the appliance or part has been subject to accident, abuse, alteration, misuse or neglect or has been installed, altered, inspected, operated, cleaned or maintained negligently or not in accordance with applicable local laws, regulations and standards and the instructions and requirement included in this manual);
- if you are not a retail purchaser, or in the case of non domestic use (e.g. any commercial venue);
- to any accessories or optional parts;
- to noise caused by minor expansion, contraction or movement of parts;
- to any initial smell due to dust, paint or surfaces curing;
- to changes in surface finishes as a result of ordinary use (including interior and exterior colour changes or fingerprint marks) or any discolouration of glass;
- to any surface rust which may occur in transit, storage or use;
- to any defect caused, or likely to have been caused, by an unsuitable environment, including but not limited to:
- Close proximity to beaches;
- atmospheres containing chlorine or fluorine.
HOW TO MAKE A CLAIM
Any claim under this Warranty must be in writing to our mail or email address below. It must be sent within the applicable warranty period and must include:
- the model number of the Electric Fireplace;
- A copy of the receipt detailing the place, price and date of purchase; and
- reasonable details of the defect.
REGISTER YOUR PRODUCT

REGISTER ONLINE
Register your product warranty online by visiting:
www.scandiastoves.com.au/warranty
Your data will be used by Scandia to provide you with information about your purchase upon request.
Head Office
58 Access Way,
Carrum Downs VIC 3201
Australia
Scandia Heating (Aust) Pty Ltd
(03) 8579 5900
[email protected]
www.scandiastoves.com.au



























