TRUE FINE TD10037W Dean 6 Inch 1 Light Black Bathroom Wall Sconce with Seeded Glass Shade

Product Information: Wall Sconce
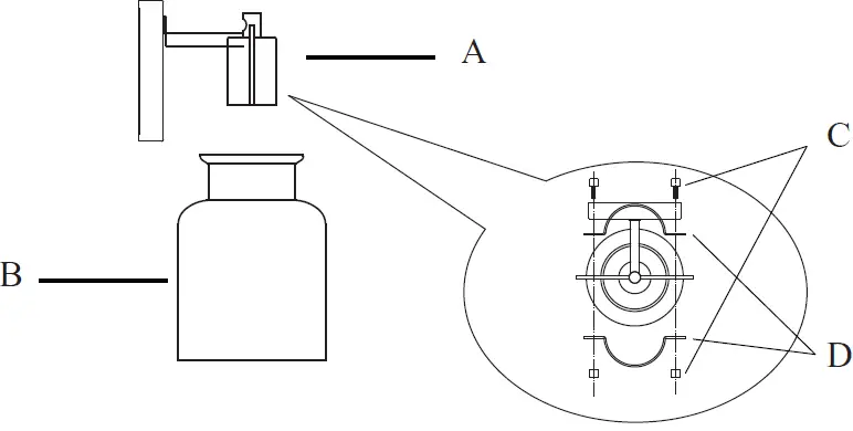
The Wall Sconce is a lighting fixture that comes with a glass shade and a fixture part. It also includes a mounting plate, semicircle part, screws, wire nuts, and long mounting screws. The package contents include one fixture, one glass shade, two screws, and two semicircle parts. The product is manufactured in China.
Hardware Contents
- ABA (long mounting screw) x 2
- BBB (wire nut) x 3
- CBC (long mounting screw) x 2
- DBD (mounting plate) x 1

Package Contents

- A (fixture) x 1
- B (glass shade) x 1
- C (screw) x 2
- D (semicircle part) x 2
| PART | DESCRIPTION | QUANTITY |
| A | Fixture | 1 |
| B | Glass shade | 1 |
| C | Screw | 2 |
| D | Semicircle part | 2 |
Product Usage Instructions: Wall Sconce
SAFETY INFORMATION: Before attempting to assemble, operate, or install the product, read and understand the entire manual. Do not attempt to assemble the product if any part is missing or damaged. Tools required for assembly are flathead screwdriver, Phillips screwdriver, pliers, electrical tape, wire cutters, and safety glasses. Helpful tools are wire strippers and a step ladder.
Please read and understand this entire manual before attempting to assemble, operate or install the product.
WARNING
- TURN OFF ELECTRICITY at main fuse box (or circuit breaker box) before beginning installation by removing fuse (or switching off circuit breaker).
- MINIMUM 90°C SUPPLY CONDUCTORS.
Assembly Instructions
- Put the glass shade (B) onto the fixture (A), clamp the glass shade (B) with the semicircle part (D), and finally lock it with the screw (C).

- Attach the mounting plate (DD) to the outlet box (not included) with the long mounting screws (CC).
Hardware Used
Long mounting screw
Mounting plate
- Strip 3/4 in. of insulation from wire ends. Twist stripped ends together with pliers (not included), black to black (power) and white to white (neutral). Attach copper wire to ground wire. If necessary, attach copper ground wire to grounded outlet box.

- Attach wire nuts (BB). Tape wire nuts (BB) and wires together
Hardware Used
Wire nut
- Align the two screws (AA) through the holes of the back plate and fix them with screw nuts.
Hardware Used
Long mounting screw
Mounting plate
- Install a light bulb (not included). Use one standard-base bulb.

PREPARATION
Before beginning assembly of product, make sure all parts are present. Compare parts with package contents list and hardware contents list. If any part is missing or damaged, do not attempt to assemble the product.
Estimated Assembly Times: 25 minnutes
Tools Required for Assembly (not included): Flathead screwdriver , Phillips screwdriver, Pliers, Electrical tape, Wire cutters, Safety glasses.
Helpful Tools (not included): Wire strippers, Step ladder.
Customer Service: [email protected]


Hardware Used

Hardware Used
Hardware Used
Mounting plate












