Assembly Instruction Sheet #IS-5647W12
For Style 5647W12
Instruction Manual
WORLD 5647W12C CWI Lighting Stained 3 Light Wall Sconc
Tools Required: Flathead screwdriver, Phillips screwdriver, pliers, wire cutters, wire strippers, electrical tape, safety glasses. Light Source: (3) E12 Base Bulb 60W Maximum(Not Include).
Estimated Assembly Time: 15-30 minutes
Preparation: Identify and inspect all parts before beginning installation. Check package content list and diagrams below to be sure all parts are present If any parts are missing or damaged, do not attempt to assemble, install, or operate the fixture. Contact customer service for replacement parts.
Warnings and Cautions
Turn off electricity at circuit breaker or main fuse box before installation. Consult a licensed electrician if in doubt. These instructions are provided for your safety. It is very important you read them completely before installing the fixture. We strongly recommend that a licensed, professional electrician perform the installation.
Disconnect fixture from power source before replacing bulbs. Make sure bulbs are given sufficient time to cool before removal.
Package Contents

Hardware Contents
| PART | DESCRIPTION | QUANTITY |
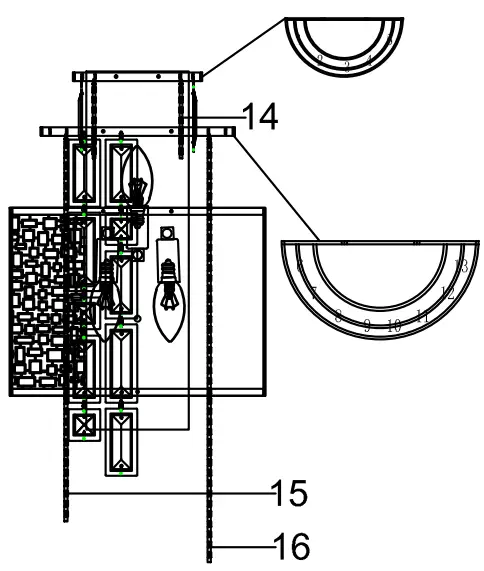
| BB | Wire nut | 2pcs |
| cc | Screw | 2pcs |

STEP 1- Release Mounting bracket from Ceiling Canopy
STEP 2 – Attach Mounting bracket to Outlet Box
A. Pass the supply wires through the Mounting bracket (EE).
Attach the Mounting bracket (EE) to the Outlet Box with the head of the Green Ground Screw facing you.
Secure it with Outlet Box Screws .Tighten until snug.
STEP 3 Wire Connections
A. Use standard wire connectors to make all wire connections. Twist connectors until wires are tightly joined together.
Wrap each connection with approved electrical tape and carefully stuff all the connected wires into the Outlet Box.
STEP 4 – Install Backplate to Ceiling
STEP 5 – Install bulb and crystal.
Figure 5
Released Date:2018-04-13













