E30186-01BK Lightray 2 Light Wall Sconce
Instruction Manual

E30186-01BK Light ray 2-Light Wall Sconce
ITEM NUMBER: E30186-01BK
DESCRIPTION : Light ray 2-Light Wall Sconce
PLEASE CONSULT ELECTRICIAN BEFORE INSTALLATION
LAMPING : 1 x 22W AC PCB
input : AC 120V ~60Hz
MADE IN CHINA I HECHO EN CHINA I FABRIQUE EN CHINE
General Lighting (including AC LED)
Before Getting Started
Read the instructions carefully prior to assembling the product.
When you open the package with a sharp tool like a cutter knife, be careful not to damage thecomponents inside.
Carefully remove all packaging materials and retain for future use.
Keep all hardware parts and packaging out of reach of small children.
Choose a clean, level,spacious assembly area.
Avoid hard surfaces that may damage the product.
Ensure that you have all required contents for complete assembly.
Take care when lifting. Assemble the product in close proximity to where you intend to position the item.
Do not over tighten the screws and bolts as this may damage the threads.
Do not let children play with this product.
Risk of suffocation!
Keep any packaging materials away from children.
Lamp Care Instructions
Carefully read through the instruction sheet before assembly and using the product.
Caution there is a risk of shock. Disconnect from power source before assembling or cleaning.
Switch off,unplug and allow bulb to cool before replacing bulb or cleaning.
Only use the recommended bulb type and do not exceed the maximum wattage as it could cause fire.
Do not plug the product recording is torpor frayed.
For outdoor use, caulk around fixture with silicone sealant to prevent water intrusion.
Cleaning & Maintenance
Apply a high quality car wax to the fixture regularly to protect from environmental factors that can damage the metal.
Clean with soft cloth and a mild detergent. DO not use abrasive cleaner.
Periodically (every90 days) make sure that the screws are fully tightened.
Prolonged exposure to heat sources may cause glazing, melting and scorching, or even cause color to fade.
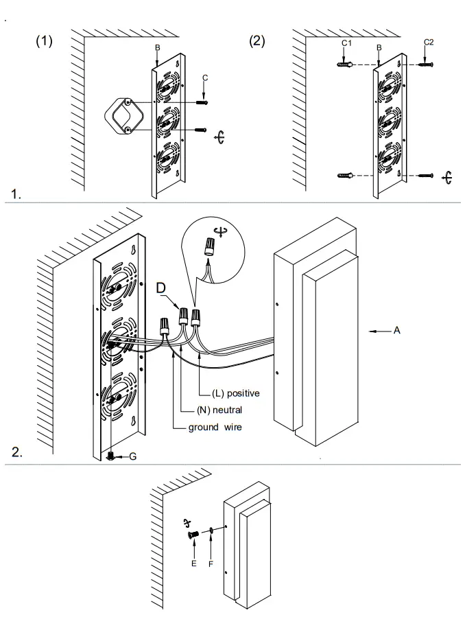
Contents
Before getting,started,ensure the package contains the following components:
![]() | Caulk around backplate where fixture meets the wall leave a hole at the bottom to allow water to escape. |


Caulk around backplate where fixture meets the wall leave a hole at the bottom to allow water to escape.















