
Thank You for Choosing Golden Lighting for Your Lighting Needs!

Pendants & Linear Pendants Above a Kitchen Island
Center a linear pendant over the island. If hanging pendants, use one pendant for every 24″ of island. Fixtures should hang at least 30″ above the countertop.

Pendants & Chandeliers Above a Dining Room Table
Fixtures should stay at least 30″ above the table. Use a fixture that is 12″ narrower than the width of the table.
Pendants and Chandeliers in Open Areas
The bottom should hang at least 7.5 feet from the floor. Allow clearance for any opening doors.
We appreciate your business and hope you love your new light!
Great lighting can add value and enhance the look of your home. To ensure the best lighting in your space, remember to layer your lighting. This ensures that your space will have both task and ambient lighting. Coordinating fixtures like sconces, flush mounts, and pendants can help you meet your layered lighting needs and reinforce your desired aesthetic. Install the lights with dimmers that allow you to control the level of light output at any given moment.
Get function and style! Browse our site for coordinating lights and expert lighting advice. To help create the perfect look, visit www.GoldenLighting.com.
Love your light and want to show it off?
Follow us, share a picture, and tag us on Social…
@GoldenLighting1
@GoldenLighting
Assembly Instructions: 0865-A1W
How to Identify the Fixture’s Wires

- Fixture Wires
- House Wires
- Hot
- Neutral
- Ground
Hot: Smooth, Black, or Transparent with Black Inner Thread
Neutral: Ribbed, White or Transparent with White Inner Thread
Ground: Copper, Bare Metal, Green, or Transparent Inner Thread
Get help, quick tips, and explore curated content
SCAN ME

(1)

(2)
For Customer Service, contact the place of purchase to arrange for replacement parts.
IMPORTANT:
- All installation work should be done by accredited professional.
- Shut off power supply at fuse or circuit breaker!
- Use only the specified bulbs. Do not exceed the maximum wattage!
Assembly Instructions:
PREPARING FOR INSTALLATION
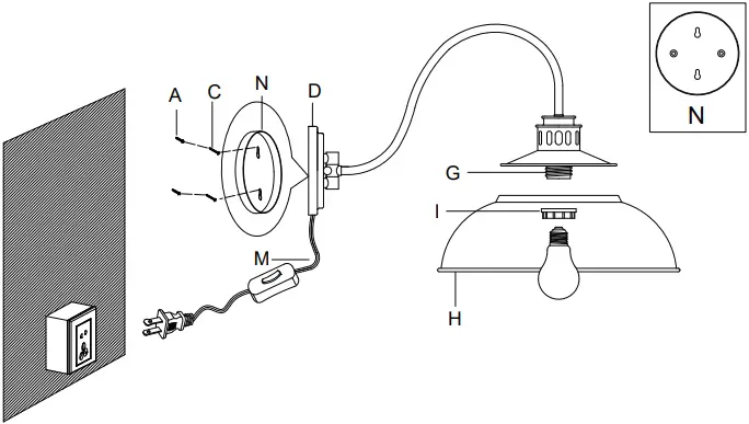
Carefully remove the new fixture from the carton as well as the yellow bag that holds all of the parts. See the important notes above. Shut off power at the circuit breaker and remove old fixture from wall, including the old mounting strap. (PLEASE NOTE: This fixture has multiple installation options. Before beginning, please review these instructions carefully.) TO INSTALL ON A WALL AND POWER THE FIXTURE USING THE PLUG REFER TO DIAGRAM (1): 1. Mounting plate (N) is attached to backplate (D) already by the factory. Hold the fixture up to the wall to test placement for backplate (D). Check that the backplate (D) is horizontal and perpendicular to the ground. After you determine the proper placement, measure the keyhole distance on the backplate (D). Mark the same distance on the wall with a pencil, then use a drill bit to make a hole in the pencil marks. 2. Insert plastic screw anchors (A) into the holes made until the plastic screw anchors (A) are flush with the wall. 3. Using screwdriver insert mounting screws (C) into the plastic screw anchors (A). Do not insert the entire screw flush to the wall. Leave about 2-3mm of the screw’s threads outside of the wall. TO INSTALL OVER AN EXISTING JUNCTION BOX AND HARDWIRE THE FIXTURE REFER TO DIAGRAM (2) AND THE SIDE DIAGRAMS WHICH DIFFERENTIATE MOUNTING PLATE (N) FROM MOUNTING PLATE (B): 1. To begin, remove mounting plate (N) from backplate (D). Then remove screws (C) and nuts from mounting plate (N) and install them on mounting plate (B). Hold mounting plate (B) up to the junction box and check that the installation holes are parallel. 2. Pull the house wires from the junction box through the center of mounting plate (B). Secure mounting bracket (B) to the junction box with mounting screws (A) and a screwdriver. Tighten the screws securely. Leaving at least 8 to 10 inches of cord for wiring, use a pair of wire cutters to trim the plug from cord (M). Pull the cord up through the hole in the bottom of backplate (D) and plug the hole with stopper (N).
ASSEMBLING THE FIXTURE
No Assembly Required – This item arrives assembled and ready for installation. Please proceed to the next step.
CONNECTING THE WIRES
IF HARDWIRING THE FIXTURE TO WALL, REFER TO DIAGRAM (2) AND THE WIRING INSTRUCTIONS BELOW. DO NOT FOLLOW THESE WIRING INSTRUCTIONS IF YOU ARE MOUNTING FIXTURE TO THE WALL AND USING PLUG TO POWER FIXTURE, ALSO REFERRED TO AS DIAGRAM (1). 4. Have an assistant support the fixture’s weight while completing the wiring. Refer to the wiring diagram and attach the fixture’s wires to the power supply wires from the junction box. Attach the fixture’s wires to the power supply wires from the junction box. Connect Hot to Hot (transparent wire with black inner thread, black, or smooth wire) Neutral to Neutral (transparent wire with white inner thread, white, or ribbed wire), and Ground to Ground (transparent wire with green inner thread, green wire, or copper). Twist the ends of the wire pairs together, and then twist on a wire connector. Make sure all twists are in the same direction. If there is no house ground wire coming from the junction box, locate ground screw (E) on the mounting bracket/mounting strap and wrap the fixture’s ground wire around the ground screw. Use a screwdriver to tighten the top of ground screw (E) onto the wires and into the mounting bracket/mounting strap. Tuck the wires into the junction box.
FINISHING THE INSTALLATION
(PLEASE NOTE: This fixture has multiple installation options. Before beginning, please review these instructions carefully.) TO INSTALL ON A WALL AND POWER THE FIXTURE USING THE PLUG REFER TO DIAGRAM (1): 5. Hang the holes of mounting plate (N) behind the backplate (D) on the screws (C). Slide shade (H) over the socket (G) and secure in place with socket ring (I). Install a light bulb (not included) in accordance with the fixture’s specifications. Do not exceed the maximum wattage. Plug cord into the nearest outlet. Your installation is now complete. Turn on the power and test the fixture. Flip switch on cord (L) to power on the fixture. To turn the fixture off, flip the cord switch again. TO INSTALL OVER AN EXISTING JUNCTION BOX AND HARDWIRE THE FIXTURE REFER TO DIAGRAM (2): 5. Place backplate (D) over mounting strap (B) so that mounting screws (C) protrude through the holes in backplate (D). Secure the backplate (D) to the mounting strap (B) with decorative nuts (F). Twist decorative nuts (F) until the backplate (D) of the fixture is snug against the wall. Slide shade (H) over the socket (G) and secure in place with socket ring (I). Install a light bulb (not included) in accordance with the fixture’s specifications. Do not exceed the maximum wattage. Your installation is now complete. Turn on the power and test the fixture.













