MAXIM LIGHTING 62001 Scout Outdoor LED Wall Light Instruction Manual
Before Getting Started
Read the instructions carefully prior to assembling the product.
When you open the package with a sharp tool like a cutter knife, be careful not to damage the components inside.
Carefully remove all packaging materials and retain for future use. ”
Keep all hardware parts and packaging out of reach of small children.
Choose a clean, level, spacious assembly area. Avoid hard surfaces that may damage the product. Ensure that you have all required contents for
complete assembly.
Take care when lifting. Assemble the product in close proximity to where you intend to position the item.
Do not over tighten the screws and bolts as this may damage the threads.
Do not let children play with this product.
Risk of suffocation! Keep any packaging materials away from children.
Clean with soft cloth and a mild detergent.
Contents
Before getting startedie nsure the package contains the blowing component
| # | ||
| A | ![]() | x1 |
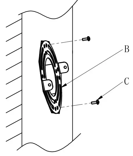
| B | ![]() | x1 |
| C | ![]() MACHINE SCREWS 8/32 1 L | x2 |
| D | ![]() MACHINE SCREWS 8/32 1 L
| x2 |
| E | ![]() | x3 |
| F | ![]() | x1 |
| G |
Installations Instructions



PLEASE CONSULT AN ELECTRICIAN BEFORE INSTALLATION LAMPING: 1 x GU10 LED 9W Included
Vinput: 120V
MADE IN CHINA I HECHO EN CHINA I FABRIQUE EN CHIN

























