MAXIM LIGHTING 3496WGOB 2-Light Outdoor Wall Lantern

Before Getting Started
Read the instructions carefully prior to assembling the product. When you open the package with a sharp tool like a cutter knife, be careful not to damage the components inside. Carefully remove all packaging materials and retain for future use. Keep all hardware parts and packaging out of reach of small children. Choose a clean, level, spacious assembly area. Avoid hard surfaces that may damage the product. Ensure that you have all required contents for complete assembly. Take care when lifting. Assemble the product in close proximity to where you intend to position the item. Do not over tighten the screws and bolts as this may damage the threads. Do not let children play with this product.
Risk of suffocation!
Keep any packaging materials away from children.
Care Instructions
Carefully read through the instruction sheet before assembly and using the product. Caution there is a risk of shock. Disconnect from power source before assembling or cleaning. Switch off, unplug and allow bulb to cool before replacing bulb or cleaning. Only use the recommended bulb type and do not exceed the maximum wattage as it could cause fire. Do not plug the product in if cord is torn or frayed. For outdoor use, caulk around fixture with silicone sealant to prevent water intrusion.
Cleaning & Maintenance
Apply a high quality car wax to the fixture regularly to protect from environmental factors that can damage the metal. Clean with soft cloth and a mild detergent. DO not use abrasive cleaner. Periodically (every 90 days) make sure that the screws are fully tightened. Prolonged exposure to heat sources may cause glazing, melting and scorching, or even cause color to fade.
| A | FRAME | |
| B | UPPER COVER | x1 |
| C | GLASS PANEL | x4 |
| D | GLASS CLIP | x4 |
| E | WIRE NUT | x3 |
| F | SCREW M4*6 | x4 |
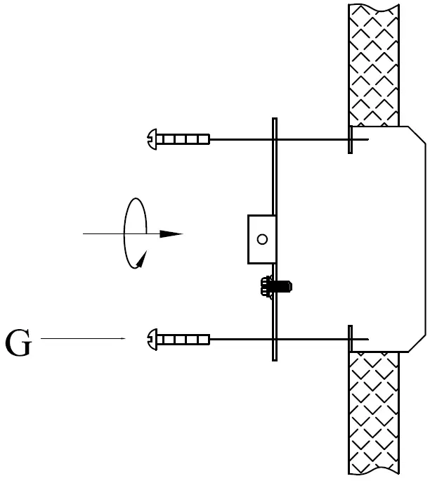
G | SCREW 8/32*25mm | x2 |
| H | SCREW 8/32*10mm | x2 |

- This step requires removing the mounting plate from the fixture.

- Caulk around backplate where fixture meets the wall leave a hole at the bottom to allow water to escape.


FRAME
UPPER COVER
GLASS PANEL
GLASS CLIP
WIRE NUT
SCREW M4*6
SCREW 8/32*25mm
SCREW 8/32*10mm

















