PROGRESS LIGHTING P560357-31M Two Light Outdoor Wall Lantern Instruction Manual
PACKAGE CONTENTS
| PART | DESCRIPTION | QUANTITY | |
| P560356 | P560357 | ||
| A | Fixture | 1 | 1 |
| B | Top Square Cover | 1 | 1 |
| C | Flat Head Screw | 2 | 2 |

HARDWARE CONTENTS
(not actual size)

THANK YOU for selecting Progress Lighting
We can assist you with questions regarding product information, assembly or missing parts
800-447-0573
8am-8pm (Eastern), Monday-Friday
[email protected]
Safety Information
Please read and understand this entire manual before attempting to assemble, operate or install the product.
CAUTION: Read instructions carefully and turn electricity off at main circuit breaker panel before beginning installation.
CAUTION: Risk of fire. Min. 90°C supply conductors. Consult a qualified electrician to ensure correct branch circuit conductor.
WARNING: If any Special Control Devices are used with this fixture, follow instructions carefully to assure full compliance with N.E.C. requirements. If there are any questions, contact a qualified electrical contractor.
CAUTION: All glass is fragile. Use care when handling glass shades and bulbs.
WARNING – To comply with the National Electrical Code and Underwriters Laboratories requirements, when installed outdoors, or in wet locations, the edge of the wall plate coming in contact with the mounting surface, must be sealed with a latex waterproof caulking to prevent water from entering the outlet box.
Preparation
- Before beginning installation, make sure all parts are included using the contents diagrams. If any part is missing or damaged, do not attempt to assemble, install or operate the product.
- Estimated assembly time: 30 minutes.
- Tools required for assembly (not included): Phillips screwdriver, pliers, wire stripper, safety glasses, electrical tape, ladder.
Care and Maintenance
Shut off main power supply before cleaning product or changing light bulbs. To clean, wipe with damp cloth. Do not use abrasive| cleaners or cleaners that contain alcohol.
Assembly Instructions
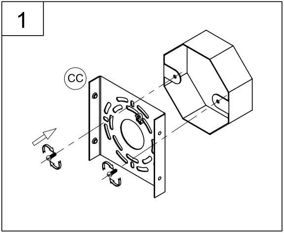
- Attach the back plate (CC) to the outlet box using the mounting screws supplied with the outlet box (not provided). Tighten securely.

- Strip 3/8” of insulation from the electrical wire ends. Using wire nuts (BB), connect the WHITE fixture wire to the WHITE supply wire from the outlet box; connect the BLACK fixture wire to the BLACK supply wire from the outlet box.
Connect the fixture ground wire and supply ground wire using a wire nut or by fastening to the ground screw on the back plate. Push all of the wire connections carefully into the outlet box.
- Attach the fixture (A) to the back plate (CC) of the outlet box, using the flat screws provided (AA). Tighten the fixture against the mounting surface.

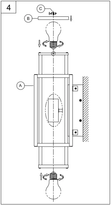
- Thread the lamps (not included) into the fixture sockets.
Use 60-watt MAX incandescent medium base lamp, SBCFL or SBLED.
Attach the top square cover (B) to fixture (A), using the flat head screws (C) to secure tightly.
‘WARRANTY AND EXCLUSIVE REMEDY.: Progress products, when properly installed and under normal conditions of use, are warranted to our customers only to be free from defects in material and workmanship at time of shipment. All warranty claims must be asserted within one year from date of purchase of the subject items; thereafter, warranty claims will ot be honored. Customers’sole remedy for a warranty claim or otherwise shall be limited to repair or replacement of the subject product i it s shown to have been defective in material or workmanship at time of shipment. Progress’s sole and maximurm liabilty for a defective product shall never exceed the cost of the subject product.
EXCEPT FOR SUCH A WARRANTY AND EXCLUSIVE REMEDY AS STATED (AND THE EXPRESS ‘WARRANTY OF TITLE), WE DISCLAIM ALL OTHER WARRANTIES, WHETHER EXPRESS OR IMPLIED, AND SPECIFICALLY DISCLAIM THE IMPLIED WARRANTIES OF MERCHANTABILITY AND FITNESS FOR A PARTICULAR PURPOSE. IN NO EVENT SHALL WE BE LIABLE TO CUSTOMER IN WARRANTY, CONTRACT, NEGLIGENCE, STRICT LIABILITY OR OTHERWISE, FOR ANY DAMAGES, WHETHER INCIDENTAL OR CONSEQUENTIAL, WHICH ARE ALLEGED TO BE CAUSED BY ONE OR MORE OF OUR PRODUCTS, BEYOND THE COST TO THE CUSTOMER OF THE SUBJECT PRODUCT OR PRODUCTS Therefore, the customer’s sole and exclusive remedy against us for breach of the warranty, breach of contract or negligence or strict liability or otherwise shall be limited to repair or replacement of the subject product at our option (excluding installation and removal charges which shall not be our liability) or, f we choose, refund of the purchase price. In no case does our warranty and exclusive remedy extend to anybody other than our customers. Our customers are not authorized to extend warranties or remedies on our behalf o anyone. Such unauthorized extensions of warranties or remedies by the customer shall remain customer’s responsibiity. Customer i responsible for determining the suitability of our products for customer’s use of resale, or for incorporating them into oblects or for applications which customer designs, assembles, constructs or manufactures.
















