P560338 2-Light Medium Outdoor Lantern
Instruction Manual
P560338
2-LT MEDIUM OUTDOOR LANTERN
P560339
3-LT LARGE OUTDOOR LANTERN
P560338 2-Light Medium Outdoor Lantern
PACKAGE CONTENTS
| PART | DESCRIPTION | QUANTITY |
| A | Fixture | 1 |

HARDWARE CONTENTS
(not actual size) 
Safety Information
Please read and understand this entire manual before attempting to assemble, operate or install the product.
CAUTION: Read instructions carefully and turn electricity off at main circuit breaker panel before beginning installation.
CAUTION: Risk of fire. Min. 90°C supply conductors. Consult a qualified electrician t o ensure correct branch circuit conductor.
WARNING: If any Special Control Devices are used with this fixture, follow instructions carefully t o assure full compliance with N.E.C. requirements. If there are any questions, contact a qualified electrical contractor.
CAUTION: All glass is fragile. Use care when handling glass shades and bulbs.
WARNING – To comply with the National Electrical Code and Underwriters Laboratories requirements, when installed outdoors, or in wet locations, the edge of the wall plate coming i n contact with the mounting surface, must be sealed with a latex waterproof caulking t o prevent water from entering the outlet box.
Preparation
- Before beginning installation, make sure all parts are included using the contents diagrams from page 1.If any part is missing o r damaged, do not attempt t o assemble, install or operate the product.
- Estimated assembly time: 30 minutes.
- Tools required for assembly (not included): Phillips screwdriver, pliers, wire stripper, safety glasses, electrical tape, ladder.
Care and Maintenance
Shut off main power supply before cleaning product o r changing light bulbs. To clean, wipe with damp cloth. Do not use abrasive cleaners or cleaners that contain alcohol.
Assembly Instructions
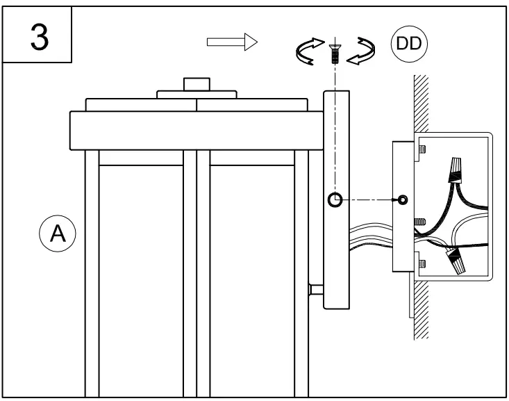
1. Attach back plate (CC) t o the outlet box using the mounting screws supplied with the outlet box (not provided). Tighten securely.
Strip 3/8” o f insulation from the electrical wire ends. Using wire nuts (BB), connect the WHITE fixture wire t o the WHITE supply wire from the outlet box; connect the BLACK fixture wire t o the BLACK supply wire from the outlet box.
Connect the fixture ground wire and supply ground wire using a wire nut or by fastening t o the ground screw on the metal back plate. Push all of the wire connections carefully into the outlet box.
3 . Attach the fixture (A) t o the back plate and using the flat screw (DD), tighten the fixture against the mounting surface.
4. Thread the lamp (not included) into the fixture socket.
Use 60-watt MAX incandescent candelabra base, SBCFL or SBLED.
WARRANTY AND EXCLUSIVE REMEDY:
Progress products, when properly installed and under normal conditions of use, are warranted to our customers only to be free from defects i n material and workmanship a t time of shipment. All warranty claims must be asserted within one year from date of purchase of the subject items; thereafter, warranty claims will not be honored. Customers’ sole remedy for a warranty claim or otherwise shall be limited to repair or replacement of the subject product if it i s shown to have been defective in material or workmanship at time of shipment. Progress’s sole and maximum liability for a defective product shall never exceed the cost of the subject product. EXCEPT FOR SUCH A WARRANTY AND EXCLUSIVE REMEDY AS STATED (AND THE EXPRESS WARRANTY OF TITLE), WE DISCLAIM ALL OTHER WARRANTIES, WHETHER EXPRESS OR IMPLIED, AND SPECIFICALLY DISCLAIM THE IMPLIED WARRANTIES OF MERCHANTABILITY AND FITNESS FOR A PARTICULAR PURPOSE. IN NO EVENT SHALL WE BE LIABLE TO CUSTOMER IN WARRANTY, CONTRACT, NEGLIGENCE, STRICT LIABILITY OR OTHERWISE, FOR ANY DAMAGES, WHETHER INCIDENTAL OR CONSEQUENTIAL, WHICH ARE ALLEGED TO BE CAUSED BY ONE OR MORE OF OUR PRODUCTS, BEYOND THE COST TO THE CUSTOMER OF THE SUBJECT PRODUCT OR PRODUCTS. Therefore, the customer’s sole and exclusive remedy against us for breach of the warranty, breach of contract or negligence or strict liability or otherwise shall be limited to repair or replacement of the subject product at our option (excluding installation and removal charges which shall not be our liability) or, if we choose, refund of the purchase price. I n no case does our warranty and exclusive remedy extend to anybody other than our customers. Our customers are not authorized to extend warranties or remedies on our behalf to anyone. Such unauthorized extensions of warranties or remedies by the customer shall remain customer’s responsibility. Customer i s responsible for determining the suitability of our products for customer’s use or resale, or for incorporating them into objects or for applications which
customer designs, assembles, constructs or manufactures.
THANK YOU for selecting Progress Lighting
We can assist you with questions regarding product information, assembly o r missing parts
800-447-0 573 v8am-8pm (Eastern), Monday-Friday
[email protected]












