MAXIM LIGHTING 53610 Address 1-lt 13 Inch LED Outdoor Wall Light

- PRODUCT NAMB: ADDRESS LIGHT
- ITEM NUMBER: 53610
Please consult your electrician for hanging fixture and wiring.
To prevent water intrusion, caulk around back-plate where fixture meets the wall using outdoor silicone sealant. Leave a small gap at the bottom to allow moisture to escape
Warning: Address Lights operate on low voltage (12V-24V).Comnect ixture to low voltage driver, Failure to do so may damage the unit or surronding area.

IMPORTANT: Turn off the power at the main fuse or circuit breaker box before staring installation.
- BLACK WIRE =PLUS
- WHITE WIRE = MINS

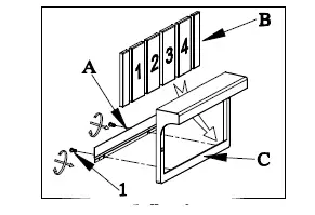
FOUR DIGIT NUMBER WITH TWO 1/2 BLANK TILES
THREE DIGIT NUMBER WITH TWO FULL BLANK TILES
Cleaning
Clean with sot cloth and a mild detergent. Donot usc abresive clecaner. Use liquid wex on polished fimisbes to sutend the hfetime of the finish.
Step1: Place desired mumber of tiles (not included) into the back of the housing. Use blanks when needed. (See figure under drawing) Attach tile support to the back of the housing using Screws and fixed plate provided.
Step 2: Run wires from driver through the holo in the building surface and connect to wires on unit.
Step 3: Mark where anchors should be attached to builkding suriace. Attach housing assembly to surface with two SCrews provided through holes in front of housing
Install ONOFF switch, timer or photocel on 120 vot side of transformer



















