MAXIM LIGHTING 52122BK Pathfinder LED 5 inch Black Outdoor Wall Mount
WHAT IN THE BOX
- WIRE NUTS
- SCREW #8-32
- FIXTURE
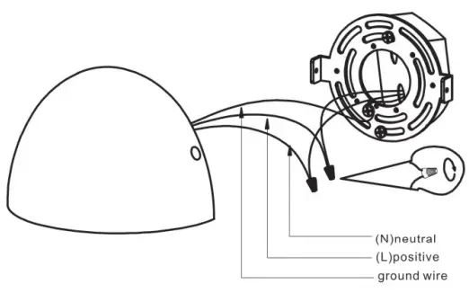
INSTALLATION

Caulk around backplate where fixturemeets the wall leave a hole at the bottom to allow water to escape.
Before Getting Started
- Read the instructions carefully prior to assembling the product.
- When you open the package with a sharp tool like a cutter knife, be careful not to damage the components inside.
- Carefully remove all packaging materials and retain for future use.
- Keep all hardware parts and packaging out of reach of small children.
- Choose a clean, level, spacious assembly area. Avoid hard surfaces that may damage the product.
- Ensure that you have all required contents for complete assembly.
- Take care when lifting. Assemble the product in close proximity to where you intend to position the item
- Do not over tighten the screws and bolts as this may damage the threads. Do not let children play with this product.
Lamp Care Instructions
- Carefully read through the instruction sheet before assembly and using the product.
- Caution there is a risk of shock.
- Disconnect from power source before assembling or cleaning.
- Switch off, unplug and allow bulb to cool before replacing bulb or cleaning.
- Only use the recommended bulb type and do not exceed the maximum wattage as it could cause fire.
- Do not plug the product in if cord is torn or frayed.
Cleaning & Maintenance
- Apply a high quality car wax to the fixture regularly to protect from environmental factors that can damage the metal
- Clean with soft cloth and a mild detergent.
- DO not use abrasive cleaner Periodically (every 90 days) make sure that the screws are fully tightened.
- Prolonged exposure to heat sources may cause glazing, melting and scorching, or even cause color to fade.
Before getting.started.ensure the package contains the following components:

























