JB SYSTEMS B06039 Cam-Spot 30TW LED Theater Spot

DISPOSAL OF THE DEVICE
Dispose of the unit and used batteries in an environment-friendly manner according to your country regulations.
OPERATION MANUAL
Thank you for buying this JB Systems® product. To take full advantage of all possibilities and for your own safety, please read these operating instructions very carefully before you start using this unit.
FEATURES
- Stylish, compact and budget friendly LED theater spot with tunable white color.
- 30watt LED, tunable white between 3000K and 6000K
- CRI >90.
- NO DMX inside: dimmer and color temperature controllable with 2 knobs on the back.
- Beam angle = 30°
- Magnetic filter frame for color filters and four-leaf barndoor included
- Special bracket that can be used for hanging and as floor stand.
- Completely silent operation, no noisy cooling fans on board
- Fixed mains power cord with standard mains plug (CEE 7/7) on the back panel.
BEFORE USE
- Before you start using this unit, please check if there’s no transportation damage. Should there be any, do not use the device and consult your dealer first.
- Important: This device left our factory in perfect condition and well packaged. It is absolutely necessary for the user to strictly follow the safety instructions and warnings in this user manual. Any damage caused by mishandling is not subject to warranty. The dealer will not accept responsibility for any resulting defects or problems caused by disregarding this user manual.
- Keep this booklet in a safe place for future consultation. If you sell the fixture, be sure to add this user manual.
Check the contents:
Check that the carton contains the following items:
- English operating instructions, other languages can be downloaded from our website.
- CAM-SPOT 30TW
- Magnetic filter frame
- Barndoor
SAFETY INSTRUCTIONS
CAUTION: To reduce the risk of electric shock, do not remove the top cover. No user-serviceable parts inside. Refer servicing to qualified service personnel only.
The lightning flash with arrowhead symbol within the equilateral triangle is intended to alert the use or the presence of un-insulated “dangerous voltage” within the product’s enclosure that may be of sufficient magnitude to constitute a risk of electric shock.
The exclamation point within the equilateral triangle is intended to alert the user to the presence of important operation and maintenance (servicing) instructions in the literature accompanying this appliance.
This symbol means: indoor use only
This symbol means: Read instructions
This symbol determines: the minimum distance from lighted objects. The minimum distance between light output and the illuminated surface must be more than 1 meters
CAUTION: Do not stare at operating lamp. May be harmful to the eyes.
- To protect the environment, please try to recycle the packing material as much as possible.
- To prevent fire or shock hazard, do not expose this appliance to rain or moisture.
- To avoid condensation to be formed inside, allow the unit to adapt to the surrounding temperatures when bringing it into a warm room after transport. Condense sometimes prevents the unit from working at full performance or may even cause damages.
- This unit is for indoor use only.
- Don’t place metal objects or spill liquid inside the unit. Electric shock or malfunction may result. If a foreign object enters the unit, immediately disconnect the mains power.
- Locate the fixture in a well ventilated spot, away from any flammable materials and/or liquids. The fixture must be fixed at least 50cm from surrounding walls.
- Don’t cover any ventilation openings as this may result in overheating.
- Prevent use in dusty environments and clean the unit regularly.
- Keep the unit away from children.
- Inexperienced persons should not operate this device.
- Maximum safe ambient temperature is 40°C. Don’t use this unit at higher ambient temperatures.
- Make sure the area below the installation place is free from unwanted persons during rigging, de-rigging and servicing.
- Allow the device about 10 minutes to cool down before to start servicing.
- Always unplug the unit when it is not used for a longer time or before to start servicing.
- The electrical installation should be carried out by qualified personal only, according to the regulations for electrical and mechanical safety in your country.
- Check that the available voltage is not higher than the one stated on the unit.
- The power cord should always be in perfect condition. Switch the unit immediately off when the power cord is squashed or damaged. It must be replaced by the manufacturer, its service agent or similarly qualified persons in order to avoid a hazard.
- Never let the power-cord come into contact with other cables!
- This fixture must be earthed in order to comply with safety regulations.
- Don’t connect the unit to any dimmer pack.
- Always use an appropriate and certified safety cable when installing the unit.
- In order to prevent electric shock, do not open the cover. Apart from the mains fuse there are no user serviceable parts inside.
- Never repair a fuse or bypass the fuse holder. Always replace a damaged fuse with a fuse of the same type and electrical specifications!
- In the event of serious operating problems, stop using the fixture and contact your dealer immediately.
- The housing and the lenses must be replaced if they are visibly damaged.
- Please use the original packing when the device is to be transported.
- Due to safety reasons it is prohibited to make unauthorized modifications to the unit.
Important: Never look directly into the light source! Don’t use the effect in the presence of persons suffering from epilepsy.
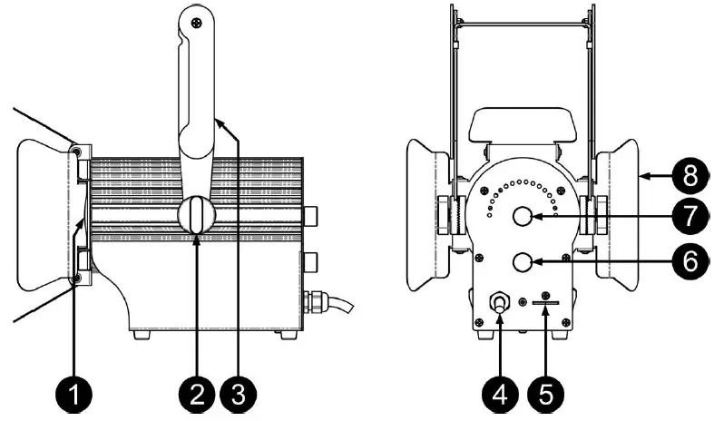
DESCRIPTION

- MAGNETIC FILTERHOLDER: to hold different kinds of filters with a diameter of 7cm.
- Knob to fix hanging bracket in the desired position.
- HANGING BRACKET: used to hang the projector or to put it on a surface by means of the extra rotating lever
- MAINS INPUT: 1m power cord with standard CEE 7/7 mains plug.
- SAFETY EYE: used to attach a safety cable when the unit is rigged, see paragraph “overhead rigging”.
- COLOR TEMP: used to change the color temperature from warm white (WW – 3000K) to cold white (CW – 6000K)
- MANUAL DIMMER: used to dim the output manually.
- BARN DOORS: they facilitate shaping of the beam of light from the fixture, and prevent the distinctive scatter of light created by the lens from spilling into areas where it is not wanted, such as the eyes of audience members.
OVERHEAD RIGGING
Important: The installation must be carried out by qualified service personal only. Improper installation can result in serious injuries and/or damage to property. Overhead rigging requires extensive experience! Working load limits should be respected, certified installation materials should be used, the installed device should be inspected regularly for safety.
- Make sure the area below the installation place is free from unwanted persons during rigging, de-rigging and servicing.
- Locate the fixture in a well ventilated spot, far away from any flammable materials and/or liquids. The fixture must be fixed at least 50cm from surrounding walls.
- The device should be installed out of reach of people and outside areas where
persons may walk by or be seated. - Before rigging make sure that the installation area can hold a minimum point load of 10times the device’s weight.
- Always use a certified safety cable that can hold 12times the weight of the device when installing the unit. This secondary safety attachment should be installed in a way that no part of the installation can drop more than 20cm if the main attachment fails.

- The device should be well fixed; a free-swinging mounting is dangerous and may not be considered!
- Don’t cover any ventilation openings as this may result in overheating.
- The operator has to make sure that the safety-relating and machine-technical installations are approved by an expert before using them for the first time. The installations should be inspected every year by a skilled person to be sure that safety is still optimal.
ELECTRICAL INSTALLATION AND USE
Important: The electrical installation should be carried out by qualified personal only, according to the regulations for electrical and mechanical safety in your country.
Simply connect the projector to the mains and adjust the dimmer (7) on the back panel to the desired level. Use the “COLOR TEMP” knob to adjust the color temperature from warm white (WW) to cold white (CW). You can easily add optional filters (color, frost) by means of the magnetic filter holder (diameter : 7cm).
MAINTENANCE
- Make sure the area below the installation place is free from unwanted persons during servicing.
- Switch off the unit, unplug the mains cable and wait until the unit has been cooled down.
During inspection the following points should be checked: - All screws used for installing the device and any of its parts should be tightly fastened and may not be corroded.
- Housings, fixations and installations spots (ceiling, truss, suspensions) should be totally free from any deformation.
- When an optical lens is visibly damaged due to cracks or deep scratches, it must be replaced.
- The mains cables must be in impeccable condition and should be replaced immediately when even a small problem is detected.
- In order to protect the device from overheat the cooling fans (if any) and ventilation openings should be cleaned monthly.
- The interior of the device should be cleaned annually using a vacuum cleaner or air-jet.
- The cleaning of internal and external optical lenses and/or mirrors must be carried out periodically to optimize light output. Cleaning frequency depends on the environment in which the fixture operates: damp, smoky or particularly dirty surroundings can cause greater accumulation of dirt on the unit’s optics.
- Clean with a soft cloth using normal glass cleaning products.
- Always dry the parts carefully.
Attention: We strongly recommend internal cleaning to be carried out by qualified personnel!
SPECIFICATIONS
This unit is radio-interference suppressed. This product meets the requirements of the current European and national guidelines. Conformity has been established and the relevant statements and documents have been deposited by the manufacturer.
- Mains Input: AC 180 – 240V, 50Hz
- Power consumption: 35 Watt
- Power connections: Power cord, 1m with mains plug (CEE 7/7).
- Lamp: LED, 30W COB CW + WW
- CRI: >90
- Beam Angle: 30°
- IP-Rating: IP20
- Size: see drawing
- Weight: 2,46 kg

The information might be modified without prior notice
You can download the latest version of this user manual on our website: www.jb-systems.eu
MAILING LIST
Subscribe today to our mailing list for the latest product news!
WWW.JB-SYSTEMS.EU
Copyright© 2021 by BEGLEC NV
Hofveld 2C ~ B1702 Groot-Bijgaarden ~ Belgium
Reproduction or publication of the content in any manner, without express permission of the publisher, is prohibited.





















