BRITEQ BT-Theatre 400TW Powerful 200W LED
ENGLISH Operation Manual
Other languages can be downloaded from: WWW.BRITEQ-LIGHTING.COM
DISPOSAL OF THE DEVICE
Dispose of the unit and used batteries in an environment friendly manner according to your country regulations.
OPERATION MANUAL
Thank you for buying this Briteq® product. To take full advantage of all possibilities and for your own safety, please read these operating instructions very carefully before you start using this unit.
FEATURES
- Powerful 400W LED theater Fresnel with adjustable CCT.
- Dual LED (200W 2800K + 200W 6000K) for tunable white with CCT ranging from 2800K to 6000K !
- The perfect all-round projector for TV-work, theatre, rental, exhibition booths!
- Exceptional photometric / price performance: CRI/Ra> 96, TLCI >98, CQS >96, Rf >94, Rg >100 (@3000K)
- DMX-controlled, motorized beam angle adjustment: 11° ~ 56° (field angle: 20° ~ 67°)
- Manual CCT presets while used in standalone: 2800K, 3000K, 3200K, 4000K, 4300K, 5600K, 6000K
- Color frame for use of color filters and eight-leaf barndoor included
- No more heavy and expensive dimmer packs needed!
- Very silent operation: temperature controlled, low noise cooling fan.
- LCD-display to navigate easily through the setup menu!
- Manual or DMX-controlled: 6 different channel modes (8bit & 16bit dimming) for maximum flexibility.
- Can be used 1 channel DMX mode, with CCT-preset of your choice.
- Prepared for wireless DMX: just plug-in an optional WTR-DMX DONGLE ! (Briteq® code: 4645)
- Flicker free TV-recordings thanks to adjustable LED refresh rate: 600 Hz to 4800 Hz!
- Manual dimming & zoom/focus control: easy projector alignment on the stage + use on exhibition booths.
- Selectable lamp behavior: halogen lamp (slow) or led (fast)
- Four dimmer curves: linear, square, inverse square, S-curve
- In case of DMX failure, you can choose between manual, blackout and freeze mode.
- RDM-functionality for easy remote setup & monitoring: DMX addressing, channel mode, temperature, …
- Lock function to avoid unwanted altering of the settings.
- Default factory settings + user settings can be saved/loaded.
- 3 & 5pin DMX in/outputs + PowerCON® compatible in/outputs for easy daisy chaining.
BEFORE USE
- Before you start using this unit, please check if there’s no transportation damage. Should there be any, do not use the device and consult your dealer first.
- Important: This device left our factory in perfect condition and well packaged. It is absolutely necessary for the user to strictly follow the safety instructions and warnings in this user manual. Any damage caused by mishandling is not subject to warranty. The dealer will not accept responsibility for any resulting defects or problems caused by disregarding this user manual.
- Keep this booklet in a safe place for future consultation. If you sell the fixture, be sure to add this user manual.
Check the contents:
Check that the carton contains the following items:
- English operating instructions, other languages can be downloaded from our website.
- BT-THEATRE 400TW
- Eight-leaf barndoor
- Color frame
- PowerCon® mains cable
SAFETY INSTRUCTIONS

CAUTION: To reduce the risk of electric shock, do not remove the top cover. No user-serviceable parts inside. Refer servicing to qualified service personnel only.
The lightning flash with arrowhead symbol within the equilateral triangle is intended to alert the use or the presence of un-insulated “dangerous voltage” within the product’s enclosure that may be of sufficient magnitude to constitute a risk of electric shock.
The exclamation point within the equilateral triangle is intended to alert the user to the presence of important operation and maintenance (servicing) instructions in the literature accompanying this appliance.
This symbol means: indoor use only
This symbol means: Read instructions
This symbol determines: the minimum distance from lighted objects. The minimum distance between light-output and the illuminated surface must be more than 1 meters
CAUTION: Do not stare at operating lamp. May be harmful to the eyes.
- To protect the environment, please try to recycle the packing material as much as possible.
- To prevent fire or shock hazard, do not expose this appliance to rain or moisture.
- To avoid condensation to be formed inside, allow the unit to adapt to the surrounding temperatures when bringing it into a warm room after transport. Condense sometimes prevents the unit from working at full performance or may even cause damages.
- This unit is for indoor use only.
- Don’t place metal objects or spill liquid inside the unit. Electric shock or malfunction may result. If a foreign object enters the unit, immediately disconnect the mains power.
- Locate the fixture in a well ventilated spot, away from any flammable materials and/or liquids. The fixture must be fixed at least 50cm from surrounding walls.
- Don’t cover any ventilation openings as this may result in overheating.
- Prevent use in dusty environments and clean the unit regularly.
- Keep the unit away from children.
- Inexperienced persons should not operate this device.
- Maximum safe ambient temperature is 40°C. Don’t use this unit at higher ambient temperatures.
- Make sure the area below the installation place is free from unwanted persons during rigging, de-rigging and servicing.
- Allow the device about 10 minutes to cool down before to start servicing.
- Always unplug the unit when it is not used for a longer time or before to start servicing.
- The electrical installation should be carried out by qualified personal only, according to the regulations for electrical and mechanical safety in your country.
- Check that the available voltage is not higher than the one stated on the unit.
- The power cord should always be in perfect condition. Switch the unit immediately off when the power cord is squashed or damaged. It must be replaced by the manufacturer, its service agent or similarly qualified persons in order to avoid a hazard.
- Never let the power-cord come into contact with other cables!
- This fixture must be earthed in order to comply with safety regulations.
- Don’t connect the unit to any dimmer pack.
- Always use an appropriate and certified safety cable when installing the unit.
- In order to prevent electric shock, do not open the cover. Apart from the mains fuse there are no user serviceable parts inside.
- Never repair a fuse or bypass the fuse holder. Always replace a damaged fuse with a fuse of the same type and electrical specifications!
- In the event of serious operating problems, stop using the fixture and contact your dealer immediately.
- The housing and the lenses must be replaced if they are visibly damaged.
- Please use the original packing when the device is to be transported.
- Due to safety reasons it is prohibited to make unauthorized modifications to the unit.
Important: Never look directly into the light source! Don’t use the effect in the presence of persons suffering from epilepsy.
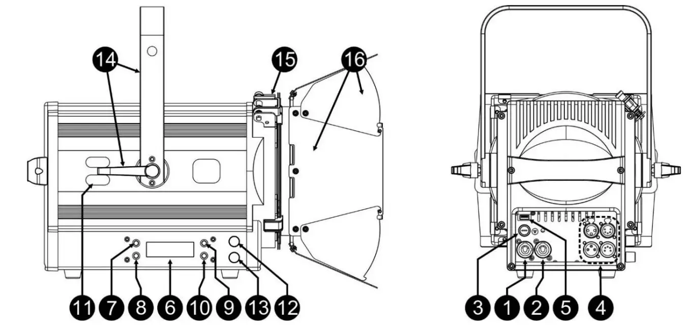
DESCRIPTION:
MAINS INPUT: equipped with PowerCON® compatible connectors. Connect the supplied mains cable or any PowerCon® extension cable here.- MAINS OUTPUT: used to daisy chain the power to several other projectors. Always pay attention to the maximum load while adding projectors! Special Multi cables (PowerCON® + DMX XLR-cables are optionally available: see our website!)
- MAINS FUSE: protects the unit in case of electrical problems, always use the prescribed fuse!
- DMX IN/OUT: both 3pin and 5pin in/outputs are available to daisy chain the projector with other units that will be controlled by a DMX controller.
- M-DMX INPUT: Please note that this USB connector is NOT used for updates or to connect the unit to a PC! Instead, this USB connector makes it very easy to add wireless DMX to the unit! Just add the (optional) WTR-DMX DONGLE from BRITEQ® and you will get wireless DMX! Moreover, you will be able to connect other DMX-controlled equipment to the DMX- output so you can share the wireless DMX function with all connected units! No extra settings to be made in the setup menu, just follow the procedure in the user manual supplied with the WTR-DMX DONGLE from BRITEQ®. The separate WTR-DMX DONGLE is available from WWW.BRITEQ-LIGHTING.COM (order code: 4645)

- DISPLAY: shows the various menus and the selected functions:
- MENU-button: used to enter and exit the setup menu or to jump to a higher level in the setup menu.
- ENTER-button: used to select a menu option or confirm a setting.
- ▲-button: used to go to the previous menu option or to increase a parameter value.
- ▼-button: used to go to the next menu option or to decrease a parameter value.
- SAFETY EYE: used to attach a safety cable when the unit is rigged, see paragraph “overhead rigging”.
- DIMMER KNOB: While working in manual mode, this knob is used to adjust the dimmer level.
- PRESS 1x SHORTLY: you can set the dimmer level in bigger steps.
- PRESS 2x SHORTLY: you can set the dimmer level in small steps.
- PRESS 2 seconds: the current dimmer level is saved to the internal memory. (is used next time the projector is switched on)

- FOCUS / CCT KNOB: While working in manual mode, this knob is used to adjust the beam angle and color temperature (CCT) of the light.
- PRESS 1x SHORTLY: you can set the beam angle in 1% steps.
- PRESS 2x SHORTLY: you can select the different CCT-presets.
- PRESS 2 seconds: the current beam angle & CCT is saved to the internal memory. (is used next time the projector is switched on)

- HANGING BRACKET: with a knob on both sides to fasten the unit in the desired position. You can use the hole in the center of the bracket to fix a hook or truss clamp.
NOTE: for easy and fast alignment of the projectors the standard hanging bracket can be replaced by the optionally available pole yoke. (BT-THEATRE YOKE ~ order code: 6021). - LOCKING CLIP: The clip is used to keep the barndoor and color frame in place. Press the clip aside to open it.
- BARN DOORS: they facilitate shaping of the beam of light from the fixture, and prevent the distinctive scatter of light created by the Fresnel lens from spilling into areas where it is not wanted, such as the eyes of audience members. Just rotate the barndoor leafs in the desired position.

OVERHEAD RIGGING
Important: The installation must be carried out by qualified service personal only. Improper installation can result in serious injuries and/or damage to property. Overhead rigging requires extensive experience! Working load limits should be respected, certified installation materials should be used, the installed device should be inspected regularly for safety.
- Make sure the area below the installation place is free from unwanted persons during rigging, de-rigging and servicing.
- Locate the fixture in a well-ventilated spot, far away from any flammable materials and/or liquids. The fixture must be fixed at least 50cm from surrounding walls.
- The device should be installed out of reach of people and outside areas where persons may walk by or be seated.
- Before rigging make sure that the installation area can hold a minimum point load of 10times the device’s weight.

- Always use a certified safety cable that can hold 12times the weight of the device when installing the unit. This secondary safety attachment should be installed in a way that no part of the installation can drop more than 20cm if the main attachment fails.
- The device should be well fixed; a free-swinging mounting is dangerous and may not be considered!
- Don’t cover any ventilation openings as this may result in overheating.
- The operator has to make sure that the safety-relating and machine-technical installations are approved by an expert before using them for the first time. The installations should be inspected every year by a skilled person to be sure that safety is still optimal.
With the setup menu you can fully configure the projector. All settings are preserved when the unit is disconnected from the mains.
General instructions for setup.
The SETUP-menu has three logically structured levels, see the menu structure.
- Press the MENU button to enter the SETUP-menu.
- Press the ▲/▼ buttons to browse the different functions of the setup menu until the required function is shown on the display.
- Press the ENTER button to access the function and change its parameters.
- Use ▲/▼ buttons to change the value.
- Press the ENTER button again confirm.
- To jump to a higher menu level: press the MENU button.
- To exit the SETUP-menu: press the MENU button several times until the standard display is shown. Remark: to make things easier you will always enter the SETUP-menu at the last used location.
DMX-Address
Used to set the desired DMX-address. (on RDM-compatible controllers this option can be set remotely)
- Press the ▲/▼ buttons until the desired function is showing on the display.
- Press the ENTER button: the values can be changed
- Use ▲/▼ buttons to select the desired DMX512 address. The last occupied DMX-address is also shown: makes it easier to set the address of the next unit in the chain.
- Once the correct address shows on the display, press the ENTER button to confirm.
CHANNEL Mode
Used to set the desired channel mode. (on RDM-compatible controllers this option can be set remotely)
- Press the ▲/▼ buttons until the desired function is showing on the display.
- Press the ENTER button: the values can be changed
Use ▲/▼ buttons to select the desired mode:
- [1CH DIM 8bit] : 1 channel mode (8bit dimmer, CCT selected in the setup menu)
- [2CH DIM+CCT 8bit] : 2 channel mode (8bit dimmer + CCT channel)
- [3CH D+CCT+F 8b] : 3 channel mode (16bit dimmer + CCT channel).
- [4CH D+CCT+F 16b] : 4 channel mode (16bit dimmer + CCT channel + Focus)
- [5CH D+CCT+F+S] : 5 channel mode (16bit dimmer + CCT channel + Focus + Strobe)
- [6CH FULL 16bit] : 6 channel mode (16bit dimmer + CCT channel + Focus + Strobe + function )
- Once the correct option shows on the display, press the ENTER button to confirm.
| LEVEL 1 | LEVEL 2 | |
| DMX-Address | 001 – XXX | |
|
CHANNEL Mode | 1CH DIM 8bit | |
| 2CH DIM+CCT 8bit | ||
| 3CH D+CCT+F 8b | ||
| 4CH D+CCT+F 16b | ||
| 5CH D+CCT+F+S | ||
| 6CH FULL 16bit | ||
|
FIXTURE Set | NO DMX Mode | Freeze |
| Blackout | ||
| Manual | ||
| DIM Curve | Linear | |
| Square | ||
| Inv. Square | ||
| S-Curve | ||
| Dimmer Speed | 000 – 255 (0-2000ms) | |
| CCT preset | 2800K → 6000K | |
| PWM frequency | 0.6 → 4.8 kHz | |
| FOCUS PRESET | 000 – 255 | |
| FAN Set | Auto High Low | |
| DISPLAY Set | Backlight | ON, 01-60M |
| AUTO LOCK | ON / OFF | |
| noDMX blink | ON / OFF | |
| Temp C/F | Celcius/Fahrenheit | |
| DEFAULTS | Factory Settings | LOAD ? |
| USER Settings | LOAD / SAVE ? | |
|
INFORMATION | Total LED Hours | xxxx Hrs |
| Last JOB hours | xxxx Hrs | |
| LED Temp. | xxx °C / F | |
| ERROR info | xxxxxxxx | |
| Model Name | BT-THEATRE 400TW | |
| Firmware V. | V x.xx | |
| RDM UID | 0x21220044xxxx | |
FIXTURE Set – Used to configure different parameters if the projector.
NO DMX Mode: Used to set how the projector reacts when the DMX-signal disappears.
- Press the ▲/▼ buttons until the desired function is showing on the display.
- Press the ENTER button: the values can be changed
- Use ▲/▼ buttons to select the desired mode:
- BLACKOUT: output turns black while no DMX is detected.
- FREEZE: output based on the last valid DMX-signal is kept on the projector.
- MANUAL: output and focus are set manually while no DMX is detected. Settings are preserved.
Once the correct option shows on the display, press the ENTER button to confirm.
Note: as soon as the input detects a DMX-signal, blackout or freeze mode will be cancelled.
DIM Curve
Used to set the dimmer curve of the master dimmer.
- Press the ▲/▼ buttons until the desired function is showing on the display.
- Press the ENTER button: the values can be changed
- Use ▲/▼ buttons to selected the desired curve:

- Once you have the desired curve, press the ENTER button to save it.
Dimmer Speed
Used to set the speed (smoothness) of the dimmer continuously.
- Press the ▲/▼ buttons until the desired function is showing on the display.
- Press the ENTER button: the values can be changed
- Use ▲/▼ buttons to select the desired speed:
- 000 (0ms): The projector follows the instructions instantly, no delay (also called LED behavior).…
- 55 (2000ms): The projector imitates the behavior of a halogen lamp (slower reaction time).
- Once the desired value shows on the display, press the ENTER button to confirm.
Remark: The default value (100 or 440ms) is the most realistic value to imitate “halogen lamp” behavior. At the same time the light output will be instantaneous while pushing a flash button on your DMX-controller.
CCT Preset
Used to set the standard LED CCT (color temperature) while used in a mode that has no CCT setting.
- Press the ▲/▼buttons until the desired function is showing on the display and confirm with [ENTER].
- Use ▲/▼ buttons to select the desired CCT:
- 2800K warm white, comparable to halogen lamps: theatre applications, …
- 3000K warm white, comparable to halogen lamps: theatre applications, …
- 3200K warm white, comparable to halogen lamps: theatre applications, …
- 4000K natural white, comparable to metal halide lamps: exhibition stands, shops, …
- 4300K natural white, comparable to fluorescent lamps: exhibition stands, shops, …
- 5600K Daylight white: TV-recordings, exhibition stands, shops, …
- 6000K Cool white: TV-recordings, exhibition stands, jewelry shops, …
- Press the [ENTER] button to save the setting.
Note: in several DMX-modes you can use the CCT-channel to select any CCT between 2800K and 6000K.
PWM Frequency
Used to set the PWM frequency of the LED dimming.
- Press the ▲/▼ buttons until the desired function is showing on the display.
- Press the ENTER button: the values can be changed
- Use ▲/▼ buttons to select the desired speed:
- 900 Hz : slowest PWM frequency.…
- 20’000 Hz: highest possible PWM frequency,
- Once the desired value shows on the display, press the ENTER button to confirm.
Remark: The default value (1’200 Hz) gives excellent dimming performance with very low dimmer noises.
FOCUS Preset
Used to set the standard beam angle when a DMX-mode without focus control is selected.
- Press the ▲/▼ buttons until the desired function is showing on the display.
- Press the ENTER button: the values can be changed
- The light output is set to maximum while the current focus value is shown on the display.
- Use ▲/▼ buttons to select the desired focus preset between 000 (narrow beam) and 255 (wide beam).
- Once the correct option shows on the display, press the ENTER button to confirm.
FAN Set
On some occasions fan noise should be reduced to a minimum. Therefore you can set three different fan speed modes.
- Press the ▲/▼ buttons until the desired function is showing on the display.
- Press the ENTER button: the values can be changed
- Use ▲/▼ buttons to select one of these options:
- Auto: the fan speed will be automatically adjusted to always have the best balance between fan noise and performance (light output). This is the best setting for use in theatres, conference rooms, …
- Low: the fan speed will always be low to reduce fan noise to a minimum. However this means that the LED temperature could become too high: in that case the LED current will be reduced automatically to protect the LED. Light output will also be lower.
- High: the LED will be well cooled so maximum light output can be guaranteed under all conditions. However this means that fan noise will be higher than usual.
- Press the ENTER button to confirm.
DISPLAY Set –
This level contains all display related settings.
Backlight
Used to adjust how long the display stays lit after the last time it was used.
- Press the ▲/▼ buttons until the desired function is showing on the display.
- Press the ENTER button: the values can be changed
- Use ▲/▼ buttons to select one of these options:
- ON: display is always lit.
- 0xxM: you can set the number of minutes before the display turns dark after it was last used.
- Press the ENTER button to confirm.
AUTO LOCK
Used to lock the setup menu against unwanted altering of the settings.
- Press the ▲/▼ buttons until the desired function is showing on the display.
- Press the ENTER button: the values can be changed
- Use ▲/▼ buttons to select one of these options:
- OFF: The setup menu can be used at any time.
- ON: After +/-60s the setup menu locks automatically, the display shows “ LOCKED ***** ”. Unlock the display by pressing the buttons in this order: UP, DOWN, UP, DOWN, ENTER.
noDMX blink
Used to select of the display should blink or not when the DMX signal was lost.
- Press the ▲/▼ buttons until the desired function is showing on the display.
- Press the ENTER button: the values can be changed
- Use ▲/▼ buttons to toggle between ON and OFF.
- Press the ENTER button to confirm.
Temp C/F
Used to select if the LED-temperature is shown in degrees Celcius °C or Fahrenheit F.
- Press the ▲/▼ buttons until the desired function is showing on the display.
- Press the ENTER button: the values can be changed
- Use ▲/▼ buttons to select one of these options:
- Celcius: LED-temperature is shown in degrees Celcius °C.
- Fahrenheit: LED-temperature is shown in degrees Fahrenheit F.
- Press the ENTER button to confirm.
DEFAULTS –
This is your emergency exit if you really messed up the settings: just return to the Factory Settings (Factory Settings). Also a user setting can be saved/loaded.
- Press the ▲/▼ buttons until the desired function is showing on the display.
- Press the ENTER button: the values can be changed
- Use ▲/▼ buttons to select one of these options:
- Factory Settings: standard factory settings.
- USER Def.: you can adapt the factory settings and save the new parameters as your personal USER-settings.
- Press the ENTER button:
- Factory Settings was selected: the display shows “LOAD”
- Press the ENTER button and use ▲/▼ buttons to confirm YES / NO
- Press the ENTER button to confirm.
- USER Def. was selected: the display shows “LOAD”
- Use ◄/► buttons to select LOAD / SAVE
- Press the ENTER button and use ▲/▼ buttons to confirm YES / NO
- Press the ENTER button to confirm.
- SAVE was selected: the current settings of the setup menu are saved to memory.
- LOAD was selected: the previously saved settings are loaded.
Set of Factory default settings
| PARAMETER name | FACTORY defaults | USER defaults |
| CHANNEL mode | 3CH D+CCT+F 8bit | Current setting in the menu |
| NO DMX mode | Freeze | Current setting in the menu |
| DIM Curve | Square | Current setting in the menu |
| Dimmer Speed | 100 (440ms) | Current setting in the menu |
| PWM Frequency | 1’200 Hz | Current setting in the menu |
| FOCUS PRESET | 200 | Current setting in the menu |
| FAN Set | Auto | Current setting in the menu |
| Backlight | 1 min. | Current setting in the menu |
| AUTO LOCK Menu | OFF | Current setting in the menu |
| no DMX blink display | OFF | Current setting in the menu |
| Temp C/F | Celcius | Current setting in the menu |
INFORMATION
Timers ( Total LED hours + Last JOB)
Shows how long the projector was used.
- Press the ▲/▼ buttons until the desired function is showing on the display.
- Press the ENTER button: the values can be changed
- Use ▲/▼ buttons to select one of these options:
- Total LED hours: The total time the LED was used since it was used for the 1st time, non-resettable.
- Last JOB: The time the unit was used on the last job.
This timer can be reset by pressing the ▲/▼ buttons for about 5 seconds.
- Press the ENTER button to confirm.
LED Temp.
Shows the actual temperature of the LEDs.
- Press the ▲/▼ buttons until the desired function is showing on the display.
- Press the ENTER button: the LED temperature is shown.
ERROR info
Shows information about eventual errors.
- Press the ▲/▼ buttons until the desired function is showing on the display.
- Press the ENTER button:
- No errors: display shows NONE
- Errors to report: the error will be shown on the display so you can take action.
Model Name
Shows the name of the projector.
- Press the ▲/▼ buttons until the desired function is showing on the display.
- Press the ENTER button: the display shows the name of the unit.
Firmware V.
Shows the current firmware version in the projector.
- Press the ▲/▼ buttons until the desired function is showing on the display.
- Press the ENTER button: the display shows the firmware version.
Note: The firmware of this unit can be upgraded using our special “Firmware Updater 2” (separately available from Briteq). More information about this can be found in the user manual of the firmware updater or our website: https://briteq-lighting.com/firmware-updater-2
RDM UID
Shows the unique RDM identification code of the projector.
- Press the ▲/▼ buttons until the desired function is showing on the display.
- Press the ENTER button: the display shows the UID of the unit.
OTHER SETUP FUNCTIONS
FOCUS RESET
There are 2 ways to activate the FOCUS RESET function:
- MANUAL RESET: press the DIM + FOCUS/CCT KNOB for more than 5 seconds to open a hidden menu.
The display shows FOCUS RESET: press the ENTER button to start the reset. - REMOTE RESET: you can activate the FOCUS RESET by DMX:
- 3CH D+CCT+F 8bit DMX-Mode selected:
Remote “Focus reset” will be activated when the following DMX-values are received during 5seconds:
CH1 = 001 * CH2 = 002 * CH3 = 003. - 4CH D+CCT+F 16bit or 5CH D+CCT+F+S DMX-Mode selected:
Remote “Focus reset” will be activated when the following DMX-values are received during 5seconds:
CH1 = 001 * CH3 = 002 * CH4 = 003. - 6CH FULL 16bit DMX-Mode selected:
Remote “Focus reset” will be activated when the FUNCTION channel is set to 241→243 during
3seconds.
FOCUS CALIBRATION
Press the DIM + FOCUS/CCT KNOB together for more than 5 seconds to open a hidden menu.
- The display shows FOCUS RESET
- Press the ▲/▼ buttons until the display shows: CALIBRATE FOCUS
- Press the ENTER button to activate: the light output will be set to maximum.
- Use ▲/▼ buttons to adjust the calibration of the Focus.
- Press the ENTER button to confirm.
ELECTRICAL INSTALLATION
Important: The electrical installation should be carried out by qualified personal only, according to the regulations for electrical and mechanical safety in your country.
Electrical installation for two or more units in DMX-mode:
- The DMX-protocol is a widely used high speed signal to control intelligent light equipment. You need to “daisy chain” your DMX controller and all the connected units.
- Pin layout XLR-3pin: Pin1 = GND ~ Pin2 = Negative signal (-) ~ Pin3 = Positive signal (+)
- To prevent strange behavior of the light effects, due to interferences, you must use a 90Ω to 120Ω terminator at the end of the chain. Never use Y-splitter cables, this simply won’t work!
- Make sure that all units are connected to the mains.
- Each unit in the chain needs to have its proper starting address so it knows which commands from the controller it has to decode.


RDM FUNCTIONS / REMOTE SETUP
RDM means “Remote Device Management”. This projector works with a brief set of RDM-functions which means that it can setup a bi-directional communication with an RDM-compatible DMX-controller. Some of these functions are briefly explained below, others will be added in the future.
- The DMX-controller sends out a “discovery command”, all RDM devices respond and send their unique device ID.
- The DMX-controller asks each RDM device for some basic data so it knows which devices are connected. The projector will respond:
- Device name: BT-THEATRE 400TW
- Manufacturer: Briteq®
- Category: LED Dimmer
- Firmware: x.x.x.x (firmware version of the projector)
- DMX address: xxx (current DMX start address of the projector)
- DMX footprint: xx (number of DMX-channels used by the projector)
- Personality: xx (current personality or DMX-working mode used by the projectors)
- The DMX-controller can send certain commands to each RDM device which allow remote setup of the units. Thanks to this the projector can be setup remotely.
The following functions can be managed remotely:
No more need to take a ladder and set all units one by one!
- DMX START ADDRESS: The start address can be set remotely from 001 to xxx.
- PERSONALITY: The DMX working mode (DMX-chart) can be set remotely.
These 2 functions make it possible to prepare a complete DMX-patch of all projectors on the DMX-controller and send these data to all projectors at once. More functions will be added later.
OPERATING INSTRUCTIONS
Note: when the projector is switched on the display shows “UPDATE WAIT …” This message informs you that IF you want to upgrade the firmware, you should do it while this message is shown on the display. For normal use you can ignore this message completely.
A. Standalone 1unit – Manual operation:
- Just connect the projector to the mains.
- In the setup menu the option NO DMX Mode should be set to MANUAL
- Adjust the DIMMER and FOCUS/CCT knobs
- Refer to points 12 + 13 in chapter DESCRIPTION for more information.
B. Controlled by universal DMX-controller:
- Connect all units together. Refer to the chapter “Electrical installation for two or more units in DMX-mode” to learn how to do this (don’t forget to address all units properly!)
- Connect all units to the mains and turn on the DMX controller.
Since each unit has its own DMX-address, you can control them individually. Remember that each unit can use a different number DMX-channels, depending on the DMX-mode you have selected in the menu. See the different DMX charts:
| 1CH | 2CH | 3CH | 4CH | 5CH | 6CH | VALUES | FUNCTION | REMARKS |
| 1 | 1 | 1 | 1 | 1 | 1 | 000-255 | Dimmer coarse (0-100%) | |
| 2 | 2 | 2 | 000-255 | Dimmer fine (16bit) | ||||
| 2 | 2 | 3 | 3 | 3 | 000-255 | Increasing CCT | ||
| 4 | 4 | 000-005 | Open (no strobe) | |||||
| 006-125 | Normal strobe (slow → fast) | |||||||
| 126-135 | Open (no strobe) | |||||||
| 136-255 | Random strobe (slow → fast) | |||||||
| 3 | 4 | 5 | 5 | 000-255 | Focus / Zoom | Small → large beam | ||
|
6 | 000-020 | No function | FUNCTION CHANNEL | |||||
| 021-025 | Dim curve: Linear | Delay 3s | ||||||
| 026-030 | Dim curve: Square | Delay 3s | ||||||
| 031-035 | Dim curve: Inverse Square | Delay 3s | ||||||
| 036-040 | Dim curve: S-Curve | Delay 3s | ||||||
| 041-060 | No function | |||||||
| 061-065 | Dim behavior: LED | Delay 3s | ||||||
| 066-070 | Dim behavior: DIMMER SPEED | Delay 3s | ||||||
| 071-090 | No function | |||||||
| 091-095 | No DMX: Freeze mode | Delay 3s | ||||||
| 096-100 | No DMX: blackout mode | Delay 3s | ||||||
| 101-105 | No DMX: Manual mode | Delay 3s | ||||||
| 106-125 | No function | |||||||
| 126-130 | Display: BLINK ON | Delay 3s | ||||||
| 131-135 | Display: BLINK OFF | Delay 3s | ||||||
| 136-155 | No function | |||||||
| 156-160 | FAN: SILENT mode | Delay 3s | ||||||
| 161-165 | FAN: AUTO mode | Delay 3s | ||||||
| 166-170 | FAN: HIGH mode | Delay 3s | ||||||
| 171-190 | No function | |||||||
| 191-195 | PWM = 0.6kHz | Delay 3s | ||||||
| 196-200 | PWM = 1.2kHz | Delay 3s | ||||||
| 201-205 | PWM = 1.8kHz | Delay 3s | ||||||
| 206-210 | PWM = 2.4kHz | Delay 3s | ||||||
| 211-215 | PWM = 3.0kHz | Delay 3s | ||||||
| 216-220 | PWM = 3.6kHz | Delay 3s | ||||||
| 221-225 | PWM = 4.2kHz | Delay 3s | ||||||
| 226-230 | PWM = 4.8kHz | Delay 3s | ||||||
| 231-240 | No function | |||||||
| 241-243 | FOCUS RESET | Delay 3s | ||||||
| 244-255 | No function | |||||||
Remark 1: 1CH and 2CH modes have no FOCUS channel: FOCUS is adjusted in the setup menu.
Remark 2: in the function channel you can choose “DIM behavior = DIMMER SPEED”. The dimmer speed value is set using the setup menu.
MAINTENANCE
- Make sure the area below the installation place is free from unwanted persons during servicing.
- Switch off the unit, unplug the mains cable and wait until the unit has been cooled down.
During inspection the following points should be checked:
- All screws used for installing the device and any of its parts should be tightly fastened and may not be corroded.
- Housings, fixations and installations spots (ceiling, truss, suspensions) should be totally free from any deformation.
- When an optical lens is visibly damaged due to cracks or deep scratches, it must be replaced.
- The mains cables must be in impeccable condition and should be replaced immediately when even a small problem is detected.
- In order to protect the device from overheat the cooling fans (if any) and ventilation openings should be cleaned monthly.
- The interior of the device should be cleaned annually using a vacuum cleaner or air-jet.
- The cleaning of internal and external optical lenses and/or mirrors must be carried out periodically to optimize light output. Cleaning frequency depends on the environment in which the fixture operates: damp, smoky or particularly dirty surroundings can cause greater accumulation of dirt on the unit’s optics.
- Clean with a soft cloth using normal glass cleaning products.
- Always dry the parts carefully.
Attention: We strongly recommend internal cleaning to be carried out by qualified personnel!
SPECIFICATIONS
This unit is radio-interference suppressed. This product meets the requirements of the current European and national guidelines. Conformity has been established and the relevant statements and documents have been deposited by the manufacturer.
- Mains Input: AC 110 – 240V, 50/60Hz
- Power consumption: 226 Watts maximum
- Power connections: PowerCon compatible input / output
- DMX connections: 3&5 pin-XLR male / female inputs + outputs
- Lamp: CW/WW LED 400W (WW 200W + CW 200W)
- CRI-factor: >97
- Beam Angle: electronic zoom 11°→56°
- IP-Rating: IP20
- Size: See drawing
- Weight: 9 kg

Photometric data

Lux charts
The information might be modified without prior notice
You can download the latest version of this user manual on our website: www.briteq-lighting.com
MAILING LIST
EN: Subscribe today to our mailing list for the latest product news!
FR: lnscrivez-vous a notre liste de distribution si vous souhaitez suivre l’actualite de nos produits!
NL: Abonneer je vandaag nog op onze mailinglijst en ontvang ons laatste product nieuws!
DE: Abonnieren Sie unseren Newsletter und erhalten Sie aktuelle Produktinformationen!
ES: Suscribete hoy a nuestra lista de correo para recibir las ultimas noticias!
PT: lnscreva-se hoje na nossa mailing list para estar a par das ultimas noticias!
Copyright© 2022 by BEGLEC NV
‘t Hofveld 2C ~ B1702 Groot-Bijgaarden ~ Belgium
Reproduction or publication of the content in any manner, without express permission of the publisher, is prohibited.
MAINS INPUT: equipped with PowerCON® compatible connectors. Connect the supplied mains cable or any PowerCon® extension cable here.






















