BLAUPUNKT HOS-X20 Lampcam Full HD Video Surveillance Camera and Dimmable LED Outdoor Light Instruction Manual
Precautions
Please read this manual carefully before using it for the first time and keep it for future reference to look up
The safety precautions contained herein reduce the risk of fire, electric shock and injury, if they are followed correctly
- Children do not recognize the dangers that can result from improper handling of electrical appliances. Never allow children to use electrical appliances unsupervised.
- Suffocation! Do not leave packaging material behind. Children can swallow small parts and choke on it.
- Before use, make sure that the existing mains voltage matches the required operating voltage of the article (see “Technical data”).
- Do not use the product if it is damaged.
- These devices may only be installed by a qualified electrician, otherwise there is a risk of fire or electric shock!
- Incorrectly carried out work on live parts may cause a fire.
- Operation of the device is only permitted on the 100-240V AC mains. Before use, make sure that the existing mains voltage matches the required operating voltage of the item.
- Perform the installation in accordance with local regulations.
- Avoid influence of dust or moisture.
Declaration of conformity
Hereby Security Brand Pro GmbH declares that the radio equipment type “Blaupunkt HOS-X20” complies with the directive 2014/53 / EU. The full text of the EU Declaration of Conformity is available at the following Internet address: https://www.blaupunkt.com/eu-declarations/
Dispose
Old appliances must not be disposed of with normal household waste. In accordance with Directive 2012/19/EU, the device must be disposed of properly at the end of its service life. The recyclable materials contained in the device are recycled and pollution of the environment is avoided. Return the old device free of charge to a collection point for electrical waste or a recycling yard.
Dispose of the packaging materials in an environmentally friendly manner by placing them in the collection containers provided.
General recycling symbol Further information can be found under: www.mueller-licht.de/ recycle/
Green Dot
Technical Specifications
| Image sensor | OV2710 1/2.7” 1080P CMOS |
| Resolution | Full HD (1920x1080p) |
| Video Compression | H.264 encoding |
| Horizontal Angle of View | H: 120°+-5° V: 68°~73° |
| Colour Temperature | 3000K |
| Min Illumination (LED Lamp): | 100 Lumen |
| Max Illumination (LED Lamp) | 950 Lumen |
| Min Illumination (IR LED) | 1~4 Lux |
| Max Illumination (IR LED) | 2~6 Lux |
| Wireless Interface | WiFi(802.11 b/g/n) (2.4GHz) |
| Frequency band of wireless RF mode | 2412~2472 MHz |
| Max. radiated transmission power | 20dBm |
| Radio range (free field) | 150M |
| Power Input | 90-260V (AC) |
| Mains frequency | 50/60Hz |
| Operating Temperature | -20~50°C |
| Operating Humidity | 10%RH~95%RH |
| Storage | Micro-SD card up to 128GB (not included) |
| Power Input | AC 90 – 260V (Adaptor not included) |
| Audio communication | Two-Way audio communication |
| Security Encryption | WEP/WPA/WPA2 (TKIP, 128 bit AES) |
| Motion detection method | PIR up to 5m |
| Night Vision | Up to 8m |
| Waterproof | IP55 |
| Operating conditions | -20°C ~ 50°C |
| Dimensions (W x H ) | 63,8 x 180,7 mm |
Kit Content

Product Description

NOTE:
This manual explains the installation and 1st time configuration of the HOS-X20. For any further information or latest updated versions, please visit our website http://security.blaupunkt-service.com
Installation
IMPORTANT – Read before installing
- Before the installation, please make sure the make sure the wall structure / installation surface can at least support 3x weight of the LampCam.
- Check your Wi-Fi signal strength. To make sure that your LampCam’s connection is as stable as possible, make sure that the Wi-Fi signal is very strong at the location of your LampCam. The suggested Internet bandwidth is 1Mbps (upload/download speed).
- Recommendation: Avoid the lens aiming directly into the sunshine and if possible install the LampCam under a roof or eave (Pic.1) or a position which offers a good protection against heavy rain.
- If you desire to install a microSD card we recommend doing it before the installation process. Please refer to microSD card installation for more information.
- For best performance, please install the LampCam at a height of 2.5 meters. (Pic.2)

Micro SD Card installation
Step 1: At the bottom of the LampCam open the compartment by unscrewing the screw .A
Step 2: Install the SD-Card into the indicated SD-card slot.
Step 3: Close the compartment by placing the cover and fasting the screw.
Optional: Pre-Installation testing of the LampCam
Before installing it is possible to turn ON the LampCam via the micro USB port with a power bank or 2A micro USB power supply. Wait until the LampCam makes a double beep tone and the Blue LED indicator at the bottom of the LampCam starts flashing. (This process would take around 60 seconds, make sure the LED is flashing in blue). Then refer to chapter “4.1. Learn in a LampCam”.
Note: The led light of the LampCam won’t turn on when connected via USB.
LampCam Installation
IMPORTANT:
Setup and installation of the LampCam should only be performed by a person with adequate knowledge in handling electricity power. DO NOT attempt installation if you do not possess required skill.
Step 1:
Please make sure you have turned OFF the power from the circuit breaker before this step
Step 2:
Find the desired installation location for the LampCam. The installation location needs to have 220V AC wires (grounding, phase and neutral wire). (e.g. of a previously installed Outdoor Lamp.)
Step 3:
Place the included installation positioning map on the wall and mark with a pencil the two holes that need to be drilled.
Step 4:
Drill the 2 mounting holes on the wall. Take the plastic dowels included in the installation accessories set and insert them into the 2 holes that where just drilled.
Step 5:
Perforate a small hole with a sharp object at position in the rubber pad and lead the AC wires from the wall through the back of the mounting bracket to the terminal blocks.
Step 6:
Lead the AC wires from the wall through the back of mounting bracket and connect them in the following way:
- Phase wire (brown) to terminal block with brown cable.
- Neutral wire (blue) to terminal block with blue cable.
- Protective earth wire (Yellow/Green): Leave it hanging out, it will be connected in Step 8. Now place the terminal block back into the mounting bracket.

Step 7:
Take the screws included in the installation accessories set and fasten the mounting bracket to the wall. Make sure that the “UP” sign is at the top.
Step 8:
Take the protective earth wire (yellow/green) and connect it to the green screw with an earth icon at the back of the camera.
Then connect the cable from the LampCam to the black junction box located at the mounting bracket.
Step 9:
Install the LampCam on the mounting bracket.
Step 10:
Fasten the screw to the mounting bracket using the included hex wrench.
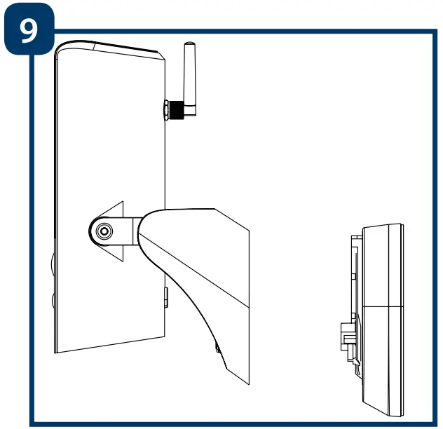
Step 11:
Adjust the tilt angle of the LampCam by fasting the “adjustment screws”
Step 12:
Adjust the horizontal angle of the LampCam approx 30 degrees to left or right. Loosen the screw on the back using the hex wrench included in the installation accessories set. Screw it firmly when you are done.
Step 13:
Once the installation is completed turn on the power from the circuit breaker and the led lamp of the LampCam will power up
Usability of LampCam and APP

Learn in a LampCam:
- Step 1:
Download and install the “OMGuard HD” APP to your smartphone. - Step 2:
Take your smartphone, go to your Wi-Fi settings and select the new Wi-Fi Network starting with HD (example HD-15584) to connect to it. This network is a Wi-Fi created by the LampCam to enable the setup procedure. - Step 3:
Enter the LampCam Wi-Fi default password 12345678 and save the settings to connect. You will not have internet connection, but you will be able to continue the LampCam setup procedure. - Step 4:
Now start the OMGuardHD App and tap the “add camera”
button - Step 5:
At “System Name” type any desired name for your LampCam. E.g. “Front door” - Step 6:
Tap “Scan DID label” for Android) or the QR icon (for iOS) and scan the QR code label located at the back of the LampCam. - Step 7:
At Security code enter the default Security Code 123456. - Step 8:
Tap “Save”.
Wi-Fi settings
Step 1:
On the LampCam menu tap the config LampCam icon
and tap the settings icon
from the desired LampCam. Then tap the “Advanced” button
Step 2:
Enter the “Admin password” (default 123456).
Step 3:
For security reasons the APP will request to modify the default Admin password. (The Admin password will be used to access the settings menu and to arm / disarm the LampCam). We recommend to write down this password in a safe place. Otherwise if you forget it you would need to factory reset the camera.
Step 4:
Scroll down to Wi-Fi settings and tap “Manage Wi-Fi network”
Step 5:
Select your home Wi-Fi Access Point from the scroll down menu and input your Wi-Fi password. Then tap “OK”
Step 6: The LampCam will be offline for around 60 seconds while rebooting. When the LampCam connects to the Wi-Fi router correctly, the blue Network Indicator LED will be turned ON permanently. From now on, you can remotely access to the LampCam at any time and from any place.
LampCam configuration
On the LampCam menu list tap the config LampCam icon and tap the settings icon from the desired LampCam. Then tap the “Advanced” button to enter the “Advanced Settings Menu”. For security reasons you will be asked to enter the “Admin password”.
→
→ ![]()
Sensitivity Setting
Scroll down to “Sensitivity Setting”. At “Detect Mode” select “PIR” to activate PIR motion detection (factory default setting). The PIR motion detection has a 5m detection range. To deactivate motion detection select “OFF” .
Lighting Setting
Scroll down to “Lighting Setting” and select the desired “Lighting auto mode”.
By trigger: Select this option to turn the light ON for 1 minute after PIR motion detection. (Please check in chapter 5.1. that PIR detection is activated) After one minute the light will turn OFF. (PIR needs to be selected on “Sensitivity Settings”). Light will turn ON only if there is a low environment illumination. By manual Schedule: Select this option to turn the light ON according to a preconfigured schedule. To set up a schedule select “Lighting Schedule Modify”. Select a Starting time: Click the 00:00AM blue button at the top. At the top select the days of the week to be included. Select the time when the light should be turned ON. Time format is 12H, select AM or PM to define the time. Select a Ending time: Click the 00:00AM black button at the bottom. At the bottom select the days of the week to be included. Select the time when the light should be turned OFF. Time format is 12H, select AM or PM to define the time. Click the “Save” button at the bottom to save all the settings

Note:
PIR trigger for motion detection and manual schedule will work only under AUTO mode. Refer to chapter “6. Live View Functionalities” for more details
SD Card Setting
Click “Format SD-Card” to perform a SD-Card format. This will erase all the videos and images on the SDCard. If the “Over write SD-Card” check box is activated the LampCam will overwrite the oldest recording once the storage is full. If deactivated the LampCam won’t record any event once the storage is full.
Notifications:
Push notifications: Scroll down to “Notify Enable”. Enable / Disable push notifications when movement is detected under arm mode. (Enabled by default)
Email notifications: To enable the same information as push notifications for e-mail, scroll down to “Email Setting” and click “Set e-mail”. Config according to the right hand chart. Note: Ensure that “Two-factor authenticator” is disabled on your sending e-mail account. (e.g. Google, Outlook365). To learn more, check instructions from your e-mail provider.
| SSL | Activate / deactivates SSL encryption |
| SMTP Server | Input the server SMTP address. To learn more, check instructions from your e-mail provider. For Gmail use smtp.gmail.com |
| SMTP Port | If SSL is not activated use “25” If SSL is activated use “465” |
| Username | The user name of the sender email account. E.g: [email protected] |
| Password | The password of sender email account. |
| Receiver | Receiver email address |
Live View Functionality
Step 1:
Launch the OMGuard HD app.
Step 2:
On the LampCam list menu double tap the desired LampCam to access livestream.
Step 3:
For security reasons the first time you log in to the LampCam the APP will request to modify the default Security code. (The Security Code is used to establish a communication between the LampCam and the smartphone. This is not the same as the Admin password). We recommend to write down this password in a safe place. Otherwise if you forget it you would need to factory reset the camera.
Step 4:
Refer to the bellow table to learn more about the operations that are available on the Live Stream menu
![]() | Click on the arm / disarm button to arm or disarm the LampCam. The App will ask for the admin code to perform this action. If the camera detects movement during arm mode, it will send a push notification and start a 60s video recording. Note: Push notifications and PIR motion detection need to remain en- abled in advanced settings (enabled by default). |
| Take a snapshot from the current video stream. The Snapshot will be stored on the smartphone and can be found on your smartphone photo gallery. | |
| Start a 60 seconds video recording without pause to the LampCam micro-SD card. SD-Card Is mandatory for this feature. To find the videos please refer to the “Event playback” menu.
| |
| Activates / deactivates the microphone to listen through LampCam. | |
| Push To Talk button: Push this button and keep pressing to talk from your Mobile Phone through the LampCam. To stop talking release the button. | |
| Tap this button to launch a 60 seconds siren alarm. It’s possible to stop the siren by tapping the icon again. | |
| Return to LampCam list menu | |
![]() | Slide the bar to adjust the brightness of the LampCam from 0 to 800lm. Tap the bulb icon to turn the light ON / OFF or AUTO. ON: The light of the LampCam will be turned ON permanently. OFF: The light of the LampCam will be turned OFF. AUTO: The light will turn ON automatically according to your lighting trigger setting. see chapter 5.2. PIR trigger for movement detection and manual schedule will work only under AUTO. |
Event Playback
Important:
For this feature to work it is mandatory to have a micro SD-card installed on the LampCam. Refer to chapter “3.2. Micro SD Card installation”.
Step 1:
On the LampCam list menu tap the config LampCam icon and then tap the notepad icon from the desired LampCam.![]()
Step 2:
Select a starting and ending point for the LampCam to search for video recordings. Then click “OK”.
Step 3:
The LampCam will display all the video recordings from the previous time range. Each video will display the date and time from when the video was recorded.
Step 4:
To download a video click the right download icon from the desired video. The video would be downloaded to your smartphone and could be found in your smartphone gallery. A downloaded video will be displayed with the name in red.
Step 5:
To watch the video without downloading it you can click on the desired video and the video. Now the video will be streamed to your smartphone.
Step 6:
To delete a video from the micro-SD card select the pencil icon, then select the video and tap the trash icon.
Maintenance
- Please turn off the power and unplug the power cable, if there is any smoke, disgusting smell, or noise. Please contact your local retailer or customer service center for help.
- Avoid oil stain and or chemicals tarnishing and damaging the lens surface.
- All the examination and repair work should be done by qualified service engineers. We are not liable
for any problems caused by unauthorized modifications or attempted repair.
Firmware Upgrade
The LampCam will look for firmware upgrades automatically. When the LampCam detects a new firmware it will download it automatically. The next time the user logs on the LampCam the app will ask if the user want to upgrade the system. Click “OK” to start the Firmware upgrade. This process takes around 5 minutes.

Factory Reset
Step 1:
At the bottom of the LampCam open the compartment by unscrewing the screw.
Step 2:
Use the included reset pin and press the reset button for 10 seconds.
Step 3:
The power LED will starting flashing and factory reset will began.
Step 4:
This process would take around 60 seconds. Wait until the LampCam makes a double beep tone and the Blue LED indicator starts flashing.
Step 5:
Close the compartment by placing the cover and fasting the screw into it.

Support

For more product information, please visit
www.blaupunkt.com/service
Blaupunkt Competence Center Security & Care
www.blaupunkt.com
Security Brand Pro GmbH Mondstrasse 2-4 85622 Feldkirchen-München, Germany © Technical changes and errors excepted
NOTE:
- This manual is for reference only. Slight difference may be found in the user interface.
- All the designs and software here are subject to change without prior written notice.
- All trademarks and registered trademarks mentioned are the properties of their respective owners.
- Please visit our website or contact your local service engineer for more information at: http://security.blaupunkt-service.com
Technical Specifications
| Image sensor: | 2 MegaPixel, 1/3” CMOS |
| Resolution | Full HD (1920x1080p) |
| Video Compression | H.264 |
| Field of View | 120º |
| Colour Temperature | 3000K |
| Adjustable Brightness | 100 – 950 Lumen |
| Waterproof certification | IP55 |
| Storage | Micro-SD card up to 128GB (not included) |
| Power Input | AC 90 – 260V (Adaptor not included) |
| Audio communication | Two-Way audio communication |
| Internet connection | WiFi 802.11b/g/n (2.4GHz) |
| Security Encryption | WEP/WPA/WPA2 (TKIP, 128 bit AES) |
| Motion detection method | PIR up to 5m |
| Night Vision | Up to 8m |
| Operating conditions | -20°C ~ 50°C |
| Dimensions (W x H ) | 63,8 x 180,7 m |

























