eurolite THA-150F Theater Spot User Manual

LED THA-150F Theater Spot
DANGER!
Electric shock caused by short-circuit
Be careful with your operations. With a dangerous voltage you can suffer a dangerous electric shock when touching the wires. Never open the housing. Keep the device away from rain and moisture.
Please read these instructions carefully before using the product. They contain important information for the correct use of the product.
Every person involved with the installation, operation and maintenance of this device has to
- be qualified
- follow the instructions of this manual
- consider this manual to be part of the total product
- keep this manual for the entire service life of the product
- pass this manual on to every further owner or user of the product
- download the latest version of the user manual from the Internet
INTRODUCTION
Thank you for having chosen one of our products. If you follow the instructions given in this manual, we are sure that you will enjoy this device for a long period of time.
Product features
Fresnel spot, dim to warm, 170 W warm white/amber LED, CRI > 90, quiet, DMX
- Functions: dimmer with 8 or 16 bit resolution, strobe effect with variable speed, random strobe effect, motorized zoom
- Various dimmer curves adjustable via control panel
- LED technology that simulates the color temperature curve of a halogen lamp when dimming
- Flicker-free projection
- Zoom adjustable via DMX or manually on the device
- Stepless brightness regulation via rotary control direct on the device
- Equipped with a warm white/amber COB LED (2in1)
- Stepless WW+A color mixture
- Color rendering index (CRI) >90
- Light output via Fresnel lens
- Metal housing
- Mounting bracket for installation on a stand or a crossbeam
- Locking possibility at the bracket
- Temperature-protected handle
- Additional rubber feet when the spot shall be positioned on the floor
- Rotatable barn doors and color filter frame included in the delivery
- 2, 6 or 7 DMX channels selectable
- DMX-controlled operation or stand-alone operation
- DMX512 control possible via any commercial DMX controller
- Supports RDM (Remote Device Management)
- Fan-cooled
- Comfortable addressing and setting via control panel with LCD and four operating buttons
- P-Con terminals for power linking up to 8 units
SAFETY INSTRUCTIONS
WARNING!
Please read the safety warnings carefully and only use the product as described in this manual to avoid accidental injury or damage.
Intended use
- This device is an LED theater spot for creating decorative lighting effects. This device is designed for professional use in the field of event technology, e.g. on stage. It is not suitable for household lighting.
- Only use the device according to the instructions given herein. Damages due to failure to follow these operating instructions will void the warranty! We do not assume any liability for any resulting damage.
- We do not assume any liability for material and personal damage caused by improper use or noncompliance with the safety instructions. In such cases, the warranty/guarantee will be null and void.
- Unauthorized rebuilds or modifications of the device are not permitted for reasons of safety and render the warranty invalid.
Danger due to electricity
- The device is suitable for indoor use only. Do not use it outdoors. Never expose it to rain or moisture. Do not store it in rooms exposed to moisture.
- To reduce the risk of electric shock, do not open any part of the device. There are no serviceable parts inside the device.
- Only connect the device to a properly installed mains outlet. The outlet must be protected by residual current breaker (RCD). The voltage and frequency must exactly be the same as stated on the device. If the mains cable is equipped with an earthing contact, then it must be connected to an outlet with a protective ground. Never deactivate the protective ground of a mains cable. Failure to do so could possibly injure the
user. - The mains outlet must be easily accessible so that you can unplug the device quickly if need be.
- Never touch the mains plug with wet or damp hands. There is the risk of potentially fatal electric shock.
- The mains cable must not be bent or squeezed. Keep it away from hot surfaces or sharp edges.
- Never pull the mains cable to disconnect the mains plug from the mains outlet, always seize the plug.
- Unplug the device during lightning storms, when unused for long periods of time or before cleaning.
- Do not expose the device to any high temperatures, direct sunlight, dripping or splashing water, strong vibrations or heavy mechanical stress.
- Do not place any objects filled with liquids on the device.
- Do not place any open sources of fire, such as burning candles, on or directly next to the device.
- Make sure that objects cannot fall into the device, in particular metal parts.
- Only have repairs to the device or its mains cable carried out by qualified service personnel. Repairs are required when the device or the mains cable is visibly damaged, liquid has been spilled or objects have
fallen into the device; when the device has been exposed to rain or moisture, has been dropped or malfunctions occur. - Cleaning of the device is limited to the surface. Make sure that moisture does not come into contact with any areas of the terminal connections or mains voltage control parts. Only wipe off the product with a soft lint-free and moistened cloth. Never use solvents or aggressive detergents.
Danger to children and people with restricted abilities
- This product is not a toy. Keep it out of the reach of children and pets. Do not leave packaging material lying around carelessly. Never leave this device running unattended.
- This device may be used only by persons with sufficient physical, sensorial, and intellectual abilities and having corresponding knowledge and experience. Other persons may use this device only if they are supervised or instructed by a person who is responsible for their safety.
Warning – risk of burns and fire
- The admissible ambient temperature range (Ta) is -5 to +45°C. Do not operate the device outside of this temperature range.
- The housing temperature (Tc) can be up to 60°C during use. Avoid contact by persons and materials.
- Do not illuminate surfaces within 20 cm of the device. This value is indicated on the device by the symbol.
- Do not use the device near highly flammable materials. Always place the device at a location where sufficient air circulation is ensured. Leave 50 cm of free space around the device. Never cover the air vents
of the housing.
Warning – risk of injuries
- Do not look directly at the light source. Persons with light-sensitive epilepsy may suffer from epileptic seizures or fall unconscious.
- Make sure that the product is set up or installed safely and expertly and prevented from falling down. Comply with the standards and rules that apply in your country, in particular EN 60598-2-17.
- If you lack the qualification, do not attempt the installation yourself, but instead use a professional installer. Improper installation can result in bodily injury and or damage to property.
- The manufacturer cannot be made liable for damages caused by incorrect installations or insufficient safety precautions.
- For overhead use, always secure the device with a secondary safety attachment such as a safety bond or safety net.
- Make sure that the area below the installation place is blocked when rigging, derigging or servicing the device.
- For commercial use the country-specific accident prevention regulations of the government safety organization for electrical facilities must be complied with at all times.
Caution – material damage
- This device must not be connected to the mains voltage by means of a dimmer.
- Lighting effects are not designed for permanent operation. Consistent operation breaks will ensure that the device will serve you for a long time without defects.
- Never switch the device on and off in short intervals. This will considerably reduce the service life of the device.
- If the device has been exposed to drastic temperature fluctuation, do not switch it on immediately. The resulting condensation may destroy the device. Allow the device to reach room temperature before connecting it. Wait until the condensation has evaporated.
- Please use the original packaging to protect the device against vibration, dust and moisture during transportation or storage.
- If a serial number label is affixed to the device, do not remove the label as this would make the guarantee void.
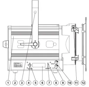
DESCRIPTION OF THE DEVICE

- Housing
- Rubber foot
- Safety bond hole
- Enter button
- Mode button
- Display
- Down button
- Up button
- Zoom knob
- Dimming knob
- Fixing for barn doors and color filter frame
- Barn doors

- Mounting bracket
- Temperature-protected handle
- 3 pin. DMX input
- 5 pin. DMX input
- Power input
- Fuse holder
- Power output
- 5 pin. DMX output
- 3 pin. DMX output
- Fixation lever
INSTALLATION
WARNING! Risk of injury caused by falling objects Devices in overhead installations may cause severe injuries when crashing down. Make sure that the device is installed securely and cannot fall down. The installation must be carried out by a specialist who is familiar with the hazards and the relevant regulations.
The device may be placed via the mounting bracket on a lighting stand or fastened to a truss or similar rigging structure. The device must never be fixed swinging freely in the room.
- The rigging structure must support at least 10 times the weight of all fixtures to be installed on it.
- Block access below the work area and work from a stable platform when installing the device.
- Use rigging hardware that is compatible with the structure and capable of bearing the weight of the device. Please refer to the “Accessories” section for a list of suitable rigging hardware.
- Secure the device with a safety bond or other secondary attachment. This secondary safety attachment must be sufficiently dimensioned in accordance with the latest industrial safety regulations and constructed in a way that no part of the installation can fall down if the main attachment fails. Use the hole on the side of the mounting bracket for fixation of the safety rope. Fasten the safety rope in such a
way that, in the event of a fall, the maximum drop distance of the device will not exceed 20 cm - To align the device, release the fixation levers at the mounting bracket, adjust the desired inclination angle and tighten the fixation levers.
- After installation, the device requires inspections periodically to prevent the possibility of corrosion, deformation and looseness.
Installation on a lighting stand
Please note: All devices, lighting effects and crossbeams attached on a stand must be secured with a secondary attachment!
- Attach an appropriate adapter or TV-adapter to the top end of the stand and fasten it with the fixation screw.
- Attach the mounting bracket of the theater spot onto the TV-adapter and tighten the fixation screw.
- The given carrying capacity of the stand must not be exceeded. Please consult the appropriate user manual for further information.
- To align the device, release the fixation levers at the mounting bracket, adjust the desired inclination angle and tighten the fixation levers.
- After installation, the device requires inspections periodically to prevent the possibility of corrosion, deformation and looseness.
CONNECTIONS
DMX512 control
A DMX512 data link is required in order to control the device via DMX. The device provides 3-pin and 5-pin XLR connectors for DMX connection.
- Connect the output of your DMX controller to the DMX input DMX IN of the device with a DMX cable.
- Connect the DMX output DMX OUT of the device to the DMX input of the next unit in the chain. Always connect one output to the input of the next unit until all units are connected.
- At the last unit, the DMX cable has to be terminated. Plug the terminator with a 120 Ω resistor between Signal (–) and Signal (+) in the DMX output of the last unit.
- If the cable length exceeds 300 m or the number of DMX devices is greater than 32, it is recommended to insert a DMX splitter to ensure proper data transmission. XLR connection:

Connection to the mains
The device uses an auto-range power supply that accepts input voltages between 100 und 240 volts.
- The device is equipped with a lockable power input connector. Fix the mains cable and turn it to the right until it locks. Connect the device via the mains cable to a grounded mains socket. Thus the unit is switched on.
- To switch off the unit, disconnect the power plug.
- Do not connect the unit to the mains voltage via a dimmer. For a more convenient operation, use a mains outlet which is switchable.
Power supply of further devices
The jack POWER OUT allows for power supply of further devices. To interconnect several devices, connect the jack POWER OUT to the input POWER IN of the next unit until all units are connected. Matching power cables with P-Con plugs are available as accessories. In this manner, up to 8 devices can be linked at 230/240 input voltage and up to 4 devices at 110/115 input voltage.
OPERATION
After you connected the device to the mains, the LED THA-150F Theater Spot starts running. During the reset, the motor is trimmed and then the device is ready for use.
You can choose the desired setting via the buttons MODE, ENTER, UP and DOWN.
The device has two operating modes. It can be operated in stand-alone or in DMX-controlled mode.
Stand-alone mode
In the stand-alone mode, you can do without a controller. Disconnect the theater spot from the controller.
Rotary dial instructions (both rotary dials work together):
The Dimmer and Zoom rotary dials are located on the side of the device, as listed under the chapter
Description of the device.
Dimmer-Dial: Press the Dimmer dial and you can adjust the brightness step by step, while at the same time the Zoom dial enables faster brightness settings. Press the Dimmer dial again and you’re back in DMX mode.
Zoom-Dial: Press the Zoom dial and you can adjust the zoom step by step, while at the same time the Dimmer dial enables faster zoom settings. Press the Zoom dial again and you’re back in DMX mode.
Control Board
The Control Board offers several features: you can set the starting address, program the desired dimming curve or make a reset.
Press MODE to enter the main menu. Browse through the main menu by pressing Up or Down. Press Enter in order to select the desired menu. You can change the selection by pressing the UP or DOWN buttons. Press ENTER in order to confirm your choice. You can leave every mode by pressing MODE. The functions provided are described in the following sections.
OPERATION
After you connected the device to the mains, the LED THA-150F Theater Spot starts running. During the reset, the motor is trimmed and then the device is ready for use.
You can choose the desired setting via the buttons MODE, ENTER, UP and DOWN.
The device has two operating modes. It can be operated in stand-alone or in DMX-controlled mode.
Stand-alone mode
In the stand-alone mode, you can do without a controller. Disconnect the theater spot from the controller.
Rotary dial instructions (both rotary dials work together):
The Dimmer and Zoom rotary dials are located on the side of the device, as listed under the chapter
Description of the device.
Dimmer-Dial: Press the Dimmer dial and you can adjust the brightness step by step, while at the same time the Zoom dial enables faster brightness settings. Press the Dimmer dial again and you’re back in DMX mode.
Zoom-Dial: Press the Zoom dial and you can adjust the zoom step by step, while at the same time the Dimmer dial enables faster zoom settings. Press the Zoom dial again and you’re back in DMX mode.
Control Board
The Control Board offers several features: you can set the starting address, program the desired dimming curve or make a reset.
Press MODE to enter the main menu. Browse through the main menu by pressing Up or Down. Press Enter in order to select the desired menu. You can change the selection by pressing the UP or DOWN buttons. Press ENTER in order to confirm your choice. You can leave every mode by pressing MODE. The functions provided are described in the following sections.
Default settings shaded.
| Main menu | Sub menu | Display | Function | ||||
| SET ADDRESS | A001 ~ A511 / ~ A507 / ~ A506 | DMX address setting | |||||
| USER MODE | Channel Mode: 02 / 06 / 07 | DMX channel mode | |||||
| FUNCTION | Status | No DMX status | Close/Hold | Modes if no DMX | |||
| Fixture ID | Service PIN | Password=XXX | Passwort „050“ | ||||
| RDM PID | XXXXXX | RDM PID Code | |||||
| Fan. Set | Head Fan | Auto | Adjust fan speed | ||||
| Low | |||||||
| High | |||||||
|
LCD. Set | Backlight | 05 | S 02 ~ 60S | Display shutoff time | |||
| Key lock | ON/OFF | Key lock activation | |||||
| DispFlash | ON/OFF | Setting that the device will flash when there is no DMX signal received | |||||
| Temp. C/F | Celsius | Select temperature designation °C or °F | |||||
| Fahrenheit | |||||||
|
Dimmer Curve | Linear | The increase in light intensity appears to be linear as DMX value is increased | |||||
| Square | Light intensity control is finer at low levels and coarser at high levels | ||||||
| INV. Square | Light intensity control is coarser at low levels and finer at high levels | ||||||
| S-Curve | Light intensity control is fine at low levels and high levels and coarser at medium levels | ||||||
| Lamp Behavior | LED | Dimmer speed LED: Response characteristics of LEDs | |||||
| Halogen | Halogen: Response characteristics of halogen lamps | ||||||
| Load | ON/OFF | Restore factory settings | |||||
| INFORMATION |
Time. Info | Current | XXXX (h) | Power on running time | |||
| Total time | XXXX (h) | Fixture running time | |||||
| Last clear | XXXX (h) | Individual fixture running time | |||||
| Timer PIN | Password XXX | Password=„050“ | |||||
| Clear last | ON/OFF | Clear fixture individ. fixture running time | |||||
| Temp. Info | XXX °C/°F | Inside temperature | |||||
| Error. Info | None, Focus … | Error messages | |||||
| Model. Info | LED THA-150F | Model name | |||||
| Software version | V X.XX | Software version | |||||
|
TEST | Reset. M | Focus | Zoom reset | ||||
|
Panel. Ctrl. | Focus = 000-255 |
Manual adjustment | |||||
| Strobe = 000-255 | |||||||
| Warm white = 000-255 | |||||||
| Amber = 000-255 | |||||||
| Dimmer = 000-255 | |||||||
| Dimmer Fine = 000-255 | |||||||
| DTW = 000-255 | |||||||
| Calibrate | Focus | Password=„050“ | Calibration Zoom to standard position | ||||
Set Address
With this function, you can set the desired DMX-starting address via the Control Board.
User mode
With this
function, you can set the DMX channel mode.
Function Status
No DMX status
With this function, you can set different modes if there is no DMX-signal.
Close
Here you can close the shutter and set the device to center position if there is no DMX-signal.
Hold
Here the device remains in the last received DMX-program if there is no DMX-signal.
Fixture ID
Service PIN
The password for this function is „050“.
RDM
With this function, you can call up various submenus via RDM.
This device is RDM ready. RDM stands for “Remote Device Management” and makes remote control of devices connected to the DMX-bus possible. ANSI E1.20-2006 by ESTA specifies the RDM standard as an extension of the DMX512 protocol.
Manual settings like adjusting the DMX starting address are no longer needed. This is especially useful when the device is installed in a remote area.
RDM is integrated n the DMX-protocol without influencing the connections. The RDM-data is transmitted via the standard XLR-poles 1 and 2 – new DMX-cables are not necessary. RDM ready and conventional DMX devices can be operated in one DMX line. The RDM protocol sends own packages in the DMX512 data feed and does not influence conventional devices.
If DMX splitters are used and RDM control is to be used, these splitters must support RDM. The number and type of RDM parameters depend on the (optional) RDM controller being used. In general, the device supports the following commands and functions via RDM:
Fan. Set
With this function, you can adjust the ventilation fan mode.
Auto setting: To protect against overheating, the fan begins rotating at 45 ° C as measured by the thermal sensor. At a temperature of about 70 ° C the device performance will reduce automatically, to protect the LED.
LCD. Set
Backlight
With this function you can shut off the display after 5 to 60 seconds.
Key lock
With this function, you can lock the buttons of the Control Board to e.g. prevent menu tampering. If this function is activated, the buttons will be automatically locked in 15 seconds from the last command. In order to deactivate or temporarily deactivate the key lock function, press the MODE button for 3 seconds to regain access to the menu commands.
DispFlash
With this function, you can set the device that it will flash when there is no DMX signal received.
Temp. C/F
With this function, you can select the temperature designation °C or °F.
Dimmer Curve
With this function, you can set various dimmer curves.
LINEAR: the increase in light intensity appears to be linear as DMX value is increased.
SQUARE LAW: light intensity control is finer at low levels and coarser at high levels
INVERSE SQUARE LAW: light intensity control is coarser at low levels and finer at high levels
S-CURVE: light intensity control is fine at low levels and high levels and coarser at medium levels.

Lamp Behavior
This function indicates the dimmer speed, response characteristics of LEDs or response characteristics of halogen lamps.
Load
With this function, you can reset the device to the default setting. Set Load to “ON”.
Information
Time. Info
Current
With this function, you can display the temporary running time of the device from the last power on. The
display shows “XXXX”, “X“ stands for the number of hours. The counter is reset after turning the device off.
Total time
With this function, you can display the running time of the device. The display shows “XXXX”, “X“ stands for the number of hours.
Last clear
This function allows the operator to record the operating hours of the device, according to his requirements.
You can use the counter to document the operating hours since the last service, for example, or to document the operating hours from a rental. Individual operating hours can be reset at any time. The display shows
“XXXX”; “X” stands for the number of hours.
Timer PIN
Use this function to enter the password to clear the individual fixture running time. The password is „050“.
Clear Last
With this function, you can clear the individual fixture running time of the device (last run time). Please enter
the password under “Timer PIN” first.
Temp. Info
With this function, you can display the inner temperature in degrees Celsius or degrees Fahrenheit.
Error. Info
With this function, you can display error messages.
Model. Info
Within this function, you can display the type designation.
Software version
With this function, you can display the software version of the device.
Test
Reset. M
With this function you can reset the zoom of the device via the Control Board.
If “Focus” appears under Error.Info in the main menu, then please search for Reset.M in the main menu.
While in this menu point and after the ENTER button is pressed, the device performs a reset.
Panel.Ctrl.
With this function, you can adjust each channel manually without controller.
Calibrate
With this function, you can calibrate the zoom to the correct position. The password for this function is „050“.
DMX operation
Setting the number of DMX channels and the DMX starting address For operation with a controller with DMX512 protocol, the device is equipped with 7 control channels.
However, it can also be switched to a mode with 2 or 6 channels if different functions are required. To be able to operate the device with a DMX controller, the DMX starting address must be set. The starting
address depends upon which DMX controller is being used. Please refer to the controller’s documentation.
- Press the MODE button until Set Address is indicated on the display. Confirm with the ENTER button.
Now the display indicates the menu item for the DMX start address. Use the buttons UP and DOWN to set the address. Confirm with the ENTER button. - Press the MODE button. Press the buttons UP or DOWN so many times until User Mode is indicated on the display. Confirm with the ENTER button. The display indicates 02 (2 DMX channels), 06 (6 DMX
channels or 07 (7 DMX channels). Use the buttons UP and DOWN to select the desired number of DMX channels. Confirm with the ENTER button.
Note: Please make sure that you do not have any overlapping channels in order to control each device correctly and independently from any other fixture on the DMX chain. If several devices are addressed similarly, they will work synchronically
Controlling:
After having addressed the device, you may now start operating it via your lighting controller.
Note: After switching on, the device will automatically detect whether DMX 512 data is received or not. If there is data received at the DMX-input, the DMX signal indicator LED will flash.
This situation can occur if:
- the XLR plug (cable with DMX signal from controller) is not connected with the input of the device.
- the controller is switched off or defective, if the cable or connector is defective or the signal wires are swap in the input connector.
The individual channels and their features are listed under Functions in DMX mode.
Functions in DMX mode
2 Channel Mode
| Channel: | Value | Function: |
| 1 | 000 – 255 | Dim to warm (DTW) 0 – 100% |
| Channel: | Value | Function: |
| 2 | 000 – 255 | Zoom from small to big |
6 Channel Mode
| Channel: | Value | Function: |
| 1 | 000 – 255 | Dimmer (8bit) – Intensity from 0 – 100% |
| Channel: | Value | Function: |
| 2 | 000 – 255 | Dimmer (16bit) – Intensity from 0 – 100% |
| Channel: | Value | Function: |
|
3 Strobe | 000 – 031 | LED off |
| 032 – 095 | Linear strobe effect with increasing speed | |
| 096 – 159 | Pulsing strobe effect with increasing speed | |
| 160 – 223 | Random strobe effect with increasing speed | |
| 224 – 255 | LED on |
| Channel: | Value | Function: |
| 4 (when channel 6=0) | 000 – 255 | Warm white – Intensity from 0 – 100% |
| Channel: | Value | Function: |
| 5 (when channel 6=0) | 000 – 255 | Amber – Intensity from 0 – 100% |
| Channel: | Value | Function: |
| 6 | 000 – 255 | Dim to warm (DTW) 0 – 100% |
| Channel: | Value | Function: |
| 1 | 000 – 255 | Dimmer (8bit) – Intensity from 0 – 100% |
| Channel: | Value | Function: |
| 2 | 000 – 255 | Dimmer (16bit) – Intensity from 0 – 100% |
| Channel: | Value | Function: |
|
3 Strobe | 000 – 031 | LED off |
| 032 – 095 | Linear strobe effect with increasing speed | |
| 096 – 159 | Pulsing strobe effect with increasing speed | |
| 160 – 223 | Random strobe effect with increasing speed | |
| 224 – 255 | LED on |
| Channel: | Value | Function: |
| 4 | 000 – 255 | Zoom from small to big |
| Channel: | Value | Function: |
| 5 (when channel 7=0) | 000 – 255 | Warm white – Intensity from 0 – 100% |
| Channel: | Value | Function: |
| 6 (when channel 7=0) | 000 – 255 | Amber – Intensity from 0 – 100% |
| Channel: | Value | Function: |
| 7 | 000 – 255 | Dim to warm (DTW) 0 – 100% |
CLEANING AND MAINTENANCE
The outside of the device should be cleaned periodically to remove contaminants such as dust etc. The lens, in particular, should be clean to ensure that light will be emitted at maximum brightness.
- Disconnect the device from power and allow it to cool before cleaning.
- Clean the surface with a soft lint-free and moistened cloth. Never use alcohol or solvents as these may damage the surface. Make sure that no liquids can enter the device.
- The device must be dry before reapplying power.
There are no serviceable parts inside. Do not open the housing. Do not try to repair the device by yourself as this may result in damage. Maintenance and service operations are only to be carried out by authorized dealers. Should you need any spare parts, please use genuine parts. Should you have further questions, please contact your dealer.
Replacing the fuse
If the fine-wire fuse of the device fuses, only replace the fuse by a fuse of same type and rating.
- Disconnect the device from power and allow it to cool.
- Open the fuse holder at the mains connection with a fitting screwdriver.
- Remove the old fuse from the fuse holder and replace it with a new fuse.
- Carefully push the fuse holder back into its position before reapplying power.
PROTECTING THE ENVIRONMENT
Disposal of old equipment
When to be definitively put out of operation, take the product to a local recycling plant for a disposal which is not harmful to the environment. Devices marked with this symbol must not be disposed of as household waste. Contact your retailer or local authorities for more information. Remove any inserted batteries and dispose of them separately from the product.
You as the end user are required by law (Battery Ordinance) to return all used batteries/ rechargeable batteries. Disposing of them in the household waste is prohibited. You may return
your used batteries free of charge to collection points in your municipality and anywhere where batteries/rechargeable batteries are sold. By disposing of used devices and batteries correctly,
you contribute to the protection of the environment.
TECHNICAL SPECIFICATIONS
| Power supply: | 100-240 V AC, 50/60 Hz |
| Power consumption: | 150 W |
| Protection class: | I |
| Fuse: | T3A, 250V |
| DMX channels: | 2/6/7 |
| DMX connection: | 5-pin and 3-pin XLR |
| LED type: | COB 170 W (2in1), warm white/ amber |
| LED number: | 1 |
| Beam angle: | 8-39° |
| Dimensions (L x W x H): | 457 x 336 x 398 mm |
| Weight: | 9 kg |

Accessories
| EUROLITE TPC-10 Coupler, silver | No. 59006856 |
| EUROLITE Barndoors for THA-250F bk | No. 41602141 |
| EUROLITE DMX cable XLR 3pin 3m bk | No. 3022785H |
| PSSO DMX cable XLR 3pin 3m bk Neutrik | No. 30227810 |
| EUROLITE DMX cable XLR 5pin 3m bl | No. 30227862 |
| PSSO DMX cable XLR 5pin 3m bk Neutrik | No. 30227825 |
| PSSO PowerCon Connection Cable 3×1.5 3m | No. 3023503R |
| EUROLITE Safety Bond A 4x1000mm up to 15kg silver | No. 58010320 |

Eurolite is a brand of Steinigke Showtechnic GmbH Andreas-Bauer-Str. 5 97297 Waldbüttelbrunn Germany
D00120837.docx Version 1.1 Publ. 08/06/2021

DANGER!



















