Christopeit-Sport Ergometer ET 6 Exercise Bike Ergometer

IMPORTANT RECOMMENDATIONS AND SAFETY INSTRUCTIONS
Our products are all TÜV-GS tested and therefore represent the highest current safety standards. However, this fact does not make it unnecessary to observe the following principles strictly.
- Assembly the machine exactly as described in the installation instructions and use only the enclosed, specific parts of the machine. Before assembling, verify the completeness of the delivery against the delivery notice and the completeness of the carton against the assembly steps in the installation and operating instructions.
- Before the first use and at regular intervals (approximately every 50 Operating hours) check the tightness of all screws, nuts and other connections and the access shafts and joints with some lubricant so that the safe operatingcondition of the equipment is ensured. In particular, the adjustment of saddle and handlebar need smooth function and good condition.
- Set up the machine in a dry, level place and protect it from moisture and water. Uneven parts of the floor must be compensated by suitable measures and by the provided adjustable parts of the machine if such are installed. Ensure that no contact occurs with moisture or water.
- Place a suitable base (e.g. rubber mat, wooden board etc.) beneath the machine if the area of the machine must be specially protected against indentations, dirt etc.
- Before beginning training, remove all objects within a radius of 2 metres from the machine.
- Do not use aggressive cleaning agents to clean the machine and employ only the supplied tools or suitable tools of your own to assemble the machine and for any necessary repairs. Remove drops of sweat from the machine immediately after finishing training.
- Attention! Systems of the heart frequency supervision can be inexact. Excessive training can lead to serious health damage or to death. Consulta doctor before beginning a planned training programme. He can define the maximum exertion (pulse, Watts, duration of training etc.) to which you may expose yourself and can give you precise information on the correct posture during training, the targets of your training and your diet. Never train after eating large meals. This item is not suitable for therapeutically purposes!
- Only train on the machine when it is in correct working order. Use original spare parts only for any necessary repairs. Attention! Replace the worm parts immediately and keep this equipment out of use until repaired.
- When setting the adjustable parts, observe the correct position and the marked, maximum setting positions and ensure that the newly adjusted position is correctly secured.
- Unless otherwise described in the instructions, the machine must only be used for training by one person at a time. The exercise time should not overtake 90 min/daily.
- Wear training clothes and shoes which are suitable for fitness training with the machine. Your clothes must be such that they cannot catch during training due to their shape (e.g. length). Your training shoes should be appropriate for the trainer, must support your feet firmly and must have non-slip soles.
- Attention! If you notice a feeling of dizziness, sickness, chest pain or other abnormal symptoms, stop training and consult a doctor.
- Never forget that sports machines are not toys. They must thereforeo nly be used according to their purpose and by suitably informed and instructed persons.
- People such as children, invalids and handicapped persons should only use the machine in the presence of another person who can give aid and advice. Take suitable measures to ensure that children never use the machine without supervision. Ensure that the person conducting training and other people never move or hold any parts of their body into the vicinity of moving parts.
- It must be ensured that the user and other people never go or stand with any body parts in the area of still moving parts.
- At the end of its life span this product is not allowed to dispose over the normal household waste, but it must be given to an assembly point for the recycling of electric and electronic components. You may find the symbol on the product, on the instructions or on the packing. The materials are reusable in accordance with their marking. With the re-use, the material utilization or the protection of our environment. Please ask the local administration for the responsible disposal place.
- To protect the environment, do not dispose of the packaging materials, used batteries or parts of the machine as household waste. Put these in the appropriate collection bins or bring them to a suitable collection point.
- For speed-dependent operation mode, the braking resistance level can be adjustable manually and the variations of power will depend on the pedaling speed. For speed-independent operation mode, the user can set wanted power consumption level in Watt, constant power level will be kept by various braking resistance levels, that will be determined automatically by system. That is independent on the pedaling speed.
- The unit has a resistance device with 24 levels. This makes it possible to increase or reduce the braking resistance and thus the amount of effort required in the training. Pressing the button with „-“ reduces the braking resistance and thus the amount of effort required in the training. Pressing the button „+“ increases the braking resistance and thus the amount of effort required in the training.
- This machine has been tested in compliance with wird EN ISO 20957-1:2013 and EN ISO 20957-5:2016 „H/A“. The maximum permissible load (=body weight) is specified as 150 kg. The classification of HA means this exercise bike is designed for home use only and with good accuracy class, the variations of power consuming are within ±5W up to 50W and ±10% over 50W. This item’s computer corresponds to the basic demands of the EMV Directive of 2014/53/EU (RED).
- The assembly and operating instructions is part of the product. If selling or passing to another person the documentation must be provided with the product.
ASSEMBLY INSTRUCTIONS
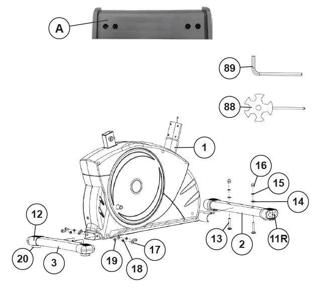
Before beginning assembly, be sure to observe our recommendations and safety instruction. Remove all the part of your cycle from the carton and place them on the floor carefully. Some parts are pre-assembled. Assembly time: 30 – 40 min. Part „A“ serves as a transport safety device and it is no need after build up.
STEP 1
Attach the front and rear stabilizer (2+3) at mainframe (1).
- Attach the rear stabilizer (3) assembled with 2 rear caps (12) and adjustable feet (20) to main frame (1), using 2 fallen head bolts (17), 2 washers (19) and 2 spring washers (18). You can use adjustable feet (20) to level the bike at uneven floor.
- Please dismount the plastic protection from front side of main frame and use the screw materiel for assembly the front foot. Attach the front frontstabilizer (2), mounted with 2 front caps with transportation roller (11), to the base frame (1) so that the transport rollers point to the front and screw it using the carriage bolts (13), washers (14), spring washers (15) and cap nuts (16).

STEP 2
Attach the pedals (9R+9L) at pedal crank (10L+10R).
- Attach the pedal straps to the appropriate pedals (9R+9L). Attention! The end with many adjustable holes must be set outwards.
- The pedals (9R+9L) are marked with „R“ & „L“. Right and Left is specified as viewed seated on the machine during training. Connect each pedal (9R+9L) to the matching pedal crank (10R+10L) (Attention! The right pedal (9R) should be threaded on clockwise. The left pedal (9L) should be threaded on counter-clockwise.)

STEP 3
Attach the seat (7) and seat post (6).
- Slide the plastic collar (34) to cover the seat post (6). Insert the seatpost (6) to seat post mounting tube of mainframe (1) and secure inposition with the seat post quick release (32).
- Place the saddle (7) with the seat surface downwards. Place the saddle bracket (7a) on the upwards pointing bottom of the saddle (7). The threaded pieces on the bottom of the saddle must project through the corresponding holes in the saddle bracket (7a). Place washers (19) on the threaded pieces, screw on nuts (72) and tighten firmly.
- Put the clamp of seat (7) to the seat slide (38) and tighten the seat firmly into your desired position. To do this, tighten the black nuts on both sides.
- Place the seat slide (38) on the seat post (6) and adjust your seat (7) horizontally to your desired position. Secure this position with the washer (14) and star grip nut (35) on the fixed bracket (36).

STEP 4
Attach the handlebar post (4) at mainframe (1).
- Remove the pre-assembled 6 allen head bolt (17), 4 washers (19), 2 washers (41) and 6 spring washers (18) from main frame (1).
- Attach the front post (4) to the front post mounting tube of main frame(1) and connect the plug of control cable (21) to the socket of the connection cable (22).
- Insert the front post (4) to main frame (1) and secure, using 6 allen headbolts (17), 6 spring washers (18), 2 washers (41) and 4 washers (19).

STEP 5
Attach the computer (8) and the handlebar (5) at the handlebar post (4).
- Remove the screws (26) from the computer cover (23A+23B). Guide the handlebar (5) to the open handlebar mount on the handlebar post (4) and close it over the handlebar (5). Push the front computer cover (23A) over the handlebar mount and screw the handlebar (5) to the handlebar post (4) using the L-shaped knob (25) and washer (19).
- Guide the pulse cable (28) inwards through the opening on the side of the handlebar post (4) and then out upwards.
- Take the computer (8) and remove the screws (27) on the back of the computer. Guide the computer (8) to the handlebar post (4) and plug the connecting cable (22) into the back of the computer (8). Plug the pulse cable (28) into the socket (8a) on the computer.
- Screw the computer (8) to the computer holder of the handlebar post (4) using the screws (27) without squeezing a cable.
- Then secure the computer cover (23A) with the screw (24). Also, tighten the rear computer cover (23B) using the screws (24+26).

STEP 6
Connection of the power adapter (40).
- Insert the plug of the AC adapter (40) into the corresponding socket (86) at the rear end of the product.
- Then plug the AC adapter (40) into a properly installed socket (230V~50Hz).

CHECKS
- Check the correct installation and function of all screwed and plug connections. Installation is thereby complete.
- When everything is in order, familiarize yourself with the machine at a low resistance setting and make your individual adjustments.
Note: Please keep the tool set and the instructions in a safe place as these may be required for repairs or spare parts orders becoming necessary later.
USE OF THE DEVICE
Adjustment – Seat Position
For an effective workout, the seat must be adjusted properly. While your are pedaling, your Knees should be slightly bent when the pedals are in the farthest position. In order to adjust the seat, unscrew the knob a few turns and draw it out slightly. Adjust the seat to the right height, then release the knob and tighten it all the way.
Attention! Make sure to put the knob back into place in the seat post and tighten it completely. Never exceed the maximum height of the seat. Always get off the bicycle before making any adjustments.
Handlebar adjustment
To adjust the handlebar, simply loosen the handlebar screw until the handlebar can be brought into the desired position and tighten it again after adjustment.
Transportation
There are two rollers equipped on the front foot. For moving, you can lift up the rear foot and drive it to where you would like to locate or store it.
Mount
After the seat is adjusted to properly position, insert your foot into the retaining strap of the pedal step on the pedal, and hold the handlebar tightly. Try to put whole body weight on your foot and simultaneously cross over the trainer and land your other foot on the other side. Now you are in the position to start your training.
Use
Keep your hands on the handlebar, and both feet are inserted into the retaining straps of both pedals properly. Pedal your exercise bike with your both feet alternately. Then you can increase the pedaling speed gradually and adjust braking resistance levels to increase the exercise intention.
Dismount
Slow down the pedaling speed until it comes to rest. Keep the left hand grabbing the left handlebar tightly, put your feet cross over the equipment and land on the floor, then land the other one. This training equipment is a stationary exercise machine used to simulate without causing excessive pressure to the joints, hence decreasing the risk of impact injuries. Exercise bikes offer a non-impact cardiovascular workout that can vary from light to high intensity based on the resistance preference set by the user. It will strengthen your muscles of legs and increase cardio capacity and maintain the fitness of your body also.
RPM AND POWER LEVEL
| Level ↓ / RPM → | 20 | 30 | 40 | 50 | 60 | 70 | 80 | 90 | 100 | 110 | 120 |
| 1 | 6 | 11 | 17 | 25 | 35 | 45 | 56 | 66 | 78 | 90 | 99 |
| 2 | 8 | 13 | 22 | 32 | 45 | 58 | 72 | 85 | 102 | 118 | 130 |
| 3 | 9 | 16 | 27 | 40 | 55 | 73 | 88 | 106 | 126 | 145 | 163 |
| 4 | 10 | 19 | 32 | 48 | 65 | 85 | 104 | 123 | 149 | 172 | 192 |
| 5 | 11 | 22 | 37 | 55 | 75 | 98 | 120 | 144 | 172 | 197 | 220 |
| 6 | 12 | 25 | 40 | 62 | 85 | 111 | 137 | 161 | 194 | 221 | 248 |
| 7 | 13 | 28 | 46 | 70 | 95 | 124 | 153 | 182 | 216 | 249 | 277 |
| 8 | 15 | 31 | 51 | 77 | 105 | 137 | 169 | 203 | 238 | 273 | 305 |
| 9 | 16 | 33 | 56 | 84 | 115 | 150 | 185 | 225 | 260 | 299 | 337 |
| 10 | 17 | 36 | 60 | 91 | 125 | 163 | 201 | 245 | 282 | 324 | 364 |
| 11 | 18 | 39 | 65 | 98 | 135 | 176 | 217 | 265 | 304 | 348 | 388 |
| 12 | 19 | 42 | 70 | 105 | 145 | 189 | 233 | 284 | 327 | 373 | 416 |
| 13 | 21 | 45 | 75 | 112 | 155 | 203 | 249 | 303 | 350 | 398 | 445 |
| 14 | 22 | 48 | 80 | 119 | 165 | 217 | 265 | 322 | 373 | 424 | 472 |
| 15 | 24 | 51 | 85 | 126 | 175 | 230 | 282 | 341 | 397 | 450 | 500 |
| 16 | 25 | 54 | 90 | 134 | 185 | 244 | 299 | 360 | 420 | 475 | 528 |
| 17 | 26 | 56 | 95 | 142 | 195 | 258 | 314 | 379 | 442 | 500 | 556 |
| 18 | 27 | 59 | 100 | 149 | 205 | 271 | 330 | 398 | 465 | 524 | 584 |
| 19 | 28 | 62 | 105 | 156 | 215 | 284 | 346 | 416 | 488 | 548 | 612 |
| 20 | 29 | 65 | 110 | 163 | 225 | 297 | 362 | 435 | 511 | 572 | 640 |
| 21 | 31 | 68 | 115 | 170 | 235 | 310 | 378 | 454 | 533 | 595 | 668 |
| 22 | 33 | 71 | 120 | 177 | 245 | 324 | 394 | 473 | 556 | 620 | 696 |
| 23 | 35 | 74 | 125 | 185 | 255 | 335 | 410 | 492 | 579 | 646 | 724 |
| 24 | 36 | 77 | 131 | 193 | 265 | 346 | 426 | 512 | 604 | 672 | 752 |
Remarks
The power consumptions (Watt) are adjusted by measuring the driving speed (min-1) of the axle and the braking torque (Nm). Your equipment was tested to fulfill the requirements of its accuracy classification before shipment, If you have doubts about the accuracy, please contactwith your local retailer or send it to an accredited test laboratory to ensure or calibrate it. (Please note that a deviation tolerance as noted on page 14, is permissible.)
COMPUTER
DISPLAY
- [TIME] time: 00:00~99:59.
- [RPM] revolutions per minute: 0~15~999 (Alternates with SPEED every 6 seconds.)
- [SPEED] speed in Km/h: 0.0~99.9 km/h (Alternates with RPM every 6 seconds.)
- [WATT] watt: 0-999 Watt (Alternates with LEVEL every 6 seconds.)
- [LEVEL] resistance level: 1~24 level (Alternates with WATT every 6 seconds.)
- [CALORIES] calories in Kcal: 0~999kcal
- [DISTANCE] distance in Km: 0.00~99.99 km
- (ODO-KM Total: The distance in km of all training units is displayed.)
- [PULSE] pulse: P~40~240, max value is available. (Heart symbol flashes on/off if pulse data transmit.)
- Program: MANUAL, PROGRAM (P1-P12), WATT, USER, H.R.C, FAT
- U0-U4 User: Selection of the user (U0-U1-U2-U3-U4) with default values [♀ / ♂ ] gender, [AGE] age, [HEIGHT] height and [WEIGHT] weight.
Start display:
- Code for speed programming
- Bluetooth identification number for APP operation
- KM Total (ODO)
OPERATION
Use
- Connect the power adapter to the product and a properly wired outlet. The display inside the computer will illuminate accompanied by a beep and briefly show a speed programming code, bluetooth identification number and ODO. Then appears the user number (U0-U4). By pressing the [E] button you can choose between the default values [♀ / ♂] gender, [AGE] age, [HEIGHT] height and [WEIGHT] weight. You can change the values with the [+/-] keys and confirm with the [E] key. After the specification, the values are saved. At the next training session, the user data can simply be confirmed with the [E] key to get to the program selection or the manual program can be started directly by pressing the [START/STOP] key.
- Use the [+/-] keys to select a program category: MANUAL, PROGRAM, WATT, USER, H.R.C., FAT and confirm by pressing the [E] key. The default values such as time, distance, calories and pulse can be called up in the selected program using the [E] button and changed using the [+/-] buttons. If you set one of the default values time, distance, calories, it will be counted down to 0.
- When the program and the default values are set, press the [START/STOP] key to start training.
- Pressing the [START/STOP] key again ends or interrupts the program. All values reached up to that point are save until the device is switched off and you can continue training based on these values or you can set all functions to zero using the [R] key.
- The computer switches off automatically approx. 3 minutes after the end of the training.
PROGRAMS
- MANUAL: manually program When selecting the program, select the MANUAL category using the [+/-] keys and confirm with the [E] key. Call up the setting options level, time, distance, calories and pulse by pressing the [E] key and setting the values using the [+/-] keys. Use the [START/STOP] key to start the manual program and adjust the resistance during training using the [+/-] keys.
- PROGRAM: exercise programs When selecting the program, select the PROGRAM category using the [+/-] keys and confirm with the [E] key. Then call up one of the 12 different training programs using the [+/-] keys and confirm with the [E] key. Call up the default options level, time, distance, calories and pulse by pressing the [E] key and setting the values using the [+/-] keys. Use the [START/STOP] keys to start the selected program.

- WATT: independent watt program When selecting the program, select the WATT category using the [+/-] keys and confirm with the [E] key. Calling up the default options watt, time, distance, calories, and pulse by pressing the [E] key and setting the values using the [+/-] keys. The default setting for the WATT value is 100, the value can be changed from 10 to 300 watts in 5-watt steps. The WATT value is set with the [+/-] keys. The entered WATT value remains independent of the pedal speed constant through automatic adjustment of resistance. Use the [START/STOP] key to start the watt program.
- USER: individual program When selecting the program, select the USER category using the [+/-] keys and confirm with the [E] key. Create your own program profile. With this program, you can determine the resistance of each section (18 bars) by yourself. Set the desired resistance for the first bar using the [+/-] keys and confirm the entry using the [E] key. Proceed in the same way for all 18 bars. Then press the [R] button to set the time. To set distance, calories, and heart rate, press the [E] key. Use the [+/-] keys to change the value and confirm using the [E] key. Start the program by pressing the [START / STOP] key. The set program profile is saved automatically and can be overwritten if necessary. Once you have set the USER program, you only need to open it and you can set the time, distance, calories, and pulse directly by pressing the [R] key.
- H.R.C.: Pulse programs When selecting the program, select the H.R.C. category using the [+/-] keys and confirm with the [E] key. Call up the preset options pulse program, time, distance, and calories by pressing the [E] key and setting the values using the [+/-] keys. The pulse programs 55%, 75%, and 90% are based on the age input and use this to calculate the upper pulse limit of 55%, 75%, or 90% of the maximum heart rate value. With the pulse program ♥ you can set the upper pulse limit yourself. The PULSE display flashes as soon as the upper pulse limit is reached during training.
- 55% — diet program
- 75% — health program
- 90% — sports program
- ♥ – target heart rate
- FAT: body fat program Here you can analyze a BMI and get an individual training proposal. Grab the hand pulse sensors to measure your body fat. After approx. 10 seconds the result is displayed: BMI value and the resulting body fat type (1-4). A training program is suggested after the BMI and body fat type are displayed twice. To start the training program, press the [START / STOP] button. Attention! If the computer displays an error message „Err1“, there is a signal interference with the pulse sensor. In this case, run the body fat program again and grab the pulse sensors.
| Bodyfat-Type → | Under- weight | Normal- weight | Slightly Overweight | Over- weight |
| Gender ↓ | Body- fat-Type 1 | Body- fat-Type 2 | Body- fat-Type 3 | Body- fat-Type 4 |
| man | < 10% | 10%~19,9% | 20%~24,9% | ≥ 25% |
| woman | < 20% | 20%~29,9% | 30%~34,9% | ≥ 35% |
FITNESS-TEST
When you have finished your workout, press [T] key. For recovery to function correctly, it needs your heart rate input. Time will count down from 1 minute and then your fitness level from F1 to F6 will be displayed. Attention! During recovery, no other displays will operate.
| Condition | Score | Heart Rate |
| Excellent | F1 | Over 50 |
| Good | F2 | 40 ~ 49 |
| Average | F3 | 30 ~ 39 |
| Fair | F4 | 20 ~ 29 |
| Poor | F5 | 10 ~ 19 |
| Very Poor | F6 | Under 10 |
BLUETOOTH CONNECTION FOR APP OPERATION
The product can be used with the Kinomap app. This enables entertaining and interactive training with Android or IOS devices and saves training data. Sport, coaching, gaming, and eSport are the keywords of the Kinomap app. This contains many kilometers of real film material to exercise inside as if you were outside; Tracking routes and analysis of your performance; Coaching content; Multiplayer mode; new posts daily; Official indoor races and more … The APP thus contains approx. 100,000 videos recorded by athletes and 200,000 km of accumulated tracks for cycling, running or rowing for currently approx. 270,000 members from all over the world.
Download the app and connect
Scan the adjacent QR code with your smartphone/tablet or use the search function at the Playstore (Android) or APP Store (IOS) to download the Kinomap APP. Register and follow the instructions in the APP. Activate Bluetooth on the smartphone or tablet and select the device manager via the menu in the APP and then select the „Exercise bike“ category. Then select your type designation via the manufacturer logo „Christopeit Sport“ in order to connect the sports equipment. Depending on the sports equipment, differentfunctions are recorded by the APP via Bluetooth or data is exchanged.
Attention! The Kinomap APP offers a free trial version for 14 days. After that, fees will apply which are listed on the Kinomap homepage. Further information can be found at: https://www.kinomap.com/en/.
PULSE RATE
- Hand pulse measurement On the left and right handlebar grip part two metal contact plates are insert as pulse sensors. Please take care that both hands at the same time in normal force on the sensors. During the heartbeat measurement a heart symbol flashes next to the pulse display. (The hand pulse measurement serves only for orientation, as it is caused by movement, friction, sweat etc. it can come to deviations from the actual pulse. A few people may cause malfunctions of hand pulse measurement. Should you have trouble with the hand pulse measurement, we recommend the use of a cardio chest belt.) Attention! Heart rate monitor systems may be inaccurate. Excessive exercising can lead to serious damage or maybe to death. If dizziness or weakness is felt, stop exercising immediately.
- Pulse belt pulse measurement Optionally, you can use a compatible Bluetooth heart ratemonitor to measure your heart rate (Christopeit-Sport heart rate monitor 2209). The measured pulse value is displayed in the heart rate display. Response time is up to 60 seconds.
Attention! The heart rate measurement is not for medical purposes suitable.
TRAINING SPACE REQUIREMENT
Training area in mm
(for home trainer and user) 
Free area in mm
(Training area and security area (circulating 600mm))
CLEANING, CHECKS AND STORAGE
- Cleaning
Use only a less wet cloth for cleaning. Attention! Never use benzene, thinner or other aggressive cleaning agents for surface cleaning as this damage is caused. The device is only for private home use and for use suitable indoors. Keep the unit clean and moisture from the device. - Storage
Plug out the power supply unit while intending the unit for more than 4 weeks not to use. Push the saddle slide toward the handlebar and the seat support tube as deeply as possible into the frame. Choose a dry storage in-house and put some spray oil to the pedal bearings left and right, to the thread of the handlebar bolt, and on the thread of the quick release for saddle support. Cover the bike to protect it from being discolored by any sunlight and dirty through dust. - Checks
We recommend every 50 hours to review the screw connections for tightness, which were prepared in the assembly. Every 100 operating hours, you should put some spray oil on the pedal bearings left and right, to the thread of the handlebar bolt, and to the thread of quick release for saddle support.
TROUBLESHOOTING
If you cannot solve the problem with the following information, please contact the authorized service center.
| Problem | Possible Cause | Solution |
| The computer has no value at Display if you press any key. | No power adapter is well plugged or wall power is without power. | Check that the power adapter is properly plugged in, possibly with another electric device check if the wall power is fine. |
| The computer is not counting data and does not switch on after start cycling. | Sensor impulse missing based on not well-plugged connection | Check the plug connections at the computer and inside of the handlebar support. |
| The computer is not counting data and does not switch on after start cycling. | Sensor impulse missing based on the not correct position of the sensor. | Take off the cover and check the distance between the magnet and Sensor. The magnet at the turning belt wheel should have only less than < 5mm distance against the sensor position. |
| No pulse value | The pulse cable is not plugged in. | Check the separate pulse cable is well connected with the computer. |
| No pulse value | Pulse sensors not well connected. | Screw out the screw for pulse measurement and check if plugs are well connected and no damage at pulse cable. |
GENERAL TRAINING INSTRUCTIONS
You must consider the following factors in determining the amount of training effort required in order to attain tangible physical and health benefits.
INTENSITY
The level of physical exertion during training must exceed the point of normal exertion, without going beyond the point of breathlessness and/ or exhaustion. A suitable reference value can be the pulse. With each training session, the condition increases and therefore the training requirements should be adjusted. This is possible by extending the duration of the training, increasing the level of difficulty or changing the type of training.
TRAINING HEART RATE
To determine the training heart rate, you can proceed as follows. Please note that these are guide values. If you have health problems or are unsure, consult a doctor or fitness trainer.
- Maximum heart rate calculation
The maximum pulse value can be determined in many different ways, since the maximum pulse depends on many factors. You can use the main-formula for the calculation (maximum heart rate = 220 – age). This formula is very general. It is used in many home sport products to determine the maximum heart rate. We recommend the Sally-Edwards-formula. This formula calculates the maximum heart rate more precisely and takes gender, age and body weight into account.- Sally-Edwards-formula:
- Men:
- Maximum heart rate = 214 – (0.5 x age) – (0.11 x body weight)
- Women:
- Maximum heart rate = 210 – (0.5 x age) – (0.11 x body weight)
- Training heart rate calculation
The optimal training heart rate is determined by the goal of the training. Training zones were defined for this.- Health – Zone: Regeneration and Compensation
- Suitable for: Beginners
- Type of training: very light cardio training
- Goal: recovery and health promotion. Building the basic condition.
- Training heart rate = 50 to 60% of the maximum heart rate
- Fat-Metabolism – Zone: Basics endurance training 1
- Suitable for: beginners and advanced users
- Type of training: light cardio training
- Goal: activation of fat metabolism (calorie burning). improvement in endurance performance.
- Training heart rate = 60 to 70% of the maximum heart rate
- Aerobic – Zone: Basics endurance training 1 to 2
- Suitable for: beginners and advanced
- Type of training: moderate cardio training.
- Goal: Activation of the fat metabolism (calorie burning), improving aerobic performance, Increase in endurance performance.
- Training heart rate = 70 to 80% of the maximum heart rate
- Anaerobic – Zone: Basics endurance training 2
- Suitable for: advanced and competitive athletes
- Type of training: moderate endurance training or interval training
- Goal: improvement of lactate tolerance, the maximum increase in performance.
- Training heart rate = 80 to 90% of the maximum heart rate
- Competition – Zone: Performance / Competition Training
- Suitable for: athletes and high-performance athletes
- Type of training: intensive interval training and competition training /
- Goal: improvement of maximum speed and power.
- Attention! Training in this area can lead to overloading of the cardiovascular system and damage to health.
- Training heart rate = 90 to 100% of the maximum heart rate
Sample calculation
Male, 30 years old and weighs 80 kg. I am a beginner and would like to lose some weight and increase my endurance.
- Maximum pulse – calculation
- Maximum heart rate = 214 – (0.5 x age) – (0.11 x body weight)
- Maximum heart rate = 214 – (0.5 x 30) – (0.11 x 80)
- Maximum pulse = approx. 190 beats/min
- Training heart rate calculation
- Due to my goals and training level, the fat metabolism zone suits me best.
- Training heart rate = 60 to 70% of the maximum heart rate
- Training heart rate = 190 x 0.6 [60%]
Training heart rate = approx. 114 beats/min
After you have set your training heart rate for your training condition or Once you have identified goals, you can start training. Most of our endurance training equipment have heart rate sensors or are heart rate belt compatible. So you can check your heart rate on the monitor during the workouts. If the pulse rate is not shown on the computer display or you want to be on the safe side and want to check your pulse rate, which could be incorrectly displayed due to possible application errors or similar, you can use the following tools:
- a. Pulse measurement in the conventional way (sensing the pulse beat, e.g. on the wrist and counting the beats within a minute).
- b. Heart rate measurement with suitable and calibrated heart rate measuring devices (available from medical supply stores).
- c. Heart rate measurement with other products such as heart rate monitors, smartphones.
FREQUENCY
Most experts recommend the combination of a health-conscious diet, which must be adjusted according to the training goal, and physical exercise three to five times a week. A normal adult needs twice a week exercise to maintain its current condition. To improve his condition and change his body weight, he needs at least three training sessions per week. Ideal of course is a frequency of five training sessions per week.
TRAINING PLAN
Each training session should consist of three training phases: „warmup phase“, „training phase“ and „cool-down phase“. In the „warm-up phase“ the body temperature and the oxygen supply should be increased slowly. This is possible through gymnastic exercises over a period of five to ten minutes. After that you start with actual training “training phase”. The training load should be adapted according to the training heart rate. In order to support the circulation after the training phase and to preventaching or strained muscles later, it is necessary to follow the training phase with a cool-down phase. This should be consist of stretching exercises and/ or light gymnastic exercises for a period of five to ten minutes.
Example – stretching exercises for the warm-up and cool-down phases
Start your warm up by walking on the spot for at least 3 minutes and then perform the following gymnastic exercises to the body for the training phase to prepare accordingly. The exercises do not overdo it and only as far run until a slight drag felt. This position will hold a while.
- Reach with your left hand behind your head to the right shoulder and pull with the right hand slightly to the left elbow. After 20sec. switch arm.
- Bend forward as far forward as possible and let your legs almost stretched. Show it with your fingers in the direction of toe. 2 x 20sec.
- Sit down with one leg stretched out on the floor and bend forward and try to reach the foot with your hands. 2 x 20sec.
- Kneel in a wide lunge forward and support yourself with your hands on the floor. Press the pelvis down. Change after 20 sec leg.

MOTIVATION
The key to a successful program is regular training. You should set a fixed time and place for each day of training and prepare yourself mentally for the training. Only train when you are in the mood for it and always have your goalin view. With continuous training you will be able to see how you are progressing day by day and are approaching your personal training goal bit by bit.
PARTS LIST – SPARE PARTS LIST
- Type: ET6
- Order-Nr.: 2207
- Date of technical data: 01.09.2022
- Dimensions approx: [cm]: L 96 x B 52 x H 140 2,5
- Weight approx. [kg]: 35
- Load max. (User weight) [kg]:
- Space requirements [m2]: 150
FEATURES
- Magnetic resistance with approx. 12 kg flywheel
- Motor- and Computer-controlled with 24 steps adjustable load
- 20 stored training programs
- 5 user data store
- Hand pulse measurement, optionally Bluetooth pulse belt
- Horizontally and vertically adjustable saddle (quick release)
- Saddle and handlebar inclination adjustable
- Floor-level compensation and transportation rollers
- Back Light LCD Display with, speed, distance, time, approx. calorie consumption, pedal revolutions per minute, pulse frequency, exercise profile, level and Watt.
- Holder for smartphone/tablet
- Announcement of higher limits
- Bluetooth connection for Kinomap APP
- Input of Limits of Time , Distance Calories, Watt and Pulse
- Fitness – Test
- Suitable for a height of 160-200cm
NOTE
Please contact us if any components are defective or missing, or if you need any spare parts or replacements in the future.
Top-Sports Gilles GmbH
- Friedrichstraße 55, 42551 Velbert
- www.christopeit-sport.com.
- Telefon: +49 (0)20 51 / 60 67-0
- Telefax: +49 (0)20 51 / 60 67-44
- e-mail: [email protected].
This product is created only for private Home sports activity and not allowed to us in a commercial or professional area. Home Sport use class H/A.
| Illustration No. | Designation | Dimension mm | Quantity | Attached to | ET Number |
| 1 | Main frame | 1 | 33-2207-01-ANT | ||
| 2 | Front bottom tube | 1 | 1 | 33-2003-02-ANT | |
| 3 | Rear bottom tube | 1 | 1 | 33-2003-03-ANT | |
| 4 | Handlebar post | 1 | 1 | 33-2003-04-ANT | |
| 5 | Handlebar | 1 | 4 | 33-2003-05-SW | |
| 6 | Saddle Post | 1 | 1+38 | 33-2003-06-ANT | |
| 7 | Saddle | 1 | 38 | 36-9107-06-BT | |
| 7a | Saddle bracket | 1 | 38 | 36-9814-12-BT | |
| 8 | Computer | 1 | 4 | 36-2207-03-BT | |
| 9L | Pedal left | 9/16“L | 1 | 10L | 36-9109-84-BT |
| 9R | Pedal right | 9/16“R | 1 | 10R | 36-9109-85-BT |
| 10L | Crank left | 1 | 64 | 33-9109-82-ANT | |
| 10R | Crank right | 1 | 64 | 33-9109-83-ANT | |
| 11L | Front end cap left | 1 | 2 | 36-9108-54-BT | |
| 11R | Front end cap right | 1 | 2 | 36-9108-55-BT | |
| 12 | End cap with height adjustment | 2 | 3 | 36-9108-56-BT | |
| 13 | Carriage bolt | M10x57 | 2 | 1+2 | 39-10026 |
| 14 | Washer | 10//20 | 4 | 13,35+79 | 39-10206-CR |
| 15 | Spring washer | for M10 | 2 | 13 | 39-9995-CR |
| 16 | Cap nut | M10 | 2 | 13 | 39-10021 |
| 17 | Inner hex screw | M8x16 | 10 | 1,3+4 | 39-9888-CR |
| 18 | Spring washer | for M8 | 10 | 17+55 | 39-9864-VC |
| 19 | Washer | 8//16 | 15 | 7,17,25,55+71 | 39-10018-CR |
| 20 | Adjustable foot | 2 | 3 | 36-9805-24-BT | |
| 21 | Motor cable | 1 | 22+54 | 36-2207-05-BT | |
| 22 | Connection cable | 1 | 8+21 | 36-2207-06-BT | |
| 23 a | Computer cover a | 1 | 4+23b | 36-9108-57-BT | |
| 23 b | Computer cover b | 1 | 4+23a | 36-9108-58-BT | |
| 24 | Crosshead screw | M5x12 | 2 | 23 | 39-9988 |
| 25 | L-shaped knob | 1 | 4+5 | 36-9107-29-BT | |
| 26 | Crosshead screw | 4.2×18 | 13 | 11,23,53,54+46 | 36-9111-38-BT |
| 27 | Screw | M5x10 | 4 | 8 | 39-9903-SW |
| 28 | Pulse cable | 1 | 5+30 | 36-2207-10-BT | |
| 29 a | Handlebar foam a | 2 | 5 | 36-9109-59-BT | |
| 29 b | Handlebar foam b | 2 | 5 | 36-9805-15-BT | |
| 30 | Pulse unit | 2 | 5+28 | 36-9107-08-BT | |
| 31 | Round plug | 2 | 5 | 36-9211-21-BT | |
| 32 | Quick release | 1 | 1+6 | 36-9211-18-BT | |
| 33 | Plastic bushing | 1 | 1 | 36-9109-60-BT | |
| 34 | Saddle support wrapping | 1 | 6 | 36-9805-11-BT |
| Illustration No. | Designation | Dimension mm | Quantity | Attached to | GB ET Number |
| 35 | Handgrip knob | 1 | 36 | 36-9211-19-BT | |
| 36 | Fixed bracket | 1 | 38 | 33-9211-08-SI | |
| 37 | Square plug | 2 | 38 | 36-9211-23-BT | |
| 38 | Saddle slide | 1 | 6+7a | 33-2207-05-ANT | |
| 39 | Round plug | 1 | 38 | 36-9109-61-BT | |
| 40 | AC adapter | 9V=DC/1A | 1 | 86 | 36-1420-17-BT |
| 41 | Curved washer | 8//19 | 2 | 17 | 39-9966-CR |
| 42 | Spring | 1 | 4 | 36-9109-62-BT | |
| 43 | Plug | 1 | 45 | 36-2207-09-BT | |
| 44 | Axle nut | M10x1.25 | 2 | 64 | 39-9820-SI |
| 45 | Turn plate | 2 | 10 | 36-2207-04-BT | |
| 46L | Chain cover left | 1 | 1+46R | 36-2207-01-BT | |
| 46R | Chain cover right | 1 | 1+46L | 36-2207-02-BT | |
| 47 | Crosshead Screw | 4,2×8 | 14 | 10+45 | 36-9836-22-BT |
| 48 | C-clip | C17 | 2 | 64 | 39-9805-32-BT |
| 49 | Bearing | 6203Z | 4 | 1+52 | 36-9805-31-BT |
| 50 | Square plug | 1 | 1 | 36-9109-64-BT | |
| 51 | Idle wheel spring | 1 | 1+52 | 36-9109-65-BT | |
| 52 | Idle wheel bracket | 1 | 1+51 | 33-9109-18-SI | |
| 53 | Sensor | 1 | 21+81 | 36-2207-08-BT | |
| 54 | Serve motor | 1 | 1+21 | 36-2207-07-BT | |
| 55 | Screw | M8x15 | 2 | 56 | 39-9911 |
| 56 | Bracket for magnet holder | 1 | 1+69 | 33-9107-12-SI | |
| 57 | Washer | 6//16 | 4 | 58+73 | 39-10013-VC |
| 58 | Screw | M6x12 | 3 | 1+52 | 39-10120 |
| 59 | Rubber ring square | 1 | 1 | 36-9109-68-BT | |
| 60 | Rubber ring oval | 1 | 1 | 36-9109-69-BT | |
| 61 | Screw | M6x15 | 4 | 63+64 | 39-10120-SW |
| 62 | Spring washer | for M6 | 4 | 61 | 39-9865-SW |
| 63 | Belt wheel | 1 | 64 | 36-9107-60-BT | |
| 64 | Axle | 1 | 63 | 33-9109-20-SI | |
| 65 | Nylon nut | M6 | 4 | 61+73 | 39-9861-VZ |
| 66 | Tension cable | 1 | 54+69 | 36-2207-11-BT | |
| 67 | Spring for magnet holder | 1 | 69 | 36-9107-62-BT | |
| 68 | Plastic washer | 1 | 73 | 36-9107-63-BT | |
| 69 | Magnet holder | 1 | 56 | 33-9107-13-SI | |
| 70 | Nut | M6 | 1 | 73 | 39-9861 |
| 71 | Screw | M8x50 | 1 | 69 | 39-9811-CR |
| 72 | Nylon nut | M8 | 4 | 7+71 | 39-9918-CR |
| 73 | Screw | M6x60 | 1 | 69 | 39-10141 |
| 74 | Magnet | 1 | 63 | 36-1122-23-BT | |
| 75 | Axle nut | M10x1 | 1 | 79 | 39-9820 |
| 76 | Axle nut flat | M10x1 | 3 | 79 | 39-9820-SW |
| 77 | Distance tube | 1 | 79 | 36-9211-15-BT | |
| 78 | Flywheel mass | 1 | 79 | 33-9107-14-SI | |
| 79 | Flywheel axle | 1 | 78 | 33-2207-07-SI | |
| 80 | Freewheel belt wheel | 1 | 78 | 33-9107-16-SI | |
| 81 | Sensor holder | 1 | 1+53 | 36-9814-21-BT | |
| 82 | Flat belt | 470J | 1 | 63+80 | 36-9107-64-BT |
| 83 | Screw | 4.2×25 | 6 | 46 | 39-9909-SW |
| 84 | Wave washer | 1 | 64 | 36-9918-22-BT | |
| 85 | Distance piece | 3 | 58 | 36-9107-65-BT | |
| 86 | DC cable with socket | 1 | 46L | 36-2207-12-BT | |
| 87 | Belt tension screw | M6x50 | 1 | 79 | 39-10000 |
| 88 | Multi tool | 13,14,17 | 1 | 36-9107-27-BT | |
| 89 | Inner hex tool | 6mm | 1 | 36-9107-28-BT | |
| 90 | Assembly and exercise instruction | 1 | 36-2207-13-BT |


Scanne den QR-Code oder folge dem Link:
https://www.christopeit-sport.com/lifestyle/christopeit-gym/.
CHRISTOPEIT-BLOG
Finde viele spannende Themen rund um Fitness und Gesundheit bei uns im Blog.
Scanne den QR-Code oder folge dem Link:
https://www.christopeit-sport.com/lifestyle/blog,
SOCIAL-MEDIA
Folge uns auf Facebook, Instagram und Youtube. Scanne den QR-Code oder suche auf den jeweiligen Plattformen nach: Christopeit-Sport
Service / Hersteller
Bei Reklamationen, notwendigen Ersatzteilbestellungen oder Reparaturen wenden Sie sich bitte an unsere Service Abteilung.
Top-Sports Gilles GmbH
- Friedrichstrasse 55
- D – 42551 Velbert
- http://www.christopeit-sport.com.
- Tel.: +49 (0)2051/6067-0
- Fax: +49 (0)2051/6067-44
- [email protected].
© by Top-Sports Gilles GmbH D-42551 Velbert (Germany) 09.2022 – Druckfehler vorbehalten


















