AX 8000
HEIMSPORT-TRAININGSGERÄT CROSSTRAINER-ERGOMETER


Dear customer,
we congratulate you on your purchase of this home training sports unit and hope that we will have a great deal of pleasure with it. Please take heed of the enclosed notes and instructions and follow them closely concerning assembly and use.
Please do not hesitate to contact us at any time if you should have any questions.
Top-Sport Gilles GmbH

Attention: Before use read operating instructions!
IMPORTANT RECOMMENDATIONS AND SAFETY INSTRUCTIONS
Our products are all tested and therefore represent the highest current safety standards. However, this fact does not make it unnecessary to observe the following principles strictly.
- Assembly the machine exactly as described in the installation instructions and use only the enclosed, specific parts of the machine. Before assembling, verify the completeness of the delivery against the delivery notice and the completeness of the carton against the assembly steps in the installation and operating instructions.
- Check the firm seating off all screws, nuts and other connections beforeusing the machine for the first time and at regular intervals to ensure that the trainer is in a safe condition.
- Set up the machine in a dry, level place and protect it from moisture and water. Uneven parts of the floor must be compensated by suitable measures and by the provided adjustable parts of the machine if such is installed. Ensure that no contact occurs with moisture or water.
- Place a suitable base (e.g. rubber mat, wooden board, etc.) beneath the machine if the area of the machine must be specially protected against indentations, dirt, etc.
- Before beginning training, remove all objects within a radius of 2 meters from the machine.
- Do not use aggressive cleaning agents to clean the machine and employ only the supplied tools or suitable tools of your own to assemble the machine and for any necessary repairs. Remove drops of sweat from the machine immediately after finishing training.
- WARNING! Systems of the heart frequency supervision can be inexact. Excessive training can lead to serious health damage or to death. Consult a doctor before beginning a planned training program. He can define the maximum exertion (pulse, Watts, duration of the training, etc.) to which you may expose yourself and can give you precise information on the correct posture during training, the targets of your training, and your diet. Never train after eating large meals. This item is not suitable for therapeutic purposes!
- Only train on the machine when it is incorrect working order. Use originalspare parts only for any necessary repairs.
WARNING: Replace the worn parts immediately and keep this equipment out of use until repaired. - When setting the adjustable parts, observe the correct position and the marked, maximum setting positions and ensure that the newly adjusted position is correctly secured.
- Unless otherwise described in the instructions, the machine must only be used for training by one person at a time. The exercise time should not overtake 60 min/daily.
- Wear training clothes and shoes which are suitable for fitness training with the machine. Your clothes must be such that they cannot catch during training due to their shape (e.g. length). Your training shoes should be appropriate for the trainer, must support your feet firmly, and must have non-slip soles.
- WARNING! If you notice a feeling of dizziness, sickness, chest pain, or other abnormal symptoms, stop training and consult a doctor.
- Never forget that sports machines are not toys. This appliance can be used by children aged 8 years and above and persons with reduced physical, sensory or mental capabilities or lack of experience and knowledge if they have been given supervision or instruction concerning the use of the appliance in a safe way and understand the hazards involved. Children shall not play with the appliance. Cleaning and user maintenance shall not make by children without supervision. Take suitable measures to ensure that children never use the machine without supervision.
- The appliance is used only to be used with the power supply unit provided with the appliance.
- Ensure that the person conducting training and other people never move or hold any parts of their body into the vicinity of moving parts.
- At the end of its life span, this product is not allowed to dispose of over the normal household waste, but it must be given to an assembly point for the recycling of electric and electronic components. You may find the symbol on the product, on the instructions, or on the packing. The materials are reusable in accordance with their marking. With the re-use, the material utilization, or the protection of our environment. Please ask the local administration for a responsible disposal place.
- To protect the environment, do not dispose of the packaging materials, used batteries, or parts of the machine as household waste. Put these in the appropriate collection bins or bring them to a suitable collection point.
- For speed-dependent operation mode, the braking resistance level can be adjustable manually and the variations of power will depend on the pedaling speed. For speed independent operation mode, the user can set the wanted power consumption level in Watt, constant power level will be kept various braking resistance levels, that will be determined automatically by the system. That is independent of the pedaling speed.
- The unit has a resistance device with 24 levels. This makes it possible to increase or reduce the braking resistance and thus the amount of effort required in the training. Pressing the button „-“ reduces the braking resistance and thus the amount of effort required in the training. Pressing the button „+“ increases the braking resistance and thus the amount of effort required in the training.
- This machine has been tested and certified in compliance with DIN ENISO 20957-1/2014 and EN ISO 20957-9:2016 “H, A”. The maximum permissible load (=body weight) is specified as 150 kg. The classification of means this exercise bike is designed for home use only and with good accuracy class, the variations of power-consuming are within ±5W up to50W and ±10% over 50W. This item’s computer corresponds to the basic demands of the EMV Directive of 2014/30/EU.
- The assembly and operating instructions are part of the product. If selling or passing to another person the documentation must be provided with the product.
ASSEMBLY INSTRUCTIONS
Remove all the separate parts from the packaging, lay them on the floor, and check roughly that all are there on the base of the assembly steps. Please note that a number of parts are connected directly to the mainframe preassembled. In addition, there are several other individual parts that have been attached to separate units. This will makes assembly easier and quicker for you. Assembly time: 50 min.
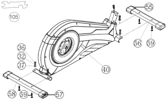
STEP 1:
Attach the stabilizer (56+58).
- Attach the front stabilizer (56) assembled with front caps with transportation roller (55) to the mainframe (40) by using bolts M8x45 (59), washers (37), and spring washers (32), and cap nuts (36).
- Attach the rear stabilizer (58) assembled with height-adjustable caps (57) to the mainframe (40) by using bolts (59), washers (37), spring washers (32), and cap nuts (36). (For the uneven floor, you can adjust the height at the rear caps (57) and secure them for a stable position.)

STEP 2:
Assembly of pedal cranks (97) and crank covers (95).
- Put the pedal crank (97) at the pedal crank holder (93) so that the holes align and screw it tightly by using screw M8x20 (96) and spring washers (32).
- Put the crank cover (95) onto the pedal crank (97) and attach it by using screws M5x15 (102).
- Attach the crank plug (94) to the crank cover (95).

STEP 3:
Assembling of the connection cable (34) to the motor cable (35) and installation of support(30)at the mainframe (40).
- Place screws M8x20 (33), curved washers (31), and spring washers (32) accessibly beside the front part of the mainframe (40).
- Place the lower end of the support (30) against the mainframe (40) and push the rubber ring (100) and support cover (101) onto the support (30).
- Plug the ends of the two computer cable harnesses (34+35) projecting from (30+40) together. (Note: The computer cable harness (34) projecting from the support (30) must not slide into the tube, as it is required for later steps of installation.) When joining the tubes, ensure that the cable connection will not be trapped.
- Put one spring washer (32) and one curved washer (31) on each screw (33). Push the screws (33)through the holes in the support (30), screw them into the threaded holes of the mainframe (40), and tighten lightly.
- Push the plastic cover (101) and rubber ring (100) into the right position to cover the connection point.

STEP 4:
Installation of handgrips (5), footrest holder (44), and connecting tubes (25).
- Push the handgrip bars (5R) onto the connecting tubes (25R) and adjust the holes in the tubes so that they are aligned. (Note: the handgrip bars must be aligned after assembly so that the upper ends are inclined outwards (away from the support (30)).
- Push the screws (33) through the holes and tighten the handgrip bars (5) with curved washers (31) and a spring washer (32) firmly.
- Put the footrest holder (44R) at the connecting tube (25R) and adjust the holes in the tubes so that they are aligned.
- Push the screw M8x78 (23) through the holes and tighten the footrest holder (44R) at the connection tube (25R) with washers (27) and nut (26) firmly. (This connection point has to move easily. So please don’t tighten the screw too much.)
- Place the preassembled unit of the right footrest holder (44R) and connecting tube (25R) on the right-hand side of the mainframe (40). (Note: Right is specified as viewed standing on the machine during training.)
- Push the grip axle (19) into the middle position at handlebar support (30) and put one wave washer (20) and the connecting tube (25R) onto the axles’ end (19). Put on the hex screw M8x20 (12) a spring washer (32) and a washer 8//32 (22) and tighten it firmly.
- Put the foot pedal holder (44R) at the pedal crank (97) and tighten them with steel tube (52), washer 8//20 (49), spring washer (32), and screw M8x20 (48) firmly.
- Place the plastic cover (53) on the foot tube right (44R) and tighten with the screw (54).
- Install the left footrest holder (44L) incl. all additionally required parts on the left-hand side of the machine as described in 1.– 8.
- Put the plugs of pulse cables (10) into the plugs from pulse connection cables (16) and attach the screw caps (11) onto screws (12).

STEP 5:
Installation of the footrests (43) at the footrest holder (44).
- Push the right footrest (43R) onto the footrest holder (44R). Adjust the holes in the parts so that they are aligned.
- Push the screws M6x50 (42) from above through the holes. Push from the opposite side on a washer (45) and spring washer (46), screw on a handgrip nut (47), and tighten firmly.
- Install the left footrest (43L) on the left footrest holder (44L) as described in 1. – 2. (Note: The position adjusted in this way should always be equal on both sides. The right and left footrests can be discerned by the edges of the longitudinal sides of the footrests. The high edges of the footrests (43) must point inwards (towards the mainframe.) The positions can change as desired at all times by removing the carriage bolts (42) and sliding the footrests on the footrest brackets to get a comfortable exercise position close to the handgrip.)

STEP 6:
Attach the handle grip (3) at support (30).
- Push a spring washer (32) and a washer (31) onto each screw M8x20 (33).
- Place the handle grip (3) against the holder at support (30) and tighten the handle grip (3) at handlebar support (30) firmly.
- Attach the grip cover (18) at handle grip (3) and secure with screw M5x15 (102).

STEP 7:
Attach the computer (1) to support (30).
- Put the plug of connection cable (34) into the plug from the computer (1) backside.
- Insert the plug of pulse connection cables (16) to the jack of the computer (1) and attach the computer (1) to the top monitor bracket of the front post (30) with screws M5x10 (15). (Attention: Ensure that the cable loom is not crunched or pinched during installation.)

STEP 8:
Attach the power.
- Please insert the plug of the adaptor (13) into the power plug (39) at end of the chain guard (98).
- Please insert the plug of the adaptor (13) to the jack of wall power (230V~50Hz). S

TEP 9:
Checks
- Check the correct installation and function of all screwed and plug connections. Installation is thereby complete.
- When everything is in order, familiarize yourself with the machine at a low resistance setting and make your individual adjustments.
Note: Please keep the toolset and the instructions in a safe place as these may be required for repairs or spare parts orders becoming necessary later.

MOUNT, USE & DISMOUNT
Transportation of Equipment:
There are two rollers equipped on the front foot. For moving, you can lift up the rearfoot and drive it to where you would like to locate or store it. (Attention: If this item hasn’t got a fixed handlebar, please use carefully the left and right arms for procedure.)
Mount, Use & Dismount Mount:
a. Stand beside the item, put the nearest footrest into the deepest position, and hold the fixed handlebar tightly.
b. Put your foot onto the footrest, try to put whole body weight on your foot, and simultaneously cross over with your other foot on the other side footrest and place there on the footrest too.
c. Now you are in the position to start your training.
Use:
a. Keep your hands in the desired position on the fixed handlebar.
b. Pedal your exercise item by stepping your feet on the footrests and balancing the body weight to the left and right side of the footrest
c. If you like to exercise the upper body too, you can place the hands from the fixed handlebar to the left and right handle grips.
d. Then you can increase the pedaling speed gradually and adjust braking resistance levels to increase the exercise intention.
e. Keep always your hands on a fixed handlebar or handgrips left and right.
Dismount:
a. Slow down the pedaling speed until it comes to rest.
b. Keep the hands grabbing the fixed handlebar tightly, put one foot across over the equipment and land on the floor, then land the other one.
This training equipment is a stationary exercise machine used to simulate a combination of biking, stepping, and walking without causing excessive pressure to the joints, hence decreasing the risk of impact injuries.
Exercise this item offer a non-impact cardiovascular workout that can vary from light to high intensity based on the resistance preference set by the user. It will strengthen your muscles in the upper and lower body and increase cardio capacity and maintain the fitness of your body also.
COMPUTER INSTRUCTIONS

The monitor is designed for programmable magnetic bikes and introduced with the following categories:
– Key Functions
– About Displays
– Operating Ranges
– Things You Should Know Before Exercising
– Operation Instructions
Switch on:
- Insert the adapter into the wall power and adapter connector into the socket of the device. A signal tone sounds from the computer and all LCD display segments appear for 2 seconds and are set to 00.
or - The adapter is already connected and the device has switched off automatically. By pressing any key – or at least one pedal turn the computer switches on automatically.
Turn off:
As soon as the device is not operated for longer than approx. 4 minutes, the computer switches off automatically. After training, pull out the adapter from wall power.
KEYS
„START/STOP“: Starts or stops the program chosen. And, resets the monitor by pressing and holding it for 2 seconds.
„F“ : Chooses or enters the functions from PROGRAMS, TIME, DISTANCE, WATT, CAL, TARGET HEART RATE, AGE, and 10 columns. The chosen function shall flash. Please note that not all the functions can be selected in every program according to the types of each program. During exercise, press the F-key to display the functions RPM, watts, and calories or speed, time, and distance permanently or alternately.
UP(+): Selects or increases the values of PROGRAMS, TIME, DISTANCE, WATT, CAL., TARGET HEART RATE, AGE, and 10 columns.
DOWN(-): Selects or decreases the values of PROGRAMS, TIME, DISTANCE, WATT, CAL., TARGET HEART RATE, AGE, and 10 columns.
RECOVERY(TEST): Starts the function of PULSE RECOVERY.
ANZEIGEN
PROGRAM:
Indicates the programs selected from PROGRAM 1 to PROGRAM 21
LEVEL:
Indicates the level of loading selected from LEVEL 1 to LEVEL 24.
TIME/ WATT :
Indicates Time or Watt alternately or permanently by pressing the F-key. The time shows minutes and seconds. If the preset, time counts downwards. Minimum preset 5Min. Range 5-99Min. The actual power display is shown in Watt. Preset range 30-350Watt only in Watt program P16.
RPM/SPEED/KM:
Indicates RPM or Speed alternately or permanently by pressing the F-key. The RPM display shows the cycle turnings per minute. The speed display show kilometers per hour.
DIST/CAL:
Indicates Distance or Calorie alternately or permanently by pressing the F-key. The distance display show kilometer. Preset range 1-999km. If preset distance counts downwards. The calorie display shows kcal. Minimum preset 10kcal. Preset range 10-990.
KM Total (ODO):
The distance in km of all training units is displayed. It is not possible to specify. The ODO display can be reset to zero at any time. To do this, press the F-key and the Start / Stop-key at once for 2 seconds.
PULSE:
Indicates the actually pulse heart rate. The whole set of heart rate detectors includes 2 sensors on each side. Each sensor has 2 pieces of metal parts. The correct way to get detected is to gently hold both metal parts in each hand.
With the good signals picked up by the computer, the heart mark in the HEART RATE Display shall flash. Range 60-240bpm. If a pulse upper limit is specified, the display flashes when the preset value is reached.
TARGET H.R.:
Indicates only one value of TARGET HEART RATE.
LOADING Profiles:
There are 10 columns of loading bars, and 8 bars in each column. Each column represents a 1-minute workout (without the change of TIME value), and each bar represents 3 levels of loading.
Program Graph:
Each graph shown is the profile of the loading in each interval (column). With the value of TIME counting up, each interval is 3 minutes and all the columns make up 30 minutes. With the value of TIME counting down, each interval is the value of setup TIME divided by 10. For example, if the time value is set up to 40 minutes, each interval will be 40 minutes divided by 10 intervals (40/10=4). Then, each interval will be 4 minutes. The following graphs are all the profiles in the monitor.
• Things You Should Know Before Exercising The values calculated or measured by the computer are for exercise purposes only, not for medical purposes.
PROGRAMS
Programm Manual:
PROGRAM MANUAL is a manual program. Press the „F“ key to select TIME, DISTANCE, or CAL. Then, press the (+) or (-) key to adjust the values. The default level of loading is 6. After pressing the „START/STOP“ key to exercise, please also apply the heart rate detector appropriately. Users may exercise at any desired level (by pressing (+) or (-) during the workout) for a period of time or a certain distance.
Exercising with a specific Goal:
TIME Control: Sets up a period of time to exercise. (5-99Min.)
DISTANCE Control: Sets up a certain distance to exercise. (1-999km)
CALORIE Control: Sets up certain calories to exercise. (10-990kcal)
Set exercise parameters with F-key for Time/Distance/Calories and Pulse.
Preset Programs P1-P10:
PROGRAM 1 to PROGRAM 10 is the preset program. Press the „F“ key to select TIME, DISTANCE, or CAL. Then, press the (+) or (-) key to adjust the values. Users may exercise with different levels of loading in different intervals as the profiles show. After pressing the „START/STOP“ key to exercise, please also apply the heart rate detector appropriately. Users may also exercise at any desired level (by pressing (+) or (-) during the workout) for a period of time or a certain distance. Set exercise parameters with F-key for Time/Distance/Calories and Pulse.
User Setting Programs P11-P15:
Program 11 to Program 15 are the user-setting programs. Users are free to edit the values in the order of TIME, DISTANCE, CAL., and the level of loading in 10 intervals.
The values and profiles will be stored in the memory after setup. After pressing the „START/STOP“ key to exercise, please also apply the heart rate detector appropriately. Users may also change the ongoing loading in each interval by pressing the (+) or (-) key, and they will not change the level of loading stored in the memory. With the input of age, the computer may suggest a target heart rate to exercise. The suggested heart rate is 80% (220 – age). So, if the heart rate detected equals to or greater than the TARGET H.R., the value of HEART RATE will keep flashing. Please note that it is a warning for users to speed down or to lower the level of loading. Set exercise parameters with F-key for Time/Distance/Calories and Pulse.
Speed Independent Watt-Program P16:
Program 16 is a Speed Independent Program. Press the „F“ key to select the values of TIME, DISTANCE, CAL., and WATT. Then, press the (+) or (-) key to adjust the values. After pressing the „START/ STOP“ key to exercise, please also apply the heart rate detector appropriately. During the exercise, the level of loading is not adjustable. In this program, the computer will adjust the level of loading according to the value of the WATT setup.
For example, the level of loading may increase while the speed is too slow. Also, the level of loading may decrease when the speed is too fast. As a result, the calculated value of WATT will be close to the value of WATT setup by users. Set exercise parameters with F-key for Time/Distance/Calories and Pulse.
Heart Rate Control Programs P17-P20:
Program 17 to Program 20 are the Heart Rate Control Programs. From Program 17 to Program 19, press the „F“ key to select TIME, DISTANCE, CAL., and AGE. Then, press the (+) or (-) key to adjust the values. Users may exercise for a period of time or a certain distance with 55% Max Heart Rate in Program 17, 75% Max Heart Rate in Program 18, and 95% Max Heart Rate in Program 19. After pressing the „START/STOP“ key to exercise, please also apply the heart rate detector appropriately. In these programs, the computer will adjust the level of loading according to the heart rate detected. For example, the level of loading may increase while the heart rate detected is lower than TARGET H.R. Also, the level of loading may decrease while the heart rate detected is higher than TARGET H.R. As a result, the user’s heart rate will be adjusted to close the TARGET H.R. in the range of TARGET H.R. –5 and TARGET H.R. +5. With the input of age, the computer may suggest a target heart rate to exercise. The suggested heart rate is 80% (220 – age).
So, if the heart rate detected equals to or greater than the TARGET H.R., the value of HEART RATE will keep flashing. Please note that it is a warning for users to slow down or to lower the level of loading. In program 20, press the „F“ key to select TIME, DISTANCE, CAL., and TARGETH.R. Users may set up a target heart rate to exercise for a period of time ora certain distance.
BODY FAT Program P21
In non-exercising status, press the F-key to enter body fat parameters settings. You can set from the below sequence: User No. (1 – 8), height (120-250CM), gender, age (10-99), weight (20-200KG). Press F-key to proceed to the next parameter setting. Press + key to increase the setting value while pressing the – key to decrease. When you finish setting, press the START/STOP key and hold the pulse sensor. Then the display will show your body fat data and your individual body fat program in 10 seconds. Press START/STOP again to exit the body fat test and press again to start exercising this program.
| Gender/Age | Underweight | Healthy | Slightly Overweight | Overweight | Obese |
| Männlich/ ≤ 30 | < 14% | 14%~20% | 20.1%~25% | 25.1%~35% | > 35% |
| Männlich/> 30 | < 17% | 17%~23% | 23.1%~28% | 28.1%~38% | > 38% |
| Weiblich/≤ 30 | < 17% | 17%~24% | 24.1%~30% | 30.1%~40% | > 40% |
| Weiblich/ > 30 | < 20% | 20%~27% | 27.1%~33% | 33.1%~43% | > 43% |
Remark:
- During the body fat test, it will display Err2 if hand pulse sensors get input.
- According to the test result, 10 seconds have no operation or operation arbitrarily key, will get into system recommendation to toughen program.

TEST-Pulse Recovery:
It is a function to check the condition of pulse recovery that is scaled from 1.0 to 6.0 while 1.0 means the best and 6.0 means the worst and the increment is 0.1. In order to get rated correctly, users must test it right after the workout is finished by pressing the „TEST“ key and then stop exercising. After the key is pressed, please also apply the heart rate detector appropriately. The test will last for 1 minute and the result will show in the display.
PULSE
1. Pulse Rate:
The whole set of heart rate detectors includes 2 sensors on each side. Each sensor has 2 pieces of metal parts. The correct way to get detected is to gently hold both metal parts in each hand. With the good signals picked up by the computer, the heart mark in the HEART RATE Display shall flash. Sometimes the heart rate value is not useable, based on wet hands or any other contact problems during exercising. If you need high accuracy heart rate value you have to use an external heart rate measurement with a pulse belt. “WARNING” Heart rate monitoring system may be inaccurate. Over-exercise may result in injury or death. If you feel faint stop exercising immediately.
WATT TABELLE
RPM and Power in Watt of Level 1 – Level 24 for AX 8000
Art.-Nr. 2009
| LEVEL | 20 RPM WATT | 30 RPM WATT | 40 RPM WATT | 50RPM WATT | 60 RPM WATT | 70 RPM WATT | 80 RPM WATT |
| 1 | 7 | 15 | 19 | 33 | 40 | 43 | 61 |
| 2 | 9 | 18 | 24 | 40 | 50 | 55 | 76 |
| 3 | 10 | 20 | 29 | 46 | 60 | 67 | 90 |
| 4 | 11 | 22 | 34 | 54 | 70 | 82 | 107 |
| 5 | 12 | 25 | 39 | 61 | 80 | 93 | 125 |
| 6 | 14 | 27 | 44 | 68 | 90 | 106 | 140 |
| 7 | 15 | 30 | 49 | 74 | 100 | 118 | 155 |
| 8 | 16 | 33 | 53 | 81 | 110 | 130 | 171 |
| 9 | 18 | 36 | 59 | 88 | 120 | 143 | 186 |
| 10 | 19 | 38 | 64 | 95 | 130 | 155 | 202 |
| 11 | 20 | 41 | 69 | 103 | 140 | 167 | 218 |
| 12 | 22 | 43 | 73 | 110 | 150 | 180 | 232 |
| 13 | 23 | 46 | 79 | 117 | 160 | 191 | 250 |
| 14 | 24 | 49 | 84 | 124 | 170 | 205 | 268 |
| 15 | 26 | 52 | 89 | 132 | 180 | 220 | 286 |
| 16 | 27 | 55 | 94 | 140 | 190 | 235 | 304 |
| 17 | 28 | 58 | 99 | 149 | 200 | 251 | 323 |
| 18 | 30 | 62 | 104 | 157 | 210 | 267 | 342 |
| 19 | 31 | 65 | 109 | 164 | 220 | 279 | 356 |
| 20 | 32 | 68 | 114 | 172 | 230 | 290 | 370 |
| 21 | 34 | 71 | 120 | 179 | 240 | 301 | 388 |
| 22 | 35 | 74 | 127 | 186 | 250 | 314 | 406 |
| 23 | 36 | 77 | 133 | 193 | 260 | 330 | 420 |
| 24 | 38 | 80 | 139 | 201 | 270 | 345 | 438 |
Remarks:
- The power consumptions (Watt) are adjusted by measuring the driving speed (min-1) of the axle and the braking torque (Nm).
- Your equipment was tested to fulfill the requirements of its accuracy classification before shipment, If you have doubts about the accuracy, please contact your local retailer or send it to an accredited test laboratory to ensure or calibrate it.
(Please note that a deviation tolerance as noted on page 15, is permissible.)
Error Messages
Each time the computer is restarted, it will run a quick test for functionality. If something is not okay, it indicates possible errors:
E 1 This symbol and a warning tone appear if the wiring is incorrectly connected or there is a fault in the resistance setting. Check all cable connections, especially at the connectors. After eliminating the error, press and hold the „Start / Stop“ button for 2 seconds to reset the system to 0.
K Kinomap INDOOR TRAINING APP
The product can be used with the Kinomap app. This enables entertaining and interactive training with Android or IOS devices and saves training data.
Sport, coaching, gaming, and eSport are the keywords of the Kinomap app. This contains many kilometers of real film material to exercise inside as if you were outside; Tracking routes and analysis of your performance; Coaching content; Multiplayer mode; new posts daily; Official indoor races and more … The APP thus contains approx. 100,000 videos recorded by athletes and 200,000 km of accumulated tracks for cycling, running, or rowing for currently approx. 270,000 members from all over the world.
Download the app and connect
Scan the adjacent QR code with your smartphone/tablet or use the search function at the Playstore (Android) or APP Store (IOS) to download the Kinomap APP. Register and follow the instructions in the APP. Activate Bluetooth on the smartphone or tablet and select the device manager via the menu in the APP and then select the „Crosstrainer“ category. Then select your type designation via the manufacturer logo „Christopeit Sport“ in order to connect the sports equipment. Depending on the sports equipment, different functions are recorded by the APP via Bluetooth, or data is exchanged.
Attention: The Kinomap APP offers a free trial version for 14 days. After that, fees will apply which are listed on the Kinomap homepage. Further information can be found at: https://www.kinomap.com/en/
IOS AND ANDROID APP
CLEANING, CHECKS, AND STORAGE
- Cleaning
Use only less wet cloth for cleaning. Caution: Never use benzene, thinner, or other aggressive cleaning agents for surface cleaning as this damage is caused. The device is only for private home use and for use suitable indoors. Keep the unit clean and moisture from the device. - Storage
Plug out the power supply unit while intending the unit for more than 4 weeks not to use. Choose a dry storage in-house and put some spray oil at the front & rear foot tube connection point and handgrip axle. Cover the bike to protect it from being discolored by any sunlight and dirtied through the dust. - Checks
We recommend every 50 hours to review the screw connections for tightness, which were prepared in the assembly. Every 100 operating hours, you should put some spray oil at the front & rear foot tube connection point and handgrip axle.
TROUBLESHOOTING
If you cannot solve the problem with the following information, please contact the authorized service center.
| Problem | Possible Cause | Solution |
| The computer has no value at Display if you press any key. | No power adapter is well plugged or wall power is without power. | Check that the power adapter is properly plugged in, and possibly with another electric device check if the wall power is fine. |
| The computer is not counting data and does not switch on after the start cycling. | Sensor impulse missing based on not well-plugged connection. | Check the plug connections at the computer and inside of handle-bar support. |
| The computer is not counting data and does not switch on after starting cycling. | Sensor impulse missing based on the not correct position of the sensor. | Take off the cover and check the distance between the magnet and the Sensor. The magnet at the turning of the belt wheel should have only less than < 5mm distance against the sensor position. |
| No pulse value. | The pulse cable is not plugged in. | Check the separate pulse cable is well connected with compu- ter. Check the connections of the pulse cable. |
| No pulse value. | Pulse sensors are not well connected. | Screw out the screw for pulse measurement and check if the plugs are well connected and no damage to the pulse cable. |

TRAINING INSTRUCTIONS
You must consider the following factors in determining the amount of training effort required in order to attain tangible physical and health benefits:
- Intensity:
The level of physical exertion in training must exceed the level of normal exertion without reaching the point of breathlessness and/or exhaustion. A suitable guideline for effective training can be taken from the pulse rate.
During training, this should rise to the region of between 70% to 85% of the maximum pulse rate (see the table and formula for determination and calculation of this). During the first weeks, the pulse rate should remain at the lower end of this region, at around 70% of the maximum pulse rate. In the course of the following weeks and months, the pulse rate should be slowly raised to the upper limit of 85% of the maximum pulse rate. The better the physical condition of the person doing the exercise, the more the level of training should be created to remain in the region of between 70% to 85% of the maximum pulse rate. This should be done by lengthening the time for the training and/ or increasing the level of difficulty.
If the pulse rate is not shown on the computer display or if for safety reasons you wish to check your pulse rate, which could have been displayed wrongly due to error in use, etc., you can do the following:
a. Pulse rate measurement in a conventional way (feeling the pulse at the wrist, for example, and counting the number of beats in one minute).
b. Pulse rate measurement with a suitable specialized device (available from dealers specializing in health-related equipment). - Frequency
Most experts recommend a combination of health-conscious nutrition, which must be determined on the basis of your training goal, and physical training three times a week. A normal adult must train twice a week to maintain his current level of condition. At least three training sessions a week are required to improve one’s condition and reduce one’s weight. Of course, the ideal frequency of training is five sessions a week. - Planning the training
Each training session should consist of three phases: the warm-up phase, the training phase, and the cool-down phase. The body temperature and oxygen intake should be raised slowly in the warm-up phase. This can be done with gymnastic exercises lasting five to ten minutes. Then the actual training (training phase) should begin. The training exertion should be relatively low for the first few minutes and then raised over a period of 15 to 30 minutes such that the pulse rate reaches the region of between70% to 85% of the maximum pulse rate.
In order to support the circulation after the training phase and to prevent or strain muscles later, it is necessary to follow the training phase with a cool-down phase. This should consist of stretching exercises and/ or light gymnastic exercises for a period of five to ten minutes. - Motivation
The key to a successful program is regular training. You should set a fixed time and place for each day of training and prepare yourself mentally for the training. Only train when you are in the mood for it and always have your goal in view. With continuous training, you will be able to see how you are progressing day by day and are approaching your personal training goal bit by bit.
Calculation formula:
Maximum pulse rate = 220 – age (220 minus your age)
90% of the maximum pulse rate = (220 – age) x 0.9
85% of the maximum pulse rate = (220 – age) x 0.85
70% of the maximum pulse rate = (220 – age) x 0.7

WARM UP EXERCISES (WARM UP)
Start your warm-up by walking on the spot for at least 3 minutes and then perform the following gymnastic exercises on the body for the training phase to prepare accordingly. The exercises do not overdo it and only as far run until a slight drag is felt. This position will hold for a while.

| Reach with your left-hand be- hand your head to the right shoulder and pull with the right hand slightly to the left elbow. After 20sec. switch arm. | Bend forward as far forward as possible and let your legs almost stretch. Show it with your fingers in the direction of the toe. 2 x 20sec. | Sit down with one leg stretched out on the floor and bend forward and try to reach the foot with your hands. 2 x 20sec. | Kneel in a wide lunge forward and support yourself with your hands on the floor. Press the pelvis down. Change after 20-sec leg. |
After the warm-up exercises, some arms and legs shake loose. We recommend the warm-up exercises at the end of the training be conducted and to end your workout with shaking of the extremities. (Cool down)
PARTS LIST – SPARE PARTS LIST
AX 8000
Art.-Nr.: 2009
Technical data: Issue 22.02.2022
Ergometer of Class HA
- 24-stepped Motor – and Computer-controlled magnetic resistance
- Approx. 8 kg flywheel mass
- 10 stored training programs
- 4 heart rate programs
- 5 individual programs
- 1 manual program
- 1-speed independent program (30- 350 Watt, resistance adjustable in 10 Watt steps)
- 1 Body fat program
- Hand pulse measurement at moveable grips
- Pedals 3- times adjustable
- Floor level compensation
- Transport rollers
- Power plug (Adapter)
- Back Light LCD Display, 6 window display shows simultaneously: Time, Speed, Distance, approx Calorie consumption, RPM, ODO, Watt and pulse frequency, Holder for smartphone/tablet
- Inputs of limits: Time, Distance, approx. Calories, Pulse frequency, and Watt
- Announcement of limits
- Fitness- Test
- Body fat analysis (BMI)
- Bluetooth connection for Kinomap (APP for iOS and Android)
- Load max. 150 kg (Bodyweight)
Space requirement approx. [cm]: L 120 x B 60 x H 165
Items weight [kg]: 45
Exercise space approx. [m2]: 3,5
This product is created only for private Home sports activity and is not allowed to us in a commercial or professional area. Home Sport use class H/A
Please contact us if any components are defective or missing, or if you need any spare parts or replacements in the future:
Top-Sports Gilles GmbH
Friedrichstraße 55
42551 Velbert
Telefon: +49 (0)20 51 / 60 67-0
Telefax: +49 (0)20 51 / 60 67-44
e-mail: [email protected]
www.christopeit-sport.com

| Illustration No. | Designation | Dimension mm | Quantity | Attached to Illustration No | ET-Number |
| 1 | Computer | 1 | 30 | 36-2009-03-BT | |
| 2 | Fixed handle foam | 2 | 3 | 36-1508-04-BT | |
| 3 | Fixed handle | 1 | 30 | 33-1908-03-SW | |
| 4 | Endcap | 2 | 3 | 39-9847 | |
| 5L | Handgrip left | 1 | 25L | 33-1508-11-SI | |
| 5R | Handgrip right | 1 | 25R | 33-1508-12-SI | |
| 6 | Endcap | 2 | 5 | 36-9825315-BT | |
| 7 | Handgrip foam | 2 | 5 | 36-1123-11-BT | |
| 8 | Hand pulse sensor | 2 | 5 | 36-1123-23-BT | |
| 9 | Self-tapping screw | M4x25 | 2 | 8 | 36-9111-38-BT |
| 10 | Hand pulse cable | 2 | 8+16 | 36-1123-12-BT | |
| 11 | Screw headcover | 2 | 12 | 36-1908-06-BT | |
| 12 | Outer hexagon bolt | M8x20 | 2 | 19 | 39-9823 |
| 13 | Adaptor | 9V=DC/1A | 1 | 39 | 36-1420-17-BT |
| 14 | Cable save | 4 | 5+30 | 36-9134-22-BT | |
| 15 | Screw | M5x10 | 4 | 1 | 39-9903 |
| 16 | Pulse connection cable | 2 | 1+10 | 36-1123-24-BT | |
| 17 | Nylon bushing | 19×38 | 2 | 30 | 36-1508-09-BT |
| 18 | Grip cover | 1 | 3 | 36-1908-07-BT | |
| 19 | Handgrip axle | 1 | 25+30 | 33-9925462-SI | |
| 20 | Washer | 19//38 | 2 | 19 | 36-9925114-BT |
| 21 | Nylon bushing | 18.5×38 | 4 | 25 | 36-9825328-BT |
| 22 | Washer | 8//32 | 2 | 12 | 39-10166 |
| 23 | Allen bolt | M10x78 | 2 | 25+44 | 39-10055-SW |
| 24 | Oval plug | 30×60 | 2 | 44 | 36-1123-26-BT |
| 25L | Connection tube left | 1 | 5L+44L | 33-1508-08-SI | |
| 25R | Connection tube right | 1 | 5R+44R | 33-1508-09-SI | |
| 26 | Nylon nut | M10 | 2 | 23 | 39-9981-VC |
| 27 | Washer | 10//19 | 2 | 23 | 39-9989-CR |
| 28 | Steel tube | 14x10x59.3 | 2 | 29 | 36-9925515-BT |
| Illustration No. | Designation | Dimension mm | Quantity | Attached to Illustration No | ET-Number |
| 29 | Bushing | 14×32 | 4 | 25 | 36-9925516-BT |
| 30 | Handlebar post | 1 | 40 | 33-1908-02-SW | |
| 31 | Curved washer | 8//19 | 12 | 33 | 36-9966-CR |
| 32 | Spring washer | for M8 | 26 | 12, 33,48+59 | 39-9864-VC |
| 33 | Allen bolt | M8x20 | 12 | 3,5+30 | 39-9886-CR |
| 34 | Connection cable | 1 | 1+35 | 36-1721-15-BT | |
| 35 | Motor cable | 1 | 34+63 | 36-1721-16-BT | |
| 36 | Cap nut | M8 | 4 | 59 | 39-9900-SW |
| 37 | Washer | 8//16 | 4 | 59 | 39-9962 |
| 38 | Sensor cable | 1 | 35+40 | 36-1721-13-BT | |
| 39 | DC cable | 1 | 35+98 | 36-1721-07-BT | |
| 40 | Main frame | 1 | 30 | 33-1908-01-SW | |
| 41 | Tension wire | 1 | 63+80 | 36-1721-10-BT | |
| 42 | Carriage bolt | M6x50 | 4 | 43+44 | 39-10450 |
| 43L | Pedal left | 1 | 44R | 36-9825308-BT | |
| 43R | Pedal right | 1 | 44L | 36-9825309-BT | |
| 44L | Foot tube left | 1 | 25L+97 | 33-1908-06-SW | |
| 44R | Foot tube right | 1 | 25R+97 | 33-1908-07-SW | |
| 45 | Washer | 6//14 | 4 | 42 | 39-9863 |
| 46 | Spring washer | for M6 | 4 | 42 | 39-9865-SW |
| 47 | Hand grip nut | M6 | 4 | 42 | 36-9825318-BT |
| 48 | Allen bolt | M8x20 | 2 | 97 | 39-10095-SW |
| 49 | Washer | 8//24 | 2 | 48 | 39-9844-CR |
| 50 | C-clip | C40 | 2 | 44 | 36-1827-18-BT |
| 51 | Bearing | 2203-2RS | 2 | 44 | 36-1827-30-BT |
| 52 | Steel tube | 17.5x22x12 | 2 | 97 | 36-1908-16-BT |
| 53 | Plastic cover | 2 | 44 | 36-1908-11-BT | |
| 54 | Screw | M5x8 | 2 | 53 | 39-9903 |
| 55L | Front stabilizer cap left | 1 | 56 | 36-1908-08-BT | |
| 55R | Front stabilizer cap right | 1 | 56 | 36-1908-09-BT | |
| 56 | Front stabilizer | 1 | 40 | 33-1908-04-SW | |
| 57 | Rear stabilizer cap | 2 | 58 | 36-1908-10-BT | |
| 58 | Rear stabilizer | 1 | 40 | 33-1908-05-SW | |
| 59 | Carriage bolt | M8x45 | 4 | 40,56+58 | 39-9953 |
| 60 | Drill screw | M5x20 | 10 | 38,55,57+63 | 39-9903-SW |
| 61 | Axis protection piece | 2 | 66 | 36-1123-28-BT | |
| 62 | Axle nut | M10x1.25 | 2 | 64 | 39-9820-SW |
| 63 | Servo motor | 1 | 35+41 | 36-1721-09-BT | |
| 64 | Flywheel | 1 | 40 | 33-1908-11-SI | |
| 65 | Eyebolt | M6x40 | 2 | 64 | 39-10000 |
| 66 | U-piece | 2 | 65 | 36-9713-55-BT | |
| 67 | C-clip | C8 | 1 | 71 | 36-9514-26-BT |
| 68 | Washer | 10//15 | 1 | 71 | 36-1508-12-BT |
| 69 | Wave washer | 10x15x0.5 | 1 | 71 | 36-1508-11-BT |
| 70 | Idler wheel | 1 | 71 | 36-9214-28-BT | |
| 71 | Axle idler wheel | 1 | 40+70 | 36-1908-13-BT | |
| 72 | Nylon nut | M10 | 1 | 71 | 39-9981-VC |
| 73 | Nut | M6 | 4 | 65+74 | 39-9861-VZ |
| 74 | Double-thread screw | 1 | 40+80 | 36-1611-22-BT | |
| 75 | Silicone washer | 8//16 | 1 | 74 | 39-9917-CR |
| 76 | Nylon nut | M6 | 5 | 74 | 39-9816-VC |
| 77 | Spring | 1 | 80 | 36-9806217-BT | |
| 78 | Allen bolt | M6x15 | 6 | 81+91 | 39-9911 |
| 79 | Washer | 6//14 | 3 | 78 | 39-9863 |
| 80 | Magnet bracket | 1 | 81 | 33-1611-14-SI | |
| 81 | Axle magnet bracket | 1 | 80 | 36-9225-11-BT | |
| 82 | Spring washer | for M6 | 6 | 78+92 | 39-9865-SW |
| 83 | Magnet | 1 | 89 | 36-9825506-BT | |
| 84 | C-clip | C20 | 1 | 91 | 36-9925520-BT |
| 85 | Washer | 20.5x25x2 | 1 | 91 | 36-9925523-BT |
| 86 | Bearing | 6004-2RS | 2 | 40 | 36-9217-32-BT |
| 87 | Washer | 20.5x25x1 | 1 | 91 | 36-9925523-BT |
| 88 | Wave washer | 20x25x0.5 | 1 | 91 | 36-9925532-BT |
| 89 | Belt wheel | 1 | 91 | 36-1908-14-BT | |
| 90 | Belt | 520J6 | 1 | 64+89 | 36-9126-59-BT |
| Illustration No. | Designation | Dimension mm | Quantity | Attached to Illustration No | ET-Number |
| 91 | Pedal axle | 1 | 89+93 | 33-1908-10-SI | |
| 92 | Axle nut | 2 | 91+93 | 39-9820-SW | |
| 93 | Crossing welding | 2 | 91 | 33-1908-08-SI | |
| 94 | Crank plug | 2 | 95 | 36-1908-15-BT | |
| 95 | Circle cover | 2 | 97 | 36-1908-04-BT | |
| 96 | Screw | M8x20 | 6 | 93+97 | 39-9886-CR |
| 97 | Crank | 2 | 93 | 33-1908-09-SI | |
| 98L | Chain cover left | 1 | 40+98R | 36-2009-01-BT | |
| 98R | Chain cover right | 1 | 40+98L | 36-2009-02-BT | |
| 99 | Connection shaft | 1 | 98 | 36-1508-10-BT | |
| 100 | Rubber plug | 1 | 101 | 36-1908-12-BT | |
| 101 | Plastic cover | 1 | 30 | 36-1908-05-BT | |
| 102 | Screw | M5x15 | 7 | 18,93+95 | 39-10190 |
| 103 | Drill screw | M5x15 | 7 | 98 | 39-9851 |
| 104 | Self-tapping screw | M4.5×25 | 7 | 98 | 39-9825338-BT |
| 105 | Multi wrench | 2 | 36-9107-28-BT | ||
| 106 | Allen wrench | 6 | 1 | 36-9107-27-BT | |
| 107 | Assembly and exercise instructions | 1 | 36-2009-04-BT |
NOTES
Service / Hersteller
Bei Reklamationen, notwendigen Ersatzteilbestellungen oder Reparaturen wenden Sie sich bitte an unsere Service Abteilung.
Top-Sports Gilles GmbH
Friedrichstrasse 55
D – 42551 Velbert
Tel.: +49 (0)2051/6067-0
Fax: +49 (0)2051/6067-44
[email protected]
http://www.christopeit-sport.com
© by Top-Sports Gilles GmbH D-42551 Velbert (Germany)
02.2022 – Druckfehler vorbehalten



















