KH-706A2 Ergometer Elliptical Bike
User Manual
Safety Instructions
- To ensure the best safety of the exerciser, regularly check it on damaged and worn parts.
- If you pass on this exerciser to another person or if you allow another person to use it, make sure that that person is familiar with the content and instructions in these instructions.
- Only one person should use the exerciser at a time.
- Before the first use and regularly make sure that all screws, bolts, and other joints are properly tightened and firmly seated.
- Before you start your workout, remove all sharp-edged objects around the exerciser.
- Only use the exercise for your workout if it works flawlessly.
- Any broken, worn or defective part must immediately be replaced, and/or the exerciser must no longer be used until it has been properly maintained and repaired.
- Parents and other supervisory persons should be aware of their responsibility, due to situations that may arise for which the exerciser has not been designed and which may occur due to children’s natural play instinct and interest in experimenting.
- If you do allow children to use this exerciser, be sure to take into consideration and assess their mental and physical condition and development, and above all their temperament. Children should use the exerciser only under adult supervision and be instructed on the correct and proper use of the exerciser. The exerciser is not a toy.
- Make sure there is sufficient free space around the exerciser when you set it up.
- To avoid possible accidents, do not allow children to approach the exerciser without supervision, since they may use it in a way for which it is not intended due to their natural play instinct and interest in experimenting.
- Please note that an improper and excessive work-out may be harmful to your health.
- Please note that levers and other adjustment mechanisms are not projecting into the area of movement during the workout.
- When setting up the exerciser, please make sure that the exerciser is standing in a stable way and that any possible unevenness of the floor is evened out.
- Always wear appropriate clothing and shoes which are suitable for your workout on the exerciser.
The clothes must be designed in a way so that they will not get caught in any part of the exercise during the workout due to their form (for example, length). Be sure to wear appropriate shoes which are suitable for the work-out, firmly support the feet, and are provided with a non-slip sole. - Be sure to consult a physician before you start any exercise program. He may give you proper hints and advice with respect to the individual intensity of stress for you as well as to your workout and sensible eating habits.
Important Notes
Assemble the exerciser as per assembly instructions and be sure to only use the structural parts provided with the exerciser and designed for it. Prior to the assembly, make sure the contents of the delivery is complete by referring to the parts list of the assembly and operating instructions.
- Be sure to set up the exerciser in a dry and even place and always protect it from humidity. If you wish to protect the place, particularly against pressure points, contamination, etc., it is recommended to put a suitable, non-slip mat under the exerciser.
- The general rule is that exercisers and training devices are no toys. Therefore, they must only be used by properly informed or instructed persons.
- Stop your workout immediately in case of dizziness, nausea, chest pain, or any other physical symptoms. In case of doubt, consult your physician immediately.
- Children, disabled and handicapped persons should use the exercise only under the supervision and in presence of another person who may give support and useful instructions.
- Be sure that your body parts and those of other persons are never close to any moving parts of the exerciser during its use.
- When adjusting the adjustable parts, make sure they are adjusted properly and note the marked, maximum adjusting position, for example of the saddle support, respectively.
- Do not work out immediately after meals!
Part List
| Part No. | Description | Q’ty |
| 1 | Main frame | 1 |
| 2 | Front stabilizer | 1 |
| 3 | Square neck bolt M8*75L | 4 |
| 4 | Rearfoot cap | 2 |
| 5L | Left front foot cap | 1 |
| 5R | Right front foot cap | 1 |
| 6 | Curved washer | 12 |
| 7 | Spring washer D15.4*D8.2*2T | 16 |
| 8 | Domed nut M8*15L | 4 |
| 9 | Bolt M8*20L | 10 |
| 10 | Handlebar post | 1 |
| 11 | Pedal supporting tube | 2 |
| 12 | Movable handlebar support | 2 |
| 13 | Bushing D19.15*(D25.6*32)*L(17+3) | 14 |
| 14(L+R) | Cover for pedal | 2+2 |
| 15 | Round plastic cap D1’*17L | 2 |
| 16 | Ball bearing | 2 |
| 17 | Cover for handlebar | 1 |
| 18 | Nylon nut M10 | 2 |
| 19 | Rear stabilizer | 1 |
| 20 | Square neck screw M6X45L | 4 |
| 21(L&R) | Pedal | 1+1 |
| 22 | Upper cover for universal axle | 2 |
| 23 | Bolt M10*58L | 2 |
| 24 | Flat washer D24*D13.5*2.5T | 2 |
| 25 | Screw M5*10L | 5 |
| 26 | C-shape ring S-17(1T) | 2 |
| 27 | Electric cable | 1 |
| 28 | Sensor cable | 1 |
| 29 | Upper computer cable | 1 |
| 30 | Motor | 1 |
| 31 | Bushing D29*D11.9*9T | 4 |
| 32 | Universal joint | 2 |
| 33 | Crank | 2 |
| 34 | Belt wheel | 1 |
| 35 | Belt | 1 |
| 36(L&R) | Upper chain cover | 1+1 |
| 37 | Magnetic system | 1 |
| 38 | Bolt cap M8 | 2 |
| 39 | Side cover | 2 |
| 40 | Bolt M8*25L | 2 |
| 41 | C-clip S-16(1T) | 1 |
| 42 | Round cover | 2 |
| 43 | Bearing | 2 |
| 44 | Flat washer D22*D11*2T | 1 |
| 45 | Anti-loose nut 3/8’*26UNF*6.5T | 2 |
| 46 | Flat washer D24*D16*1.5T* | 1 |
| 47 | Sea washer D21*D16.2*0.3T | 1 |
| 48 | Taper washer | 2 |
| 49 | Gasket for chain cover | 1 |
| 50 | Flat washer D20*D11*2T | 2 |
| 51 | Nylon nut M8 | 2 |
| 52(L&R) | Handlebar | 1+1 |
| 53 | foam for handlebar | 2 |
| 54 | Foam for fixed handlebar | 2 |
| 55 | Mushroom-head cap | 2 |
| 56 | Spring | 1 |
| 57 | Nylon nut M6 | 4 |
| 58 | Screw M6*15L | 4 |
| 59 | Lower cover for universal axle | 2 |
| 60 | Flat washer D23*D117.2*1.5T | 1 |
| 61 | Crank axle | 1 |
| 62 | Magnet | 1 |
| 63 | SeawasherD17*D22*0.3T | 2 |
| 64 | Computer SM3123-16 | 1 |
| 65 | Hand on pulse | 2 |
| 66 | Flat washer D25*D8.5*2T | 2 |
| 67 | Sea washer D26*D19.5*0.3T | 8 |
| 68 | C-shape ring D21.5*D17.5*1.2T | 8 |
| 69 | Front pedal axle | 2 |
| 70 | Fixing plate for idle wheel | 1 |
| 71 | Axle D19*374.5 | 1 |
| 72 | Fixed handlebar | 1 |
| 73 | Flat washer D14*D6.5*0.8T | 4 |
| 74 | Anti-loose nut | 2 |
| 75 | Screw ST4*20 | 4 |
| 76 | Upper cover | 1 |
| 77 | Knob | 4 |
| 78 | Adaptor | 1 |
| 79 | Screw for computer M5*10L | 4 |
| 80 | Screw for handpulse ST4*20L | 2 |
Exploded Drawing

Assembly Instruction
Step 1:

| 1) Assemble the front stabilizer | (1) by using the two square neck bolts |
| (2) and rear stabilizer | (3), the two curved washers |
| (19) onto the main frame | (6), then two spring washers |
| (7), and two domed nuts | (8) separately. |
Step 2:

- First, connect the upper computer cable (29) with the Motor cable (30).
- Then insert the handlebar post (10) on the main frame and tighten it by using the four bolts (9), the four spring washers (7), the one curved washer (6), and the three taper washers (48).
***Please note the washer position shown in the above drawing.
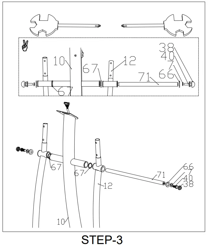
Step 3:

- Insert the shaft axle (71) through the movable handlebar support (12), two sea washers (67) on every side, and the handlebar post (10), then assemble one flat washer (66), one spring washer (40) every side, then tighten with the bolt (40), last cover the screw cap (38).
Step 4:

- Assemble the fixed handlebar (72) on the handlebar post (10) by using the two bolts (9), then the two spring washers (7),and the two curved washers (6).
- Assemble the left & right handlebar (52L&52R) on the movable handlebar support (10) by using the two bolts (9), then the two spring washers (7), the two curved washers (6).
Step 5:

- Assemble the left and right pedal (21L&21R) on the pedal supporting tube (11) by using the two square neck screws (20),and the two flat washers (73), then tighten it with a knob (77).
Step 6:

- Connect the Upper computer cable (29) and the Hand on the pulse (65) with the computer (64).
- Fix the Upper cover for the universal axle (22) and the Lower cover for the universal axle (59) by using the Screw (75).
- Before excising, please remember to insert the adapter into the equipment.
Maintenance
- Regularly check all component parts of the bike and tighten them, if need be.
- To clean the bike, use only mild soapsuds or a generally mild and not abrasive detergent.
- Always protect the computer from damage.
- Be sure to always keep liquids away from the computer, adapter, and the plug as well as from the bike at all times.
- Do not expose the computer to direct sunlight.
- This bike is driven with a motor that is built inside the chain cover. Never allow any liquid to penetrate into this chain cover.
- Always store the home exerciser in a dry and warm room.
Switch on
After connecting the power adapter and/or after pressing any button the display will be blinking for some seconds showing figure 78, then displaying “U1”, which stands for user 1. This computer has a 4 users memory feature. Use the button “UP” to select “U2 up to U4”. Use button “MODE” to exit user set-up.
Next, the display shows “P”(pause), “PROGRAM”, “USER”, and “TARGET H.R”. Use the button “UP” to select the appropriate program. Use the button “MODE” to confirm the selection.
Function buttons
| MODE | Press to select any function to be displayed on the main screen. Hold depressed for a few seconds to have a total reset. |
| ST/STOP | To start or stop the exercise program. |
| RECOVERY | Press this button for recovery function: After exercising, while the LCD is still active, press recovery button, and hold both sensors (or wear the chest transmitter) The computer will run a time down for 60 seconds, after which your recovery rate will be displayed, grades 1 up to 6. Level 1 features fast recovery, level 6 slow recovery. |
| BODY FAT | Enter your personal data Put both hands straight and hold the grip pulse sensor for about 15 seconds and your Body Fat Value will be displayed in the Body Fat window. Since the male and female fat structure is different, the evaluation should also be different. Check the reference list shown below. |
| RESET | To clear the display and reset all data. Press for 3 seconds to clear all data, the display will show ‘U1’. Press for 1 second to clear the last single entry or one single display. |
| UP | To select upward function. |
| DOWN | To select the downward function |
Function description
Time:
Displays time function by pressing the mode button (marking – flashes in “TIME” lcd window). For countdown enter the rate in minutes by pressing the up/down button.
Distance:
Displays distance function by pressing the mode button (marking – flashes in “DISTANCE” lcd window). For countdown enter the rate in km by pressing the up/down button.
Calories:
Displays calorie-burn function by pressing the mode button (marking – flashes in “CALORIE” lcd window). For countdown enter the rate by pressing the up/down button.
Speed:
Displays speed function by pressing the mode button (marking – flashes in “SPEED” lcd window).
Rpm:
Displays Rpm function by pressing the mode button (marking – flashes in “RPM” lcd window.)
Watt:
Displays power value function by pressing the mode button (marking – flashes in “WATT” lcd window.)
Pulse:
Hold firmly both sensors on the handgrip (please wipe sensors and hands before starting measuring your pulse) or apply an optional chest strap (moisten slightly the contacts of the strap). Your current heart rate will be displayed within 30 seconds up to one minute. A stable figure requires holding both sensors firmly.
Your computer is compatible with the optional Dan Chest Transmitter (ref 20073), for integrated wireless heart rate registration. Contact your Dan dealer, or visit our website www.dkn-lifestyle.com, or ask for more information: [email protected]
Function value range
| Functions | Display Range | Preset Range |
| Speed | 0.0 – 99.9 km/h | None |
| RPM | 20 – 999 rpm | None |
| Time | 00.00 – 99.59 min | 01.00 – 99.00 min |
| Distance | 0.00 – 99.99 km | 0.5 – 99.50 km |
| Watt | 0 – 999 watts | 0 – 350 watts |
| Calories | 0 – 9999 cal | 0 – 9999 cal |
| Pulse | 30 – 240 bpm | 30 – 240 bpm |
| Recovery | F1 – F6 | None |
Training in MANUAL mode
- Select “MANUAL”, use “UP”and“DOWN” button to adjust the load level (this ergometer offers 16 levels), confirm selection by pressing “MODE”.
- “TIME” flashes: use the “UP” and“DOWN” buttons to set exercise time, and confirm the selection by pressing “MODE”. If you do not intend setting exercise time, simply press “MODE”.
- “DISTANCE” flashes: use the “UP” and“DOWN” buttons to set distance, and confirm selection by pressing “MODE”. If you do not intend to set exercise distance, simply press “MODE”.
- “CALORIES” flashes: use the “UP” and“DOWN” buttons to set calorie consumption, and confirm the selection by pressing “MODE”. If you do not intend to set calorie consumption, simply press “MODE”.
- “WATT” flashes: use the “UP” and“DOWN” buttons to set target watts, and confirm the selection by pressing “MODE”.
The tension difficulty will be auto-adjusted according to the Watt figure. If the figure is under the target value, the tension difficulty will be up-adjusted one level every 30 seconds, up to the maximum level of 16. As soon as you achieved the set value, tension difficulty will be down-adjusted to one level immediately. In case of over spec, the level will be down-adjusted one level immediately and keep down-adjusting every 15 seconds until you reach the preset value. If you do not intend to set Watts, simply press “MODE”. - “PULSE” flashes: use the “UP” and“DOWN” buttons to set maximum heart rate, and confirm the selection by pressing “MODE”. If you do not intend to set a heart rate level, simply press “MODE”, and the monitor will display the current heart rate value.
- Start exercising by pressing the “ST/STOP” button.
Training in PROGRAM mode
- Select “PROGRAM”, use the “UP” and“DOWN” buttons to select profiles 1 to 12, and confirm the selection by pressing “MODE”.
- Press “MODE” again, and set the target value for ‘TIME, DISTANCE, CALORIES AND PULSE”. Follow the procedure as described above in manual mode. In program mode “WATT” cannot be preset.
- If you do not intend to set any target value, start exercising by pressing the “ST/STOP” button.
Training in USER mode
- Select “USER”, and use the “UP” and“DOWN” buttons to set up your own profile (this ergometer offers 16 load levels and 16 load segments).
- In each segment confirm your load settings by pressing “MODE”.
- Start exercising directly by pressing the “ST/STOP” button, or if you intend to set personal target values, press the “ST/STOP” button once again. “P” and “TIME” are flashing. Follow the procedure as described above in manual mode for presetting target values.
- Start exercising by pressing the “ST/STOP” button.
Training in TARGET H.R. mode
- Select “TARGET H.R.”, and use the “UP” and“DOWN” buttons to enter your age.
- Press “MODE”, and “55%” is flashing. Use the “UP” and “DOWN” buttons to select 55, 75, 90, or THR. Confirm your selection by pressing “MODE”.
- If you selected 55, 75, or 90%, “TIME” is flashing: follow the procedure as described above in manual mode for presetting target values.
- If you selected THR, “100” is flashing: use the “UP” and “DOWN” buttons to set the target heart rate.
- Confirm your selection by pressing “MODE”.
- Start exercising by pressing the “ST/STOP” button.
- Upon entering the rate in Bpm (Beats per minute) the load tension will be controlled by the current heart rate. The resistance will be auto-adjusted according to the current heart rate figure. If your heart rate figure is under the target pulse, the tension will be up-adjusted one level every 30 seconds, up to the maximum level of 16. As soon as your heart rate figure has achieved the target pulse, tension will be down-adjusted to one level immediately. In case of over spec, the level will be down-adjusted one level immediately, and keep down-adjusting every 15 seconds until your heart rate figure has achieved the target pulse.
To reselect the initial mode push “STOP” (LCD shows “P” in the top left). Press “RESET” and use the “UP”and “DOWN” buttons to select another programming model.
The display will shut down automatically after 4 minutes of non-activity.
Training Instructions
If you have not been physically active for a long period of time and also to avoid health risks you should consult your general physician before starting to exercise.
To achieve a considerable improvement of your physical resistance and your health, some aspects of how to achieve the most efficient training should be followed:
Intensity
To achieve maximum results the right intensity has to be chosen. The heart rate is used as a guideline.
As a rule of thumb the following formula is commonly used:
Maximum pulse rate = 220 – Age
While exercising the pulse rate should always be between 60% – 85% of the maximum pulse rate.
For your personal training rates please see the attached pulse rate chart.
When starting to exercise you should keep your rate at 70% of your maximum pulse rate in the first couple of weeks.
With increasing improvement of fitness, the pulse rate should be slowly increased to 85% of your maximum pulse rate.
This is a personal orientation value. Consult your physician for professional advice before adopting a heart rate recovery program.
Fat burning
The body starts to burn fat at approx. 65% of the maximum pulse rate.
To reach an optimum at a burning rate, it is advisable to keep the pulse rate between 70% – 80% of the maximum pulse rate.
The optimum training amount consists of three workouts per week 30 minutes each.
Example:
You are 52 years of age and would like to start exercising.
Maximum pulse rate = 220 – 52(age) = 168 pulse/min
Minimum pulse rate = 168 x 0.7 = 117 pulse/min
Highest pulse rate = 168 x 0.85 = 143 pulse/min
During the first weeks, it is advisable to start with a pulse rate of 117, and afterward, increase it to 143.
With increasing improvement of fitness, the training Intensity should be increased to 70% – 85% of your maximum pulse rate.
This can be done by increasing the pedaling resistance, by using a higher pedaling frequency, or with longer training periods.
Training Organisation
Warm-up
Before every training session, you should warm up for 5-10 minutes.
Some stretching and pedaling with low pedaling resistance will get you started.
Dan warming-up program
Stretch or flexibility training is vital for a fit and healthy physique. By training your body to become more supple, you will improve circulation and help keep your muscles mobile. The Dan warming-up program allows you to achieve a supple and well-toned form.
If you have not focused on stretch training before, start with gentle stretches and increase the length of time of the stretch as you become more flexible over time. With a wide variety of fitness items throughout the Dan range, you will always find a product to match your fitness level.
Prior to exercise, make sure you warm up thoroughly to protect against injury and prepare yourself for the activity to come. Warm up for 8 to 10 minutes by walking or jogging lightly on the spot or use a Dan treadmill, bike or elliptical strider. Try to include some similar movements that make up your workout, including stretches to target your tighter muscles. The duration of the warm-up activity will depend on the intensity of your workout as well as your own fitness level.
Work-out
During the actual training, a rate of 70% -85% of the maximum pulse rate should be chosen.
The time length of your workout can be calculated with the following rule of thumb:
daily work-out: approx. 10 min. per unit
2-3 x per week: approx. 30 min. per unit
1-2 x per week: approx. 60 min. per unit
Cool down
To introduce an effective cool-down of the muscles and the metabolism the intensity should be drastically decreased during the last 5 – 10 minutes.
Stretching is also helpful for the prevention of muscle aches.
Success
Even after a short period of regular exercises, you will realize that you constantly have to increase the pedaling resistance to reach your optimum pulse rate.
The units will be continuously easier and you will feel a lot fitter during your normal day.
For this achievement, you should motivate yourself to exercise regularly. Choose fixed hours for your workout and do not start training too aggressively.
An old saying amongst sportsmen says:
“The most difficult thing about training is to start it.”
Wishing you lots of fun and success with your Dan exerciser.
All data displayed are approximate guidance and cannot be used in any medical application.
The heart rate displayed is an approximate read-out, and may not be used as guidance in any cardio-vascular-related medical or paramedical program.

















