
002-714

EXCERCISE BIKE
Operating instructions
(Translation of the original instructions)
Important! Read the user instructions carefully before use.
Save them for future reference.
Care for the environment!
Recycle discarded products in accordance with local regulations.

![]() | |
![]() | |
![]() | |
![]() | |
![]() | |
![]() | |
![]() | |
![]() | ![]() |
![]() | ![]() |
![]() | ![]() |
![]() | ![]() |
SAFETY INSTRUCTIONS
- To avoid injury you must warm up all your body before you start exercising. See warming-up and relaxing section. After exercising it is recommended to gradually
- Check that all the parts are undamaged and correctly assembled before use. Place the equipment on a level surface before We recommend that you place a mat or some other covering under the equipment.
- Wear suitable clothing and shoes. Do not wear clothes that can fasten in any part of the equipment.
- Do not carry out any maintenance or adjustments other than as described in these instructions. Stop using the equipment immediately if a fault occurs. Contact an authorised service centre.
- Be careful when getting on and off the pedals, and always use the handles as Push down the nearest pedal to the bottom position, step onto the pedal and lift the other leg over the frame, putting your foot on the other pedal. Grip the handles and start the pedals by pulling the handles towards you or pushing them away from you. Use the equipment by letting your hands and feet work together. When you have finished exercising leave one of the pedals in the bottom position and step down with your foot on the highest pedal first and then with the other foot.
- Do not use the equipment outdoors.
- The equipment is only intended for household use.
- The equipment is only intended to be used by one person at once.
- Keep children and pets at a safe distance from the equipment when in use. The equipment is only intended for adults. Leave at least 2 metres of free space around the equipment when in use.
- If you experience chest pains, nausea, dizziness or shortness of breath, stop exercising at once and consult a doctor before continuing.
- This equipment can be used by children from 8 years and upwards and by persons with physical, sensorial or mental disabilities, or persons who lack experience or knowledge if they are supervised or receive instructions concerning the safe use of the equipment and understand the risks involved with its Do not allow children to play with the equipment. Do not allow children to clean or maintain the equipment without supervision. Do not touch hot parts. Use the handles and knobs.
- Only intended for home use. Max weight for users: 110 kg.
Consult a doctor before starting an exercise programme. This is especially important if you are over 35, or have health issues. Read all the instructions before using exercise equipment.
SYMBOLS
![]() | Approved as per applicable directives. |
![]() | Recycle discarded products in accordance with local regulations. |
TECHNICAL DATA
Computer
| Distance | 0.1-999.9 km |
| Time | 0:00-99:59 min |
| Odometer | 0.1-999.9 km |
| Calories | 0.1-999.9 kcal |
| Pulse | 40-240 pm |
| Control unit | 4-bit microprocessor |
| Battery | 2 x 1.5 V AAA |
| Operating temperature | 0 to 40C |
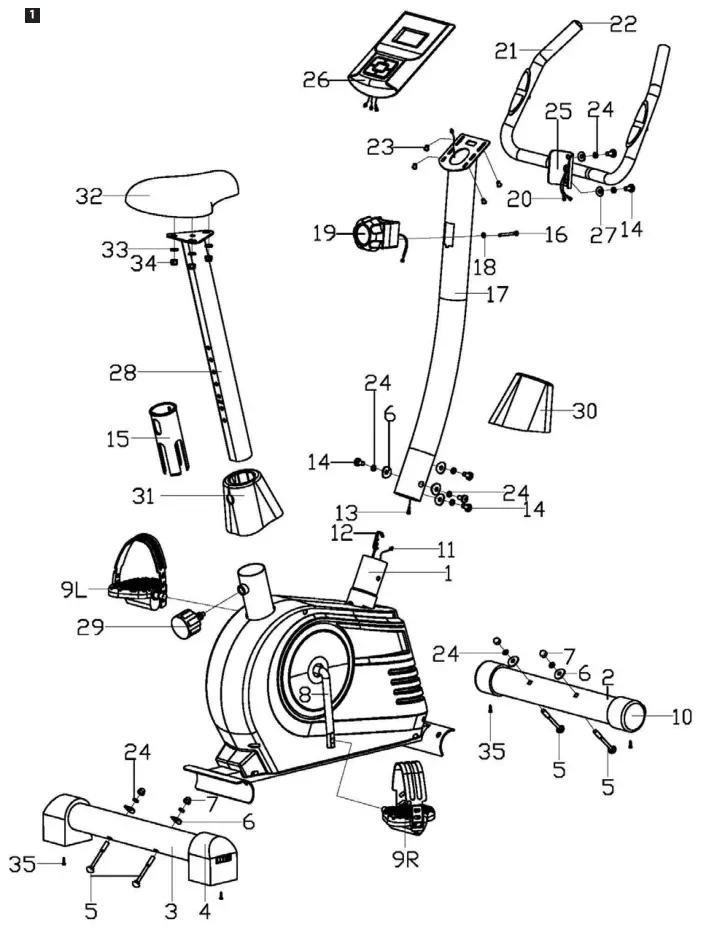
DESCRIPTION
| No. | Description | Qty |
| 1 | Frame | 1 |
| 2 | Front foot | 1 |
| 3 | Back foot | 1 |
| 4 | End piece for back foot | 2 |
| 5 | Screw M8 x 70 | 4 |
| 6 | Spring washer | 8 |
| 7 | Dome nut M8 | 4 |
| 8 | Crank arm | 2 |
| 9 L/R | Pedal | 2 |
| 10 | End piece for front foot | 2 |
| 11 | Sensor cable | 1 |
| 12 | Load wire | 1 |
| 13 | Extension cable | 1 |
| 14 | Screw M8 x 16 | 6 |
| 15 | Bushing | 1 |
| 16 | Screw | 1 |
| 17 | Handlebar post | |
| 18 | Flat washer | 1 |
| 19 | Load control | 1 |
| 20 | Cable to hand pulse sensor | 2 |
| 21 | Foam rubber grip | 2 |
| 22 | End piece, handlebars | 2 |
| 23 | Screw | 4 |
| 24 | Spring washer | 10 |
| 25 | Handlebars | 1 |
| 26 | Computer | 1 |
| 27 | Washer 0 8.2 x 0 20.2 | 2 |
| 28 | Saddle post | 1 |
| 29 | Knob | 1 |
| 30 | Cover, handlebar post | 1 |
| 31 | Cover, saddle post | 1 |
| 32 | Saddle | 1 |
| 33 | Flat washer | 3 |
| 34 | Nyloc nut M8 | 3 |
| 35 | Screw 4.2 x 18 mm | 4 |
FIG. 1
ASSEMBLY
Battery
- Release the battery cover and insert two AAA batteries in the battery compartment on the back of the computer unit, see diagram below.
- Check the polarity of the batteries and that the battery springs are in good contact with the batteries.
- Replace the battery cover and check that it is secure.
- The battery life is approx. 1 year during normal use.
- If the display cannot be read, or only partially, remove the batteries and wait 15 seconds before replacing them.
- The exercise bike memory is deleted when the batteries are taken out.
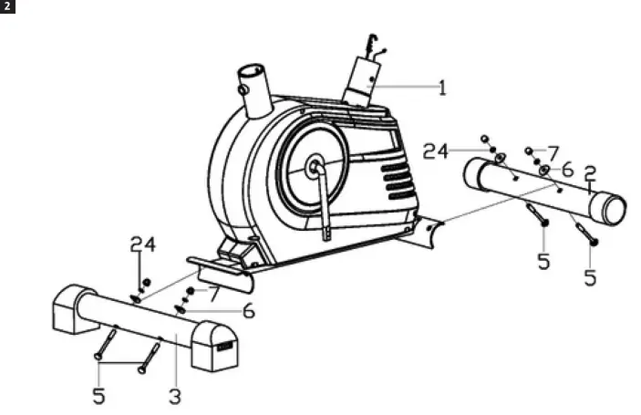
Front and back foot
- Place the front foot (2) in front of the frame (1) and align the screw holes.
- Fasten the front foot on the front bracket on the frame with 2 screws, 2 spring washers and 2 dome nuts.
- Place the back foot (3) behind the frame and align the screw
- Fasten the back foot on the back bracket on the frame with 2 screws, 2 spring washers and 2 dome nuts.
FIG. 2
NOTE:
The end piece for the back foot can be adjusted in height to ensure that the exercise bike stands firmly on the floor.
Pedals
NOTE:
The crank arms, pedals, pedal axles and pedal straps are marked with R for right and L for left.
- Insert the left pedal axle in the threaded hole in the left crank arm. Screw tight the pedal anticlockwise by hand.
Do NOT turn the left pedal clockwise, this will damage the thread. - Insert the right pedal axle in the threaded hole in the right crank arm. Screw tight the pedal clockwise by hand.
FIG. 3
Saddle, saddle post and post cap
- Put the post cap (31) over the frame tube.
- Remove the nylon nuts M8 and washers (33) from the saddle (32).
- Place the saddle over the saddle post and fasten the saddle with washers and nylon nuts.
- Put the saddle post in the saddle post bushing on the frame tube and fasten the saddle height adjustment knob (29) on the frame tube by turning it clockwise to lock the saddle post in the required position.
FIG. 4
Handlebar post, handlebar post cap and load control
- Remove 4 screws and 4 spring washers from the frame (1).
- Push up the handlebar post cap (30) over the handlebar post. Put the wire to set the load through the hole in the handlebar post and pull it out through the square hole in
the handlebar post. - Connect the sensor cable from the frame to the sensor extension cable from the handlebar post.
- Fitting the handlebar post on the frame and secure with 4 screws and 4 spring washers.
- Push down the handlebar post cap along with the handlebar post.
- Remove the screw and spring washer from the load control.
- Put the end of the wire on the load control in the spring hook on the wire to set the load. Pull the wire on the load control up and put it in the metal fastener on the wire to set the load. Fasten the load control on the handlebar post with the screw and spring washer.
FIG. 5
Handlebars
- Remove the screws and spring washers from the handlebar post.
- Put the pulse sensor cables through the hole in the handlebar post and pull them through the top end of the handlebar post.
- Fasten the handlebars on the handlebar post with screws and spring washers.
FIG. 6
Computer
- Undo the screws from the computer.
- Connect the pulse sensor cables and the sensor extension cable to the cables from the computer. Put the cables in the handlebar post.
- Fasten the computer over the top end of the handlebar post with the screws.
FIG. 7
Auto On/Off & Auto
The exercise computer is switched on all the time the equipment is used. After 4 minutes of inactivity, the exercise computer switches off automatically.
Automatic scanning
Press the button until the arrow points to A. The exercise computer switches between showing 5 functions: Speed, Distance, Time, Odometer and Calories. Each value is shown for 6 seconds.
Speed
Press the button until the arrow points to S to show the actual speed.
Distance
Press the button until the arrow points to D to show the distance you have cycled.
Time
Press the button until the arrow points to T to show how long you have been exercising.
Total distance
Press the button until the arrow points to Oto show the total distance you have cycled on the exercise bike
Calories
Press the button until the arrow points to C to show consumption of calories.
Pulse
Press the button until
is shown to show your pulse. When measuring your pulse place both palms against the sensor surface on the handlebars. The pulse is shown on the display after 4-5 seconds.
Reset
Press the button for more than 3 seconds to reset all the values except for the odometer.
WARMING-UP AND RELAXING
A good exercise programme should include warming up, fitness training and relaxing. Carry out the full programme at least two or three times a week, with one day of rest between the sessions. After a few months of exercising you can increase to four to five times a week.
Fitness training
Fitness training is a sustained activity that sends oxygen to your muscles via your heart and lungs. With fitness training, you improve the capacity of your heart and lungs. You train your physical fitness every time you exercise a large muscle group, such as legs, arms or buttocks. Fitness training makes your heartbeat quickly and you breathe deeply. Fitness training is an important part of the overall exercise.
Warming-up
Warming up is an important part of all exercising. Always start each workout by warming up and stretching your body before the coming exercises. This increases your blood circulation and pulse rate, which delivers more oxygen to your muscles.
Relaxing
Relax at the end of each session to reduce tenderness in tired muscles.
Shoulder rolling
lift your right shoulder towards your ear and count one. Now lift your left should and count one, while lowering your right shoulder.
FIG. 8
Neck stretching
Turn the head to the right a moment and feel the stretching in the left side of the neck and then tilt the head backwards, stretch the chin up towards the ceiling and open your mouth. Turn the head to the left a moment and then let the head fall down towards the chest a moment.
FIG. 9
Side stretching
Stretch out your arms to the sides and hold them above your head. Stretch your right arm as far as you can towards the ceiling and count one. Repeat on the left side.
FIG. 10
Stretching of front thighs
Hold your left hand against the wall, stretch the other hand backwards and pull up the right foot. Pull your heel towards your bottom. Count to 15 and then repeat on the left side.
FIG. 11
Stretching the inside of the thighs
Sit with your feet towards each other and your knees pointing out. Pull your feet as close to your crotch as possible. Carefully press down your knees to the floor. Hold and count to 15.
FIG. 12
Toe stretching
Bend forward from your waist and allow your back and shoulders to relax when you stretch towards your toes. Stretch as far as you can and hold while counting to 15.
FIG. 13
Stretching of bottom thighs
Stretch out your right leg. Place the left sole of your foot against the inside of the right thigh. Stretch as far as you can towards your toes. Hold and count to 15. Relax and repeat on the left leg.
FIG. 14
Stretching the calves/heels
Put your hands against a wall with the left leg in front of the right and your arms stretched forward. Hold the right leg straight and the left foot against the floor. Bend the left leg and lean forward by moving your hips towards the wall. Hold and repeat on the other side and count to 15.
FIG. 15
JULA AB, BOX 363, SE-532 24 SKARA
2021-09-22
© Jula AB



































