KAYOBA 006380 Ladies Bike 
SAFETY INSTRUCTIONS
IMPORTANT:
The maximum load including cyclist and baggage is 120 kg.
OWNER’S RESPONSIBILITY
The instructions describe how to ride safely and keep the bike in good condition. Read the instructions carefully, and follow them. All the important servicing and adjustments to the bike should be carried out at a bike shop. Follow these instructions if you do not have access to a bike shop or want to do the adjustments yourself.
- Familiarise yourself with the components and accessories on the bike so that you can use them properly.
- A bike is exposed to wear, like all mechanical equipment, when you use it. Different materials and components react in different ways to wear and stress. If the life span of any part of the bike (including the frame, forks and components) has been exceeded there is a risk of the part suddenly breaking, and that you lose control and fall off. Cracks, scratching or changes in colour in areas exposed to high levels of stress indicate that the component has reached the end of its useful life and should be replaced.
- It can be dangerous to use the bike for freestyle biking, stunt tricks, competitions, off-road biking etc., and you are personally responsible for any subsequent injuries or other damage resulting from the use of the bike in this way. The retailer waives all liability for any consequential damage or other loss in relation to the person who has purchased that bike or any third party.
- It is important to understand how the brakes work on the bike. If you do not use the brakes properly you could loose control of the bike and seriously injure yourself. Different bikes can behave in different ways when you brake, so it is important to learn how the bike behaves in different situations and how hard you should press the brake levers.
ALWAYS CHECK BEFORE USE
- That the rims are in good condition and undamaged. A worn rim is a safety risk and should be replaced.
- That screw union and components are properly tightened and not worn or damaged.
- That the seat is comfortably adjusted.
- That the brakes are working properly.
- That the steering does not jam, or has too much play.
- That the wheels are not buckled and that the wheel bearings are correctly adjusted.
- That the wheels are properly attached in the back/front forks.
- That the tyres are in good condition and have the correct tyre pressure.
- That the pedals fit properly in the crank arms.
- That the gears are correctly adjusted.
- That all the reflectors are fitted.
- That all the screw unions are correctly tightened and that the wires are undamaged and correctly drawn along the frame.
- That all the nuts and bolts are properly tightened.
- That the rim/disc brake pads are not worn out.
- That the tyres are not worn or damaged.
- That the lights are working at the front and back.
- That all the reflectors are intact and clean.
- That the brakes are working properly.
ROAD SAFETY
- Always wear a bike helmet.
- Follow local traffic regulations.
- Do not put anything on the bike that can get caught up and obstruct the functions of the bike.
- Do not ride on the same side as oncoming traffic.
- Do not ride alongside another bike.
- Do not give rides on bikes not intended for this.
- Do not swing out into traffic.
- Do not hang anything from the handlebars that makes it difficult to steer, or which could fasten in the front wheel.
- Do not hang onto another vehicle.
- Do not ride too close to a vehicle in front.
- Cycling in the rain or on wet roads:
- The braking power is reduced by water and ice.
- Cycle more slowly in wet weather and brake earlier than in dry weather.
- Follow local regulations when cycling in the dark:
- The bike must have a front lamp with a white light and a back lamp with a red light, in addition to the reflectors already fitted on the bike.
- Wear bright clothes and a highvisibility jacket if possible.
- Check that the bike’s reflectors are correctly positioned, properly attached, clean and not obscured. Replace damaged reflectors immediately.
- Any shock absorbers on the bike should be serviced at a bike shop. See instructions from shock absorber manufacturer.
By law a bike must always be fitted with brakes and a bell. On public roads it is important to take the following into consideration:
ALWAYS CHECK BEFORE USE
- That the rims are in good condition and undamaged. A worn rim is a safety risk and should be replaced.
- That screw unions and components are properly tightened and not worn or damaged.
- That the seat is comfortably adjusted.
- That the brakes are working properly.
- That the steering does not jam, or has too much play.
- That the wheels are not buckled and that the wheel bearings are correctly adjusted.
- That the wheels are properly attached in the back/front forks.
- That the tyres are in good condition and have the correct tyre pressure.
- That the pedals fit properly in the crank arms.
- That the gears are correctly adjusted.
- That all the reflectors are fitted.
- That all the screw unions are correctly tightened and that the wires are undamaged and correctly drawn along the frame.
- That all the nuts and bolts are properly tightened.
- That the rim/disc brake pads are not worn out.
- That the tyres are not worn or damaged.
- That the lights are working at the front and back.
- That all the reflectors are intact and clean.
- That the brakes are working properly.
ROAD SAFETY
- Always wear a bike helmet.
- Follow local traffic regulations.
- Do not put anything on the bike that can get caught up and obstruct the functions of the bike.
- Do not ride on the same side as oncoming traffic.
- Do not ride alongside another bike.
- Do not give rides on bikes not intended for this.
- Do not swing out into traffic.
- Do not hang anything from the handlebars that makes it difficult to steer, or which could fasten in the front wheel.
- Do not hang onto another vehicle.
- Do not ride too close to a vehicle in front.
- Cycling in the rain or on wet roads:
- The braking power is reduced by water and ice.
- Cycle more slowly in wet weather and brake earlier than in dry weather.
- Follow local regulations when cycling in the dark:
- The bike must have a front lamp with a white light and a back lamp with a red light, in addition to the reflectors already fitted on the bike.
- Wear bright clothes and a highvisibility jacket if possible.
- Check that the bike’s reflectors are correctly positioned, properly attached, clean and not obscured. Replace damaged reflectors immediately.
- Any shock absorbers on the bike should be serviced at a bike shop. See instructions from shock absorber manufacturer.
By law a bike must always be fitted with brakes and a bell. On public roads it is important to take the following into consideration:
- As a road user you are obliged to be familiar with and to follow traffic regulations.
- We recommend that you always wear a helmet when cycling. If you are under 15 and ride a two-wheeled bike you must by law wear a bike helmet.
- Never leave a child on the bike.
SERVICE
Only use identical spare parts when replacing parts that are essential for safety. This will guarantee that the bike remains safe to use. We recommend that you have the bike serviced every six months at a bike shop (more often
if you ride it a lot or put a lot of strain on it). After adjusting, check that all screw unions are correctly tightened and that the wires are undamaged and correctly drawn along the frame.
DESCRIPTION
- Saddle
- Saddle post
- Quick-release lock, saddle post
- Sprocket with chain guard
- Frame
- Handlebar post
- Handlebars
- Bell
- Front reflector
- Brake wire
- Rim brakes
- Front mudguard
- Front wheel
- Spoke reflector
- Front fork
- Pedal
- Pedal arm
- Bike stand
- Chain
- Back wheel
- Back mudguard
- Back reflector
- Carrier rack FIG. 1
ASSEMBLY
Suitable tools for assembly and adjustment.
- Combination spanners, size 74 and 75 mm
- Hex keys, size 5 and 6 mm
- Phillips screwdrivers
- Grease
HANDLEBARS
Make sure the brake wire comes on the right side of the front fork. If the wire is not properly positioned the handlebars or front fork has turned, and must be turned back before fitting the handlebars.
- Grease the hole on the front fork and the expander bolt at the foot of the handlebars.
- Position the handlebars at the required height in the hole on the front fork, but sufficiently deep to be safe.
- Make sure the handlebars are straight and tighten the clamping screw with a 6 mm hex key.
FRONT WHEEL
- Press the front brake together and unhook the brake wire so that the brake separates.
- Hook the front wheel in the front fork, with the tyre in the correct direction of rotation.
- Make sure that the front wheel is centred between the fork legs and tighten the nuts alternately.
- Press the front brake together and refit the brake wire.
SADDLE AND SADDLE POST
Grease the saddle post and insert it into the saddle tube, and then lock to the required height with the quick-release.
IMPORTANT: The marking for the top position on the saddle post should not be seen over the saddle tube.
PEDALS
The pedals are different and are therefore marked with “L” (Left) and “R” (Right). If they are fitted on the wrong side or screwed in skew in the crank arms this can damage the threads. Grease the threads on the pedals before fitting.
Fitting the right-hand pedal (R)
Screw in the pedal clockwise on the chain side of the crank arm and tighten with a 75 mm combination spanner.
Fitting the left-hand pedal (L)
Screw in the pedal anticlockwise, on the opposite side of the chain, and tighten with a 15 mm combination spanner.
USE






SITTING POSITION
It is important that the bike is correctly adjusted, so that it is both comfortable and safe.
Adjusting the saddle
Height
Open quick-release on the saddle tube, move the saddle post to the required height, and close the quick-release.
IMPORTANT:
The marking for the top position on the saddle post should not be seen over the saddle tube.
Position over the pedals
Put the sole of one foot on the pedal with the crank arms horizontal. Undo the nut holding the saddle to the saddle post. Adjust the position of the saddle forwards or backwards until the pedal is directly under the knee. Very small adjustments to the position of the saddle can affect both performance and comfort. Move the saddle a bit at a time to find the best position. The saddle can also be angled to the required position. A horizontal saddle is often recommended.
BRAKES
The bike has a hub brake at the back, which is engaged by pedalling backwards, and a rim brake at the front for which there is a brake handle on the left side of the handlebars.
WARNING! Do not ride the bike if the brakes are not working properly.
Safe braking
Brake a bit sooner with the back brake than with the front brake and never brake with the front brake when turning or on loose or slippery surfaces.
MAINTENANCE
GENERAL
Clean the bike regularly for best lifespan and functionality. Use a mild detergent and avoid degreasing agents that can penetrate the bearings and chain and interfere with the lubrication. Store the bike in a dry place, protected from direct sunlight.
CHAIN
Lubrication
The chain should be lubricated at regular intervals. A dry chain wears more quickly, is heavy going, and can rust.
- Lubricate the chain with a suitable chain oil.
- Pedal a few turns so that the oil gets into the links.
- Wipe the chain.
Adjusting
An incorrectly tensioned chain can be dangerous. If the chain can be moved more than 1 cm up or down it must be tensioned. The chain must not be overtensioned, there should be a little play.
- Open the quick-release on the back wheel and pull back the wheel to stretch the chain.
- Make sure the wheel is straight, then close the quick-release.
- Check that the chain in correctly tensioned and that the wheel is firmly in place.
BRAKES (FRONT}
Adjusting the brake handle
Full braking power should be achieved when the handle is pressed in halfway. The brake must not press against the rim when the handle is not pressed. It should not be possible to press the handle all the way to the handlebars. Increase or reduce the play by turning the adjusting sleeve on the brake handle. If a larger adjustment is needed, release the wire lock on the brake arm, move the wire to the required position and firmly tighten.
Adjusting the spring tension
The spring tension counteracts the brake touching the rim when the brake handle is released. Turn the adjusting screws on each side with a suitable Phillips screwdriver until the arms move in parallel.
Adjusting the brake pads
It is important that the brake pads press against the middle of the rim and do not touch the tyre or go below the bottom edge. Undo the hex screw that holds the brake pad and adjust the position of the pad when necessary. Pads that are still not worn out do age and lose their capacity. Replace the pads when necessary.
Repairs
To replace brake pads and brake wires, contact your nearest bike shop.
TYRES AND RIMS
- Regularly check that the spokes are correctly tensioned and that the wheels are not buckled or out of round.
- Check the wear line on the side of the rim that indicates the amount of wear from the brakes. Replace the rim if the wear line can no longer be seen.
- Check the tyre pressures at regular intervals. The recommended tyre pressure is given on the side of the tyre.
- Check at regular intervals that the tyres are not worn or cracked.
- Avoid contact with oil, petrol, paraffin and other agents that dissolve rubber.
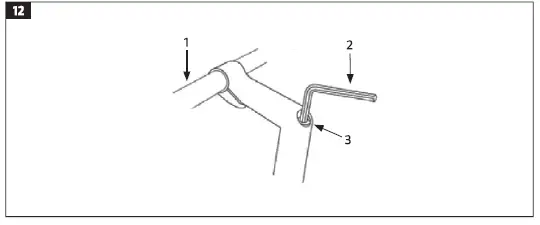
HANDLEBAR POST
- Handlebars
- Hex key, 6 mm
- Clamping screw, handlebar post FIG. 12
Undo the clamping screw and move the handlebar post up or down to a position where you are sitting comfortably and can easily reach the handlebars and brake levers. As a rule the handlebars should be at the same height, or slightly lower, than the saddle. Check that the handlebar post is in line with the front wheel.
IMPORTANT:
There is a marking on the handlebar post to show how much it can extend from the fork tube. This marking should not be seen when the handlebar post is fitted. The handlebar post must be inserted far enough into the fork tube so that the marking cannot be seen. When you have found the right height, position the handlebars at right angles to the front wheel. Firmly tighten the expander screw.





























