SIEMENS 599-10088 Low Profile Ball Valve Bracket Kit Instruction Manual
Product Description
The Low Profile Ball Valve Bracket Kit contains the parts necessary to install an OpenAir™ GDE Series Non-Spring Return Actuator or OpenAir GQD Series Spring Return Actuator to a 1/2- or 3/4-inch 599 Series Two-Way Ball Valve. The actuator is held in place by securing it to the bracket shaft. The bracket shaft is held in place when the bracket is properly screwed to the valve body
Contents
| Part Description | Qty |
| Anti-rotation snap fit | 1 |
| Die-cast shaft | 1 |
| Bracket screws: M4 × 0.7 × 20 mm | 2 |
| Bracket | 1 |
Product Number
599-10088
Required Tools
- No. 2 Phillips screwdriver
- 4 mm hex key for OpenAir GDE Actuator installation
- 3 mm hex key for OpenAir GQD Actuator installation
Expected Installation Time
20 minutes
Installation
Two-Way Non-Spring Return and 2-Way Spring Return, Normally Open (NO) Valve and Actuator Assemblies
Ensure that the ball valve is in the fully open position by doing one of the following:
- Non-Installed Valves. Look into the A (inlet) port to see if it is open. See Figure 1.

- Installed Valves. Check the stem position with respect to the flow arrow imprinted on the valve. See Figure 2.


Assembling the Bracket Assembly to the Normally Open Valve
- Insert the ball valve bracket shaft through the bottom of the bracket. See Figure 3.
- Ensure that the ball valve bracket shaft is seated completely against the bottom of the bracket.
NOTE: For NO valve applications, you must rotate the ball valve bracket shaft to the full (90°) counterclockwise position, looking from the top, prior to assembling to the valve. - While holding the shaft in the appropriate orientation, assemble the bracket to the valve using the two screws provided. See Figure 3.

Assembling the Actuator to the Bracket Assembly
- The GQD Actuator does not ship with any preload, and comes ready to assemble to the valve.
- Before assembling the actuator to the ball valve bracket shaft, ensure that the actuator zero indication on the top of the actuator points to the left. The darker colored side of the GQD Actuator will be facing up.
- Ensure that the anti-rotation bracket is securely snapped into position with the indicator line pointing towards the side of the slot in the bracket marked with the correct actuator designator. See Figure 4.

- Slide the actuator over the ball valve bracket shaft and ensure that it is properly seated on the anti-rotation bracket.
- Tighten the actuator to the shaft by applying 44 to 60 lb-in torque:
a. GDE – use a 4 mm hex key.
b. GQD – use a 3 mm hex key.
The installation is now complete.
Two-Way Spring Return, Normally Closed (NC) Valve and GQD Actuator Assemblies
- For NC valve applications, ensure that the valve is in the fully-closed position by doing one of the following.
- Non-Installed Valves. Look into the A (inlet) port to see if it is closed. See Figure 1.
- Installed valves – Check the stem position with respect to the flow arrow imprinted on the valve. See Figure 2. Rotate the stem 90° from how it is shown in Figure 2 to close the valve.
Assembling the Bracket Assembly to the Normally Closed Valve
- Insert the ball valve bracket shaft through the bottom of the bracket. See Figure 3.
- Ensure that the ball valve bracket shaft is seated completely against the bottom of the bracket.
NOTE: For NC valve applications, you must rotate the ball valve bracket shaft to the full (90°) clockwise position, looking from the top, prior to assembling to the valve. - While holding the shaft in the appropriate orientation, assemble the bracket to the valve using the two screws provided. See Figure 3.
Assembling the Actuator to the Bracket Assembly
- The GQD Actuator does not ship with any preload, and comes ready to assemble to the valve.
- Before assembling the actuator to the ball valve bracket shaft, do the following:
a. Ensure that the anti-rotation bracket is securely snapped into position with the indicator line pointing towards the side of the slot in the bracket marked GQD.
b. Flip the actuator over so that the actuator zero indication points to the right. The lighter colored side of the GQD Actuator will be facing up.
c. Slide the actuator over the ball valve bracket shaft and ensure that it is properly seated on the anti-rotation bracket.
d. Tighten the actuator to the shaft using a 3 mm hex key to apply 44 to 60 lb-in torque.
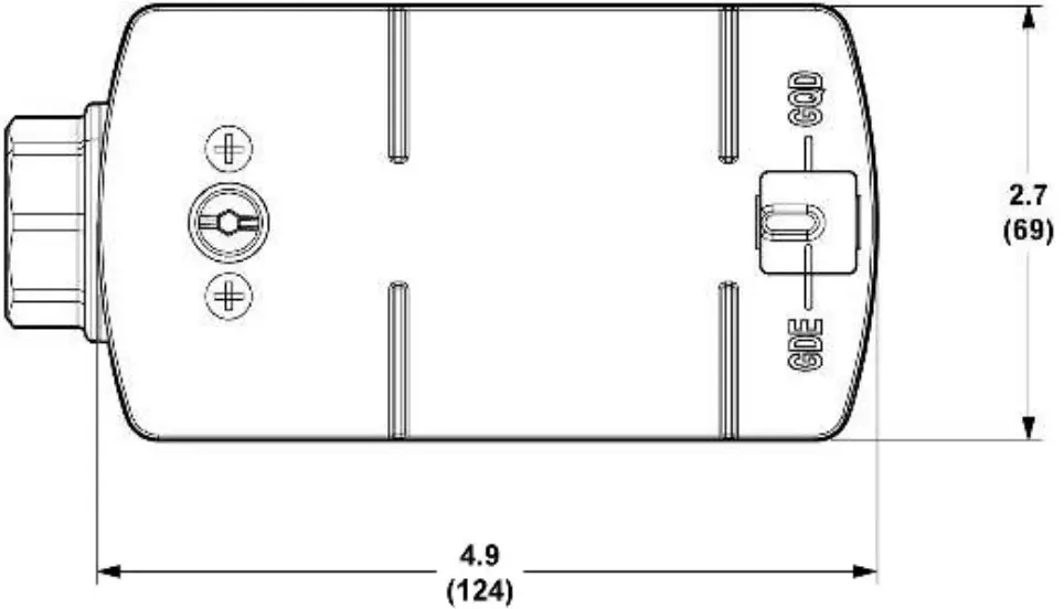
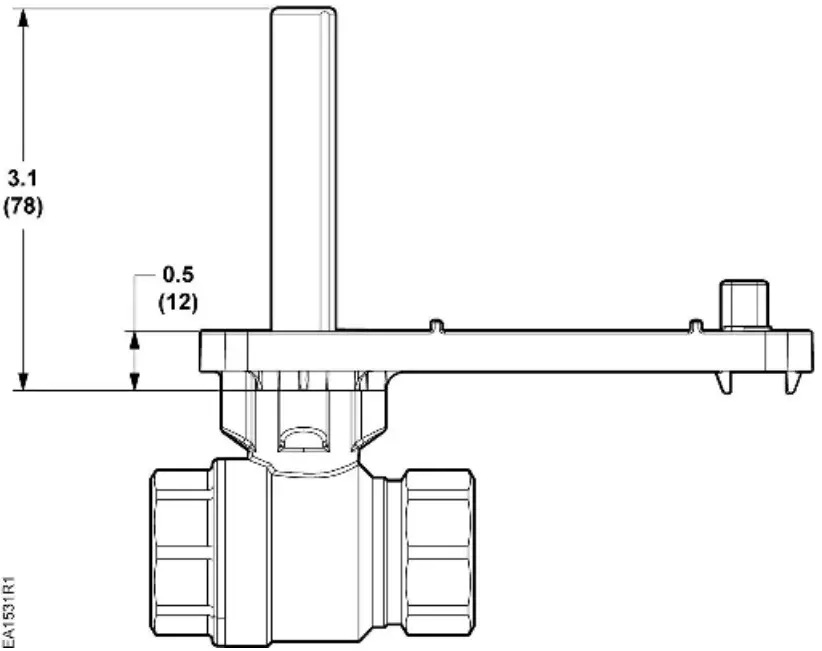
Dimensions


Figure 5. Ball Valve Bracket in Inches (Millimeters).


Figure 6. Two-way Ball Valve and Low Profile Bracket with Actuator Dimensions in Inches (Millimeters).
| Line Size Inches (mm) | Cv Range | ALength | BHeight | C Length Actuator Codes | DWidth | EHeight | Valve and Bracket Weight lbs (kg) | ||
| GDE | GQD | ||||||||
| 171A-D | 173A-D | 171H, J, K, L, N | |||||||
| 1/2 (15) | 0.4 to 10 | 2-7/16 (61) | 2-1/4 (57) | 5-1/4 (133) | 5-3/4 (146) | 5-1/4 (133) | 2-3/4 (70) | 4-13/16 (123) | 1 (0.45) |
| 3/4 (20) | 6.3 to 25 | 2-3/4 (70) | 2-5/8 67) | 5-3/8 (136) | 6 (153) | 5-3/8 (136) | 5-1/4 (133) | 1.3 (0.60) | |
Information in this publication is based on current specifications. The company reserves the right to make changes in specifications and models as design improvements are introduced. OpenAir is a trademark of Siemens hweiz AZ. Other product or company names mentioned herein may be the trademarks of their respective owners. © 2015 Siemens Industry, Inc.
Siemens Industry, Inc.
Building Technologies Division
1000 Deerfield Parkway
Buffalo Grove, IL 60089
+ 1 847-215-1000
Your feedback is important to us. If you have comments about this document, please send them to [email protected]























