
ASHCROFT CXLdp Differential Pressure Transmitter

INSTALLATION
WARNING! READ BEFORE INSTALLATION
GENERAL
A failure resulting in injury or damage may be caused by excessive overpressure, excessive vibration or pressure pulsation, excessive instrument temperature, corrosion of the pressure containing parts, or other misuse. Consult Ashcroft Inc., Stratford, Connecticut, USA before installing if there are any questions or concerns.
OVERPRESSURE:
Pressure spikes in excess of the rated overpres-sure capability of the transducer may cause irre-versible electrical and/or mechanical damage to the pressure measuring and containing elements.
STATIC ELECTRICAL CHARGES:
Any electrical device may be susceptible to dam-age when exposed to static electrical charges. To avoid damage to the transducer the operator/installer should follow proper ESD (electrostatic discharge) protection procedures before handling the pressure transducer.
DESCRIPTION
The Ashcroft® Model CXLdp is a low differential pressure transmitter to be used on clean, dry, non-corrosive gases. It is available in two accuracy classes and its performance is traceable to the U. S. National Institute of Standards and Technology (NIST). The 8 or 4 located in the third position of the product code distinguishes a 0.8% from a 0.4% ac-curacy transmitter. Both unidirectional (e.g. 0 to +1.0 IW) or bi-directional (e.g. ±2.0 IW) models are available. A green LED located on the front of the transmitter indicates power and operational status. The LED light intensity increases as pressure increases.
SPECIFICATIONS
Accuracy: (2) options, specified at time of order.
- ±0.8% of Span
- (±0.128 mA for 4-20 mA output units)
- (±0.08V for 0-10 Vdc output units)
- ±0.4% of Span
- (±0.064 mA for 4-20 mA units)
- (±0.04V for 0-10 Vdc output units)
Output Signal: Specified at time of order.
- 4-20 mA (For symmetric bidirectional ranges 0IW = 12 mA
- 0-10 Vdc; 0-5 Vdc User selectable option (For symmetric bidirectional ranges 0IW = 5 or 2.5 Vdc respectively).
Supply Voltage:
- 4-20 mA: 12-36 Vdc (no regulation required)(see Figure 1)
- 0-10 Vdc: 14-36 Vdc or 24 Vac (±20%) or 0-5 Vdc (user selectable options): 11.5-36 Vdc or 24 Vac (±20%)
- Supply Current: 6 mA for 10 Vdc output (4.5 mA for 5 Vdc output option)
Figure 1 Load Limitations 4-20 mA Output Loop Resistance (Ω) 
- Vmin = 12V+ [.022A*(RL)]
- *includes a 10% safety factor
- RL = RS + RW
- RL = Loop Resistance (ohms)
- RS = Sense Resistance (ohms)
- RW = Wire Resistance (ohms)
- Loop Supply Voltage (Vdc)
* F.S. pressure is equivalent to the span of the transmitter (16 mA).
Reverse Wiring Protected
Electrical Connection: Euro-style terminal block accepts 12-26 AWG
Operating Temperature: 0-160°F (-18-71°C)
Enclosure: NEMA 1 Fire-retardant ABS Meets UL 94-5VA
Weight: Approx. 2.5 oz.
Pressure Connection Options:
1⁄4˝ Brass Barbs or 1⁄8 NPT Female Brass
Optional: 1⁄2˝ conduit or plenum mounting bracket and cover available as separately ordered kit – part number 101A213-01. (see Figure 2)
INSTALLATION
Mounting:
The transmitter can be mounted on a 35 mm DIN rail or with #8 or #10 screws using the 4 mounting holes provided.
Torque limits on the mounting holes provided is 6 inch-pounds. (see Figure 3)
Electrical Wiring:
- The use of shielded cable is recommended for optimum performance. Connect the shield to the guard terminal on the reading instrument (meter, etc.) if available or to ground.
- Remove the terminal block on the front of the transmitter.
- Available electrical versions are:
- CURRENT 4-20 mA; black terminal block.
- VOLTAGE 0-5 Vdc/0-10 Vdc; green terminal block.
Follow the terminal block label markings on the CXLdp to identify the terminals;- 4-20 mA Ouput: The left, negative (-), and right, positive (+) terminals are used, ignore the center terminal which is not used. Connect the power supply positive lead to the CXLdp
positive terminal, connect the negative power supply lead to the negative terminal of the BCS 4-20 mA input. Last, connect the (-) negative terminal on the CXLdp to the (+) positive BCS input.
0-10 Vdc; 0-5 Vdc Output: Follow label mark-ings for terminal assignments; COM is for Common (supply and output negative), VIN is for supply positive and VOUT is for output sig-nal. The CXLdp Voltage Output unit is supplied as standard with 0-10 V output, to convert to 0-5 V output see following instructions.- 0-10 Vdc Output: Product is supplied as standard with 0-10 V output, see instruction below to access the Voltage Output jumper.
- 0-5 Vdc Output: See below for proper jumper selection. To convert the unit from a 0-10 V output to a 0-5 V output unit note the following. Access the jumper by simultaneously pushing both housing tabs away from the housing, see drawings under “General Dimensions” for details. Change jumper (orange or red) into position as shown below, carefully reattach housing cover. When finished mark check box on front label indicating that the unit now provides a 0 – 5 Vdc output.
- 4-20 mA Ouput: The left, negative (-), and right, positive (+) terminals are used, ignore the center terminal which is not used. Connect the power supply positive lead to the CXLdp
- Firmly reinstall the terminal block plug to its mating connector.

Set Up:
Note: For best immunity from EMI the pressure connection fittings on the CXLdp should not be grounded.
The transmitters are calibrated at the factory in the vertical position. Mounting in the horizontal position can cause a zero shift of as much as ±1% F.S. in ranges below 1 IW dp. Any minor zero offset can be minimized using the zero adjust potentiometer located on the front, left side of the instrument.
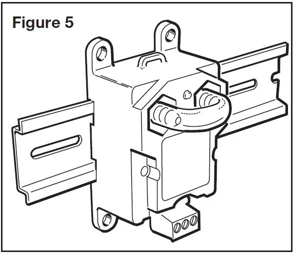
To find true zero differential pressure, pneumatically connect the high and low pressure connections together using the tubing provided with the transmitter. The barbed connection accept 1⁄4˝ O.D. 1⁄8˝ I.D. tubing. (see Figure 5)
When 1⁄8 NPT female brass fittings are used, do not exceed 60 inch-pound torque force on female NPT fitting.
When connecting to the NPT fittings, do not apply torque to the CXLdp fitting. Use a 9⁄16˝ wrench to hold the CXLdp. (see Figure 6)
Zero potentiometer adjustment requires using a 3⁄32˝ or 2.5mm slotted or Philips screwdriver.
The tubing should remain in place until the transmitter is to be connected to the BCS tubing system. (see Figure 7)
Zero and Span Potentiometers
Routine Maintenance
The CXLdp is a very stable and reliable transmitter incorporating a proven, micro-machined silicon capacitive sensor and a new, state-of-the-art application specific integrated circuit (ASIC).
All calibration and temperature compensation functions are done with a microprocessor and digital routines.
To troubleshoot or verify performance, it is recommended to pneumatically connect the pressure ports to each other and establish a zero offset reading in the as-installed position. Adjusting zero will not affect span calibration.
Adjusting span should only be attempted when a high accuracy pressure standard and high quality electrical meter are able to be used.
DIN Rail Transmitter Removal:
In order to remove the transmitter when it is installed on a DIN rail, it is necessary to first unplug the wiring terminal block from the transmitter.
Insert a small slot-ted screwdriver into the black plastic clip extending slightly below the transmitter case. (see Figure 8)
Next, raise the screwdriver handle up thereby forcing the spring clip down.
If questions or concerns need to be addressed, our Low Pressure Product Manager or Engineering Personnel can be contacted at (203) 378-8281 or visit our website at www.ashcroft.com.
GENERAL DIMENSIONS FOR MODEL CXLdp (in inches)


© 2020 Ashcroft Inc. 250 East Main Street 06614, Tel: 203-378-8281 • Fax: 203-378-0499, all specifications are subject to change without notice. All sales subject to standard terms and conditions. www.ashcroft.com All rights reserved. (cxldp-a _transducer _i&m _(011-10130)_RevD_08-27-20
positive terminal, connect the negative power supply lead to the negative terminal of the BCS 4-20 mA input. Last, connect the (-) negative terminal on the CXLdp to the (+) positive BCS input.
0-10 Vdc; 0-5 Vdc Output: Follow label mark-ings for terminal assignments; COM is for Common (supply and output negative), VIN is for supply positive and VOUT is for output sig-nal. The CXLdp Voltage Output unit is supplied as standard with 0-10 V output, to convert to 0-5 V output see following instructions.


















