Anolis Divine 72 LED Lighting

INSTALLATION INSTRUCTIONS
STEP 1 CABLE GLAND
Inlets for power and data from bottom side of the luminaire.
Inlets for power and data from side of the luminaire.
STEP 2 UNCOVER JUNCTION BOX
Uncover junction box located on the bottom side of luminaire.
STEP 3 CONNECTION

| Power Connection | 9mm |
| Data Connection | 7mm |
Connection – colour coding
To connect the Divine 72 to mains and a DMX controller, use a 5-cored cable Flamar Li9YC11Y. The 3 colors serve for the power supply and 2 shielded cores are intended for DMX connection.
Power and Data Connection
| WIRE | POWER CONNECTION | WIRE | DATA CONNECTION |
| Brown | L | White | Data – (D-) |
| Blue | N | Red | Data + (D+) |
| Yellow/Green | Ground | Shielding | Data Ground (0V) |


Set control menu inside junction box.
Set control menu.
STEP 5 CLOSE JUNCTION BOX
Before applying the torque, make sure the thread is clean and functional.
STEP 6 CABLE GLAND INSTALLATION
Use wrench size 24 for cable gland M20x1.5
Use wrench size 16 for cable gland M12x1.5
Install Cable glands individually!
We recommend to apply an adequate layer of the paste LOCTITE 5331 on the plastic holder of the cable gland before inserting in into the body of the gland and an adequate layer of the paste LOCTITE 577 on the thread of the gland body.
Failure to properly install cable glands will result in failure of the water tight seal!
STEP 7.A INSTALLATION WITH SURFACE MOUNT ADAPTOR
Mount the adaptor using 6 mounting screws.
Drill holes to the surface according to holes spacing. Mount Divine via mounting holes on the surface.
STEP 7.B INSTALLATION WITH SET OF RUBBER FEET
Mount pair of rubber feet using 4 screws.
STEP 7.C INSTALLATION WITH C-CLAMP ADAPTOR
Mount the adaptor using 5 screws.
ACCESSORIES
Optical Demo Set
STEP 8 INSTALLATION OF ACCESSORIES
Unscrew two screws and split accessory to two parts. Place each part onto the luminaire´s head and screw them together.
Secure accessory by 4 screws with spring washer at the back side of luminaire´s head.
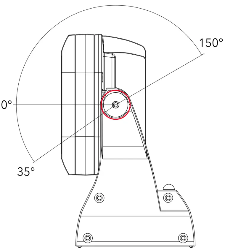
STEP 9 HEAD POSITION ADJUSTMENT
Release locking screw on each sides. Angle fixture to desired position and tighten locking screw on each sides.
Customer Support
E-mail: [email protected] | www.anolislighting.com



















