Divine 60 UV 180 Watt Full LED Luminaire
User Manual
FOR YOUR OWN SAFETY, PLEASE READ THIS USER MANUAL CAREFULLY BEFORE POWERING OR INSTALLING YOUR Divine 60 UV!
Save it for future reference.
This device has left our premises in absolutely perfect condition. In order to maintain this condition and to ensure safe operation, it is absolutely necessary for the user to follow the safety instructions and warnings written in this manual.
The manufacturer will not accept liability for any resulting damages caused by the non-observance of this manual or any unauthorized modification to the device.
Unauthorized modification will void warranty.
This device is for professional use only. It is not for household use.
Safety instructions
THIS LUMINAIRE IS DESIGNED WITH UV LEDS AND MUST BE INSTALLED IN COMPLIANCE WITH COMPETENT TECHNICAL DIRECTIONS TO PREVENT THE USER’S EYE AND BARE SKIN FROM EXPOSURE TO HARMFUL UV RADIATION.
CE LUMINAIRE EST CONCU POUR ETRE UTILISE AVEC DES LED UV ET DOIT ETRE INSTALLE EN STRICTE CONFORMITE AVEC LES INSTRUCTIONS AFIN D’EVITER QUE LES YEUX OU LA PEAU L’UTILISATEUR NE SOIENT EXPOSES AUX EFFETS NEFASTES DES RAYONS UV.
CAUTION
RISK GROUP 3
ATTENTION
RISQUE GROUPE 3
UV light
Do not look directly at light.
Wear proper eye and skin protection.
CAUTION: Radiation exposure may cause blindness and cancer of skin!
| Maximum exposure (beam angle 38°) | ||
| Distance from UV source | Fixture with clear glass | Fixture with black glass |
| 3.5m (11.4ft) | – | 18.2 minutes |
| 4m (13) | – | 23.8 minutes |
| 5m (16.4ft) | 24.7 minutes | 37.2 minutes |
| 6m (19 7ft) | 35.6 minutes | 53.7 minutes |
| 7m (23ft) | 48.4 minutes | 73 minutes |
| 8m (26ft) | 63.3 minutes | 95.4 minutes |
| 9m (29.5ft) | 80.1 minutes | 120.8 minutes |
| 10m (32.8ft) | 98.9 minutes | 149.1 minutes |
Please read extracts from a test report at the end of the user manual.
Risk Group 3 LED product according to ČSN EN 62471.
Do not look at the fixture´s LEDs during operation. The light beam may damage your eyes.
Make sure that the available voltage is not higher than stated on the rear side of the fixture.
This fixture should be operated only from the type of power source indicated on the marking label. If you are not sure of the type of power supplied, consult your authorized distributor or local power company.
Always disconnect the fixture from AC power before servicing or cleaning internally.
Do not overload supply line as this can result in fire or electric shock.
Make sure the power/data cable is never crimped or damaged by sharp edges. Check the fixture and the power/data cable from time to time.
Do not install the unit near an open flame.
Refer servicing to qualified service personnel.
This fixture falls under protection class I. Therefore, this fixture has to be connected to a mains socket outlet with a protective earthing connection.
Do not connect this fixture to a dimmer pack.
Keep combustible materials at least 0.3 m away from the fixture.
If the fixture has been exposed to drastic temperature fluctuation (e.g. after transportation), do not switch it on immediately. The arising condensation of water might damage your device. Leave the device switched off until it has reached room temperature.
Avoid brute force when installing or operating the fixture.
When choosing the installation spot, please make sure that the fixture is not exposed to extreme heat or dust.
Avoid using the unit in locations subject to possible impacts.
Only operate the fixture after having checked that the housing is firmly closed and all screws are tightly fastened.
Do not block the front glass cover with any object when the fixture is under operation.
The fixture body must never be covered with cloth or other materials.
The fixture becomes very hot during operation. Allow the fixture to cool approximately 30 minutes prior to servicing or maintenance.
Operate the fixture only after having familiarized yoursef with its functions. Do not permit operation by persons not qualified to operate the fixture. Most damages are the result of unprofessional operation!
Please consider that unauthorized modifications on the fixture are forbidden due to safety reasons!
Divine 60 UV
Please use the original packaging if the fixture is to be transported.
If this device will be operated in any way different to the one described in this manual, the product may suffer damages and the warranty becomes void. Furthermore, any other operation may lead to dangers like short-circuit, burns, electric shock etc.
Immunity of the equipment is designed for electromagnetic environments E1, E2, E3 according to the standard EN55103-2 ed.2 Electromagnetic compatibility. Product family standard for audio, video, audiovisual and entertainment lighting control apparatus for professional use. Part 2: Immunity.
The product (covers and cables) must not be exposed to a high frequency electromagnetic field higher than 3V/m.
The installation company should check levels of possible interferences above the tested levels E1,E2,E3 given by this standard (e.g. transmitters in surrounding area) before installing the equipment.
Emission of the equipment complies with the standard EN55032 Electromagnetic compatibility of multimedia equipment – Emission Requirements according to class B.
Fixture exterior view

Rear connection shown 
- Head with LED array
- Tilt lock
- Base
- Cable glands or blind flange
- Surface mounting adapter
Note: customer can interchange the cable glands and blind flanges in the fixture base to create a side or rear connection.
Installation
3.1 Connection to the mains
Fixtures must be installed by a qualified worker in accordance with all national and local electrical and construction codes and regulations.
This device falls under class one and must be grounded!
To connect the Divine 60 UV to mains and a DMX controller, use a 5-cored cable Flamar Li9YC11Y. The 3 cores serve for the power supply and 2 shielded cores are intended for DMX connection:
| Core | Connection | Core | Connection |
| Black | Live (L) | Red | Data + (+) |
| White | Neutral (N) | White | Data — (-) |
| Yellow/Green | GND PE | Shielding | Data ground (0) |
- Unscrew the eight screws (2) on the terminal block cover (1) to get access to the terminal block and control display (6) with four control buttons (7).
- Unscrew both cable glands (4) from the terminal block cover (1) and both blind flanges (10) from the fixture base.
- Apply an adequate layer of the paste LOCTITE 5331 on the plastic holder of the cable gland before inserting it into the body of the gland. Apply an adequate layer of the paste LOCTITE 577 on the thread of the gland body. Screw both cable glands (4) back into the terminal block cover (1) – see the picture below.
- Apply an adequate layer of the paste LOCTITE 577 on the thread of the blind flange. Screw both blind flanges (10) back into the fixture base.

- Pass the power/data cable through one cable gland (4) and connect to the terminal block.
- Remove end cap (3) from cable glands before passing cable into the terminal block compartment. The two cable glands serve for cables of diameter of 4-8mm.
To keep declared IP rating, every cable gland has to be covered with an end cap (3) if the cable gland is not used for cable passing.
Note: If you are interchanging cable glands (4) and blind flanges (10), do not forget to apply LOCTITE 5331 and 577 on cable glands and LOCTITE 577 on blind flanges. - After connecting cables and setting the fixture by means of the control display and four buttons, place the cover (1) on the terminal block back, make sure the seal (5) is nserted correctly.
- Screw the terminal block cover (1) with eight screws using a tightening torque of 4 Nm.
- Check that all cable glands and screws and blind flanges are firmly secured.
Rear connection shown
Side connection shown 
Base technical features of the ABB terminal block:
Type: DS 2,5/10.4L (4 springs mini blocks)
| Parameter | IEC | UL/CSA |
| Rated voltage | 800 V | 600 V |
| Rated current | 24 A | 15 A |
| Wire size rated/gauge | 2.5mm2/A2 | 12AWG |
| Wire stripping length | 9.5 mm | |
3.2 Mounting the fixture
The Divine 60 UV can be arranged in any position/orientation without altering its operation characteristics. The LED module can be tilted to desired position by means of the tilt lock. Use an Allen key 6 to adjust desired tilt position.
Screw the surface mounting adapter (11) to the base of the fixture by means of the six screws M8x20 (8).
Four slots (9) in the surface mounting adapter serve for mounting on a non-flammable flat surface via four screws.
Ensure that the structure to which you are attaching the fixture is secure.
Caution: Overhead installation requires experience. Fixtures may cause severe injuries when crashing down! If you have doubts concerning the safety of a possible installation, do not install the device and consult installation with an expert.
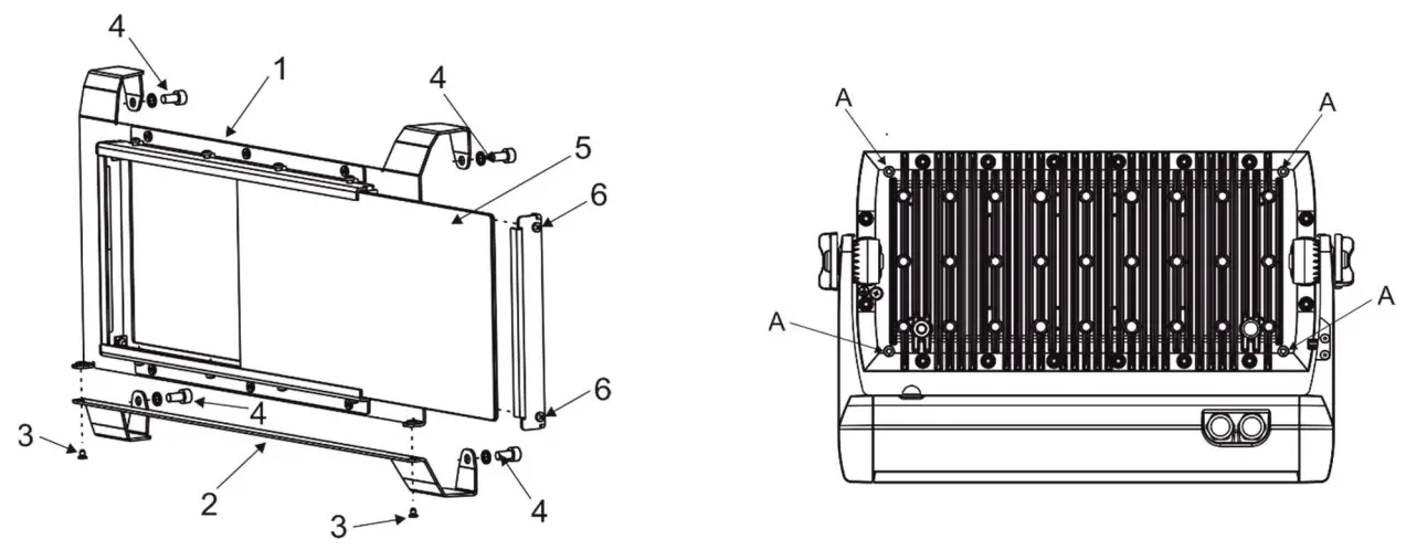
3.3 Adaptor black glass installation
- Unscrew two screws M3x5 (3) to remove the bottom part (2) of the adaptor black glass.
- Place the upper part (1) of the adaptor black glass on the fixture head and secure it by means of two screws M5x10 (4) with spring washers to the two threaded holes (A) on the back side of the fixture head.
- Place the bottom part (2) of the adaptor black glass on the bottom part of the fixture head and screw it back to the upper part (1) of the adaptor black glass by means of two screws M3x5 (3).
- Secure the bottom part of the adaptor black glass to the fixture head by means of two screws M5x10 (4) with spring washers to the two threaded holes (A) on the back side of the fixture head.
- If you want to change the black glass (5), unscrew two screws 6 to remove the black glass.
3.4 Top hat and half top hat installation
- Unscrew screws M3x5 (3) to remove the bottom part (2) of the top hat (half top hat).
- Place the upper part (1) of the top hat (half top hat) on the fixture head and secure it by means of two screws M5x8 (4) with spring washers to the two threaded holes (A) on the back side of the fixture head.
- Place the bottom part (2) of the top hat (half top hat) on the bottom part of the fixture head and screw it back to the upper part (1) of the top hat (half top hat) by means of the screws M3x5 (3).
- Secure the bottom part of the top hat (half top hat) to the fixture head by means of two screws M5x8 (4) with spring washers to the two threaded holes (A) on the back side of the fixture head.
3.5 Barn door and Wire guard/anti-glare installation
- Unscrew screws M3x5 (3) to remove the bottom part (2) of the barn door (wire guard/anti-glare).
- Place the upper part (1) of the barn door (wire guard/anti-glare) on the fixture head and secure it by means of two screws M5x10 (4) with spring washers to the two threaded holes (A) on the back side of the fixture head.
- Place the bottom part (2) of the barn door (wire guard/anti-glare) on the bottom part of the fixture head and screw it back to the upper part (1) of the barn door (wire guard/anti-glare) by means of the screws M3x5 (3).
- Secure the bottom part of the barn door (wire guard/anti-glare) to the fixture head by means of two screws M5x10 (4) with spring washers to the two threaded holes (A) on the back side of the fixture head.
Divine 60 UV – DMX protocol
Version 1.1
| Mode 1 | Mode 2* | Mode 3 | DMX Value | Function | Type of control |
| – | – | 1 | 0 – 255 | Zone 1 Intensity | proportional |
| Intensity from 0% to 100% | |||||
| – | – | 2 | 0 – 255 | Zone 2 Intensity | proportional |
| Intensity from 0% to 100% | |||||
| – | – | 3 | 0 – 255 | Zone 3 Intensity | proportional |
| Intensity from 0% to 100% | |||||
| – | – | 4 | 0 – 255 | Zone 4 Intensity | proportional |
| Intensity from 0% to 100% | |||||
| – | – | 5 | 0 – 255 | Zone 5 Intensity | proportional |
| Intensity from 0% to 100% | |||||
| – | – | 6 | 0 – 255 | Zone 6 Intensity | proportional |
| Intensity from 0% to 100% | |||||
| 1 | 7 | 0-31 32-63 64-95 96-127 128-143 144-159 160-191 192-223 224-255 | Shutter/ Strobe (all zones) | step step proportional step proportional proportional step proportional step | |
| Shutter closed Shutter open Strobe-effect from slow to fast Shutter open Opening pulses in sequences slow–> fast Closing pulses in sequences fast –> slow Shutter open Random strobe-effects from slow to fast Shutter open | |||||
| 1 | 2 | 8 | 0 – 255 | Dimmer (all zones) | proportional |
| Dimmer intensity from 0% to 100% | |||||
| 2 | 3 | 9 | 0 – 255 | Dimmer fine (all zones) | proportional |
| Fine dimmer intensity from min. to max. |
*Default mode
Zones:
The Divine 60 UV is equipped with 4-segment LED display which allows to set the fixture´s behaviour according to your needs, obtain information on its operation, control all range of effects and program it in stand-alone mode.
The four control buttons have the following functions:
– ESCAPE button-leaves menu without saving changes.
– ENTER button- enters menu, confirms adjusted values and leaves menu.
– UP and
– DOWN buttons – move between menu items on the same level, sets values.
After switching the fixture on, display shows current DMX address. 
5.1 Fixture Address

Use this menu to set the DMX address of the fixture.
dM.Ad. — DMX addressing. Select this submenu to set a DMX start address.
To set a DMX address.
- Use UP/DOWN buttons to find “ A001“ menu.
- Press the ENTER button.
- Use the UP/DOWN buttons to select desired start address.
- Press the ENTER button to confirm the choice.
Note: After switching on, the Divine 60 UV will automatically detect whether DMX 512 data is received or not.
If there is no data received at the DMX input, the display will start to flash the set address.
DM.Pr. — DMX preset. Select this menu item to set a desired DMX mode.
5.2 Fixture information
Use this menu to read useful information about the fixture status.
To display desired information.
- Use the UP/DOWN buttons to find the “ InFo“ menu.
- Press the ENTER button.
- Use the UP/DOWN buttons to select the required menu item.
- Press the ENTER button to confirm the choice.
Po.ti. — Power On Time. Use the menu item to read the number of operation hours of the fixture.
totL – the function shows the total number of the operation hours since the Divine 60 UV has been fabricated.
rESEt – the function shows the number of the operation hours since the counter was last reset.
In order to reset this counter to 0, you have to press and hold the UP and DOWN buttons and at the same time press the ENTER button.
VErS. —Software Versions. Select this function to read the software version of the fixture processors.
ICI.b. — display processor 1
IC2.b. — display processor 2
IC3.L. — LED processor 3
IC4.L. — LED processor 4
ViFi — Wireless DMX module (if installed)
tEMP — Fixture Temperatures. Select this menu to read the temperatures of the fixture:
bASE
Cur.t. — the current temperature of the fixture base.
Hi.tE. — the menu item shows the max. temperatures of the fixture base since the fixture has been fabricated.
rSEt — the menu item shows the maximum temperatures of the fixture base since the counter was last reset. In order to reset this counter to 0 you have to press and hold the UP and DOWN buttons and at the same time press the ENTER button.
LEdS
Cur.t. — the current temperature of the fixture LEDs PCB.
Hi.tE. — the menu item shows the max. temperatures of the LEDs PCB base since the fixture has been fabricated.
rSEt — the menu item shows the maximum temperatures of the LEDs PCB since the counter was last reset. In order to reset this counter to 0 you have to press and hold the UP and DOWN buttons and at the same time press the ENTER button.
The temperatures can be displayed in either °C or °F units – see option “tnP.u.“ in the menu “Pers“.
DM.In.—DMX values. Select this function to read DMX values of each channel received by the fixture.
5.3 Personality
Use this menu to modify the Divine 60 UV operating behaviour.
DM.Pr. — DMX preset. Select this menu item to set a desired DMX mode. Please refer to the chapter “DMX protocol” for detail description of each DMX mode.
dM.In. — DMX input. Select this menu item to select desired DMX input:
UirE — Wired DMX.
UirL — Wireless DMX
UrLo — Wireless DMX –> wired DMX. The fixture receives wireless DMX signal and sends it to its DMX output connector. Next fixtures can be connected to this fixture by DMX cable (fixture works as a Wireless-DMX converter.
AnL.d. — Analog dimmer. If this option is selected, the dimmer channel can be controlled via DC voltage (0-10V) connected between pins 1 (data ground) and 3 (Data +) of DMX input of the fixture (0-data ground, 10V-data +).
Procedure of setting:
- Set fixture´s channels at desired values (by means of menu item Init Positions “In.Po”).
- Disconnect DMX controller
- Select option “AnL.d.” from menu DMX input
- Connect DC voltage to the DMX input of the fixture
F.tin. — Max. Fade time. Select this menu item to set a desired max. fade time (0-25.4 sec.). This adjusted fade time influences fade of Red, Green, Blue,White and dimmer during DMX operation:
If time between two receiving DMX values is > than fade time set in the item “F.tin. “, the entire adjusted fade time will be used.
If time between two receiving DMX values is < than fade time set in the item“F.tin. “, the adjusted fade time will be reduced to fill entire time between the two receiving DMX values.
e.g “F.tin.“=2sec. and fixture has received from DMX controller value Red=0 DMX, after 5 seconds will receive Red=255 DMX. It means, that red will go to full intensity during 2 seconds.
“F.tin. “=8 sec. and fixture has received Red=0 DMX, after 5 seconds will receive Red=255 DMX. It means, that red will go to full intensity during 5 seconds. (Max, fade time is reduced from 8 sec. to 5 sec.).
DiSP. — Display adjusting. This function allows you to change the display settings.
d.On — this function allows you to keep the display on or to turn off automatically 2 minutes after last pressing any button on the control panel.
d.Int. — select this function to adjust the display intensity (6-min.,100-max.).
turn — select this function to used to rotate menu 180 degrees from current orientation.
diM.C. — Dimmer curve. The menu item allows to select desired dimmer curve:
Lin. — linear
SqL — Square law
tnP.u. — Temperature unit. Use this menu in order to display the fixture temperatures in desired units: °C or °F.
In.Po. — Init effect positions. Use this function to set all effects to the desired positions to which they will move after switching the fixture on (if DMX is not receiving).
dF.SE. — Default Settings .The menu item sets all fixture parameters to the default (factory) values.
5.4 Manual mode
Use this menu to control all channels via buttons of the control board.
Items in this menu depend on selected DMX mode.
To control fixture channels.
- Use the UP/DOWN buttons to find “ Man.C“ menu.
- Press the ENTER button.
- Use the UP/DOWN buttons to select desired effect (channel).
List of control channels:
“CoL.1” – a zone 1 LEDs saturation
“CoL.2” – a zone 2 LEDs saturation
“CoL.3” – a zone 3 LEDs saturation
“CoL.4” – a zone 4 LEDs saturation
“CoL.5” – a zone 5 LEDs saturation
“CoL.6” – a zone 6 LEDs saturation
“Stro.“ – a strobe/shutter
“dinr“ – a coarse dimmer
“din.F” a fine dimmer - Press the ENTER button and use the UP/DOWN buttons to set value , press the ENTER button to confirm it.
5. 5 Test sequences
Use this menu to run demo-test sequences without an external controller, which will show you some possibilities of using the Divine 60 UV.
5.6 Stand-alone setting
The fixtures on a data link are not connected to the controller but can execute pre-set programs which can be different for every fixture. “Stand-alone operation” can be applied to the single fixture or to multiple fixtures operating synchronously.
Auto. — Automatic playback. This function allows you to select the program which will be played after switching the fixture on. Selected program will be played continuously in a loop.
- Use the UP/DOWN buttons to select test program (“tESt”), user program (“u.PrG”) or disable this function (OFF).
- Press the ENTER button to confirm the choice.
PLAY — Playing program. Entering this menu provides a complete overview of all programs offered, from which the selected program can run.
- Use the UP/DOWN buttons to select desired program.
- Press the ENTER button. The selected program runs in a loop.
Edit — Editing a program. The fixture offers a freely editable program up to 40 steps. Every program step includes a step time-the total time occupied by the step in the program and a fade time- during which effects move to new positions.
- Use the UP/DOWN buttons to select a desired program step (“St.01” – “St.40”) and press ENTER button.
- Use the UP/DOWN buttons to select a channel you want to edit and press the ENTER button.
List of editable items:
“P.End” – a total number of the program steps (value 1-40). This value should be set before start of
programming (e.g. if you want to create aprogram with 10 steps, set P.End=10).
“CoL.1” – a zone 1 LEDs saturation
“CoL.2” – a zone 2 LEDs saturation
“CoL.3” – a zone 3 LEDs saturation
“CoL.4” – a zone 4 LEDs saturation
“CoL.5” – a zone 5 LEDs saturation
“CoL.6” – a zone 6 LEDs saturation
“Stro.“ – a strobe/shutter
“dinr“ – a coarse dimmer
“din.F” a fine dimmer
“F.tin” a fade time
“S.tin” a step time
“COPY“. – this item duplicates the current prog. step to the next prog. step.
Note: Items in this menu depend on selected DMX mode. - Use the UP/DOWN buttons to set a DMX value of the channel and then press the ENTER button.
- Use the UP/DOWN buttons to select next channel and press the ENTER button.
- After having set all channels in the current program step, press the ESCAPE button to go one menu level back and select another program step.
5.7 Special functions
rdM.L — Code.This menu item shows the first part of the RDM identification code.
rdM.H — Code. This menu item shows the second part of the RDM identification code.
ViFi — Wireless DMX. The menu serves for reading of the wireless operation status (only for Wireless DMX version).
50 — Wireless DMX signal intensity. The menu item shows level of received signal in %. If the fixture is not linked to the transmitter, “niSS” is displayed.
UnLI — Wireless DMX unlink. The item serves for unlinking the fixture from transmitter.
uPd.M. — Updating mode. The menu item allows you to update software in the fixture via either serial or USB port of PC.
The following are required in order to update software:
– PC running Windows or Linux or macOS
– DSU file
– Flash cable RS232/DMX P/N13050624 (if you want to use a serial port of PC)
– Robe Universal Interface or Robe Universal interface WTX (if you want to use an USB port of PC)
After the software updating the fixture will be set to default (factory) values.
To update software in the fixture:
- DSU file is available from Robe web site at https://www.robe.cz/architectural/download/#software-updates
File with extension zip is intended for Windows (used and tested from XP to W10 on 32/64bit systems).
File with extension tbz is intended for Linux (used and tested on Debian and Ubuntu 32/64bit).
File with extension dmg is intended for macOS (used and tested on OSX up to Sierra) XQuartz required, install it from https://www.xquartz.org/
Save the download file to a folder on your computer.
In case that you use windows, extract files in the zip file (e.g. DSU_Divine60UV_19013038.zip) - Disconnect the fixture from DMX controller.
- If you use the flash cable RS232/DMX, connect a serial port of your computer with DMX input of the fixture by means of the cable.
If you use the Robe Universal Interface, connect a USB port of your computer with the Robe Universal Interface by means of the USB cable and DMX input of the fixture with the DMX output of the Robe Universal Interface via a DMX cable. - Switch the fixture to the update mode (SPEC –> uPd.M. –>yES).
Note: If you do not want to continue in the software update, you have to switch off and on the fixture to escape from the updating mode.
We recommend to cancel all running programs on your computer before starting the software update. - Double-click the software uploader file (e.g. DSU_Divine60UV_19013038.exe) in the extracted files. The Software Uploader program will start running.
- Select correct “COM ” number if you use a Flash cable RS232/DMX or select “Robe Universal Interface ” if you use the Robe Universal Interface/Robe Universal Interface WTX and then click on the “Connect” button.
- If the connection is OK, click the “Start Uploading” button to start software uploading. It will take several minutes to perform software update.
If the option “Incremental Update” is not checked, all processors will be updated (including processors with the same software version).
If you wish to update only processors with not topical versions of software, check the “Incremental Update box“.
Avoid interrupting the process. Update status is being displayed in the “Info Box” window.
When the update is finished, the line with the text “Fixture is successfully updated“ will appear in this window.
In case upload process is interrupted (e.g. power loss), the fixture stays in “Updating mode” and you will have to repeat the software update again.
Another way, how to update software in the fixtures (especially large installation of fixtures) is to use the ROBE
Uploader. It is a software for automatized software update of ROBE fixtures.
For more information please see https://www.robe.cz/robe-uploader/.
Technical specifications
Power supply
- Electronic auto-ranging
- Input voltage (EU): 100 – 240V AC, 50-60 Hz
- Input voltage (US): 100 – 277V AC, 50-60 Hz
- Max. power consumption: 180W
- Inrush current: 30A (at 230V), 20A (at 115V)
Optic & Effects
- Light source: 60 x UV LED (365nm wave length)
- Beam angle: 38°
- 6 LED zones
- Adjustable strobe sequences
- Typical Lumen maintenance: 70% @ 16.000 hours
Control
- Setting & Addressing: 4-segment LED display & 4 control buttons
- Control: USITT DMX 512 (RDM support)
- DMX protocol modes: 3 (2,3,9 control channels)
- Operations modes: DMX, Stand-alone
- Manual control of all effects via control panel
- One editable program, up to 40 steps
Wireless DMX/RDM module (only for wireless DMX version of the Divine 60 UV)
- Compliance with USITT DMX-512 (1986 & 1990) and 512-A
- Full DMX fidelity and frame integrity
- Auto sensing of DMX frame rate and frame size
- <5ms DMX latency
- Operational frequency range of 2402-2480 MHz
- Producer: LumenRadio
Strobe
- Strobe effect with variable speed (max. 20 flashes per second)
- Pre-programmed random strobe pulse-effects
Dimmer
- Smooth 16-bit dimming from 0 – 100 %
Connection
- ABB terminal block,type: DS 2,5/10.4L (4 springs mini blocks)
- Recommended data/power cable: Flamar Li9YC11Y cable 3xAWG16+1x(2xAWG24 shielded and jacketed) UL Style 20233 O.D. 8.4mm, (P/N 13051508)
Mounting
- Via surface mounting adapter
Protection factor
- EU: IP 67
- US: Suitable for wet location
Temperatures
- Operating Ambient Temperature: -20°C / +40°C (-4°F / +104°F )
- Operating Temperature: +70°C @ Ambient +40°C (+158°F @ Ambient +104°F )
Minimum distance
- Min. distance from flammable material: 0.3 m
Total heat dissipation
- 680 BTU/h (calculated)
Weight
- 14.5 kg
Dimensions (with surface mount adaptor) mm [inch]

Included items
- 1 x Divine 60 UV
- 1 x Surface mount adaptor (P/N 11015860)
- 1 x User manual
OptionaI accessories
- Set of rubber feet silver (P/N 10980371)
- Adaptor black glass for Divine UV silver (P/N10980344)
- Adaptor black glass for Divine UV black (P/N10980335)
- Top Hat Strobe IP black (P/N 10980354)
- Top Hat Divine 60 UV silver (P/N 10980360)
- Half Top Hat Strobe IP black (P/N 10980355)
- Half Top Hat Divine 60 UV silver (P/N 10980361)
- Wire Guard/Anti-Glare Divine 160 silver (P/N 10980362)
- Barndoor Module Divine 60 UV silver (10980389)
- Barn Door Module for Strobe IP, Divine 60 black (P/N 10980356)
- C-Clamp Adaptor Divine silver (P/N 10980363) – Side connection only
- C-Clamp Adaptor Strobe IP/Divine, black (P/N 10980324) – Side connection only
Cleaning and maintenance
DANGER !
Disconnect from the mains before starting any cleaning or maintenance work
Rinse off loose dirt with low pressure water spray. Wash the housing with a soft brush or sponge and a mild, nonabrasive washing detergent. Rinse it. Maintenance and service operations are only to be carried out by a qualified person. Should you need any spare parts, please use ROBE OEM parts.
7.1 Replacing a fuse
This replacement has to be done by a qualified person or Robe service worker only.
7.2 Disposing of the product
To preserve the environment please dispose or recycle this product at the end of its life according to the local regulations and codes.
8. Extract from a test report from independent light laboratory, University Of Technology , Brno
8.1 Measurement results for all LEDs with clear glass (max. power), beam angle 38°
Evaluted according: ČSN EN 62471, ČSN EN 62471-5, IEC TR 62778, ANSI/IESNA RP -27.3-07
| Risk | Measured values | Result (Group of Risk) |
| Ultraviolet hazard (200 to 400 nm) Es [W.m-2j | 0,1032 | High Risk Group |
| Ultraviolet hazard (315 to 400 nm) EUVA P•M 21 | 1154,3 | High Risk Group |
| Retinal blue light hazard (300 to 700 nm) LB [W.M-2.S1 | 85,1 | Exempt Risk Group |
| Retinal thermal hazard (380 to 1400 nm) LR [W.M-2.Srl] | 279,6 | Exempt Risk Group |
| Cornea/Lens Infrared hazard (780 to 3000 nm) LIR [W.M-2.S(11 | 0 | Exempt Risk Group |
Fixture at a distance, which produces illuminance of 500 lx. Results for Divine 60 UV are in bold frame
| Risk | Exempt Risk Group | Low Risk (Group 1) | Mod Risk (Group 2) | High Risk (Group 3) |
| Ultraviolet hazard | Not required | NOTICE: UV emitted from this source. | CAUTION: UV emitted from this source. | WARNING: UV emitted from this source. |
| 200 nm to 400 nm | – | Minimize exposure to eyes or skin. Use appropriate shielding. | Eye or skin irritation may result exposure. Use appropriate shielding. | Avoid eye and skin exposure to unshield source. |
| Ultraviolet hazard (UVA) | Not required | NOTICE: UVA emitted from this source. | CAUTION: UVA emitted from this source. | WARNING: UVA emitted from this source. |
| 315 nm to 400 nm | – | Minimize exposure to eyes or skin. Use appropriate shielding | Eye or skin irritation may result exposure. Use appropriate shielding. | Avoid eye and skin exposure to unshield source. |
| Retinal blue light hazard | Not required | Not required | Possibly hazardous optical radiation from this source | Possibly hazardous optical radiation from this source |
| 300 nm to 700 nm | – | – | Do not stare at operating lamp. May be harmful to the eyes. | Do not look at operating lamp. Eye injury may result. |
| Retinal thermal hazard | Not required | Not required | NOTICE: Possibly hazardous optical radiation from this source hazardous optical | NOTICE: Possibly radiation from this source |
| 380 nm to 1400 nm | – | Do not stare at operating lamp. May be harmful to the eye. | Do not look at operating lamp. Eye injury may result. | |
| Cornea/Lens Infrared hazard | Not required | NOTICE: IR emitted from this source | NOTICE: IR emitted from this source | NOTICE: IR emitted from this source |
| 780 nm to 3000 nm | – | Use appropriate shielding or eye protection | Avoid eye exposure. Use appropriate shielding or eye protection | Avoid eye exposure. Use appropriate shielding or eye protection |
Key to identify the hazards in the evolution tables

If the cell has transparent background and the text is written in italics, the value is not used to evaluate risk.
All LEDs on (max. power)
Calculated values of illuminance (E) with uncertainty of measurement (k=2) 0,94%, actinic ultraviolet irradiance (Es) with uncertainty of measurement (k=2) 1,29%, ultraviolet irradiance (EUVA) with uncertainty of measurement (k=2) 1,27%, depending on distance (I) with uncertainty of measurement (k=2) 0,47%.
*Measured values. From these values are calculated other values.
**Calculated values for illuminance of detector E=500lx. These values are decisive for determining of hazard group.
Explanatory notes to items stated in the table above:
Column I gives a from UV source distance in meters.
Column E gives Illuminance in lx.
Column Es gives UV irradiance in W.m-2.
Column tmax UV gives maximum exposure time in seconds for UV radiation.
Column EUVA gives UVA irradiance in W.m-2
Column tmax UVA gives maximum exposure time in seconds for UVA radiation.
E.g. for distance of 5m, the maximum exposure time to UVA radiation is 1484.28 seconds (24.7 minutes).
For simplification, the table below converts seconds from the column tmax UVA to minutes at corresponding distance.
| Maximum exposure (beam angle 38°) | |
| Distance from UV source | Fixture with clear glass |
| 3.5m (11.4ft) | – |
| 4m (13) | – |
| 5m (16.4ft) | 24.7 minutes |
| 6m (19.7ft) | 35.6 minutes |
| 7m (23ft) | 48.4 minutes |
| 8m (26ft) | 63.3 minutes |
| 9m (29.5ft) | 80.1 minutes |
| 10m (32.8ft) | 98.9 minutes |
8.2 Measurement results for all LEDs with black glass (max. power), beam angle 38°
Evaluted according: ČSN EN 62471, ČSN EN 62471-5, IEC TR 62778, ANSI/IESNA RP -27.3-07
| Risk | Measured values | Result (Group of Risk) |
| Ultraviolet hazard (200 to 400 nm) Es [W.m-2] | 0,12342 | High Risk Group |
| Ultraviolet hazard (315 to 400 nm) EuVA [W•M2] | 1354,2 | High Risk Group |
| Retinal blue light hazard (300 to 700 nm) LB [W.m-2.sr-1] | 47,9 | Exempt Risk Group |
| Retinal thermal hazard (380 to 1400 nm) -1 LR [W.m -2 .sr ] | 87,1 | Exempt Risk Group |
| Cornea/Lens Infrared hazard (780 to 3000 nm) LiR [W.m-2.srl | 0 | Exempt Risk Group |
Fixture at a distance, which produces illuminance of 500 lx. Results for Divine 60 UV are in bold frame
| Risk | Exempt Risk Group | Low Risk (Group 1) | Mod Risk (Group 2) | High Risk (Group 3) |
| Ultraviolet hazard | Not required | NOTICE: UV emitted from this source. | CAUTION: UV emitted from this source. | WARNING: UV emitted from this source. |
| 200 nm to 400 nm | Minimize exposure to eyes or skin. Use appropriate shielding. | Eye or skin irritation may result exposure. Use appropriate shielding. | Avoid eye and skin exposure to unshield source. | |
| Ultraviolet hazard (UVA) | Not required | NOTICE: UVA emitted from this source. | CAUTION: UVA emitted from this source. | WARNING: UVA emitted from this source. |
| 315 nm to 400 nm | – | Minimize exposure to eyes or skin. Use appropriate shielding. | Eye or skin irritation may result exposure. Use appropriate shielding. | Avoid eye and skin exposure to unshield source. |
| Retinal blue light hazard | Not required | Not required | Possibly hazardous optical radiation from this source | Possibly hazardous optical radiation from this source |
| 300 nm to 700 nm | – | – | Do not stare at operating lamp. May be harmful to the eyes. | Do not look at operating lamp. Eye injury may result. |
| Retinal thermal hazard | Not required | Not required | NOTICE: Possibly hazardous optical radiation from this source hazardous optical | NOTICE: Possibly radiation from this source |
| 380 nm to 1400 nm | – | Do not stare at operating lamp. May be harmful to the eye. | Do not look at operating lamp. Eye injury may result. | |
| Cornea/Lens Infrared hazard | Not required | NOTICE: IR emitted from this source | NOTICE: IR emitted from this source | NOTICE: IR emitted from this source |
| 780 nm to 3000 nm | – | Use appropriate shielding or eye protection | Avoid eye exposure. Use appropriate shielding or eye protection | Avoid eye exposure. Use appropriate shielding or eye protection |
Key to identify the hazards in the evolution tables 
If the cell has transparent background and the text is written in italics, the value is not used to evaluate risk.
All LEDs on (max. power)
Calculated values of illuminance (E) with uncertainty of measurement (k=2) 0,94%, actinic ultraviolet irradiance (Es) with uncertainty of measurement (k=2) 1,29%, ultraviolet irradiance (EUVA) with uncertainty of measurement (k=2) 1,28%, depending on distance (I) with uncertainty of measurement (k=2) 0,47%.
*Measured values. From these values are calculated other values.
**Calculated values for illuminance of detector E=500lx. These values are decisive for determining of hazard group.
Explanatory notes to items stated in the table above:
Column I gives a from UV source distance in meters.
Column E gives Illuminance in lx.
Column Es gives UV irradiance in W.m.
Column tmax UV gives maximum exposure time in seconds for UV radiation.
Column EUVA gives UVA irradiance in W.m
Column tmax UVA gives maximum exposure time in seconds for UVA radiation.
E.g. for distance of 3.5m, the maximum exposure time for UVA radiation is 1096.41 seconds (18.2 minutes).
For simplification, the table below converts seconds from the column tmax UVA to minutes at corresponding distance.
| Maximum exposure (beam angle 38°) | |
| Distance from UV source | Fixture with black glass |
| 3.5m (11.4ft) | 18.2 minutes |
| 4m (13) | 23.8 minutes |
| 5m (16.4ft) | 37.2 minutes |
| 6m (19.7ft) | 53.7 minutes |
| 7m (23ft) | 73 minutes |
| 8m (26ft) | 95.4 minutes |
| 9m (29.5ft) | 120.8 minutes |
| 10m (32.8ft) | 149.1 minutes |
Specifications are subject to change without notice
November 1, 2021
Copyright © 2017-2021 Robe Lighting – All rights reserved
Made in CZECH REPUBLIC by ROBE LIGHTING s.r.o. Palackeho 416/20 CZ 75701 Valasske Mezirici





















