GE current GEH6060 Evolve EWLS Outdoor Lighting Wall Mount

Product Information
The LED Wallpack (EWLS) is a lighting fixture designed for outdoor use. It comes with a motion sensor and is a part of the EvolveTM EWLS series. The product has knockouts for water-tight conduit connections and requires suitable user-supplied wall anchors and anchor fasteners for installation. The product dimensions are 3.25 inches (82mm) in length and width. The product is designed to be mounted on a wall surface using user-supplied anchors and comes with installation instructions. The product has a warning label that indicates the risk of electric shock, injury, or damage if not installed or used properly. The product manual also provides information on checking for damage and selecting suitable wall anchors and anchor fasteners for installation.
Product Usage Instructions
- Disconnect power before service installation or maintenance of the product.
- Check for damage before installation.
- Apply gaskets and caulk the upper edge and sides on rough surfaces.
- Attach the product to the wall surface using user-supplied anchors and anchor fasteners of recommended diameter. Ensure a minimum per-anchor pull-out-strength of 10 times (10X) the fixture weight and install per the manufacturer’s instructions.
- Verify supply voltage and wire insulation temperature rating match nameplate requirements.
- Reinstall battery and test button, motion sensor, or button photocontrol if previously removed.
- Connect supply leads to fixture, Button PE, and backplate ground leads as per the manufacturer’s instructions.
- Follow applicable national and local electrical codes while installing or using the product.
- Mount the luminaire in such a way that prolonged staring into the luminaire at a distance closer than 0.50m is not expected.
BEFORE YOU BEGIN
Read these instructions and save for future use
WARNING
RISK OF ELECTRIC SHOCK
Disconnect power before service installation, or maintenance of the product.
RISK OF INJURY OR DAMAGE
Unit will fall if not installed properly. Follow installation instructions.
CAUTION
The luminaire should be mounted so that prolonged staring into the luminaire at a distance closer than 0.50m is not expected
Storage & Handling

Remove battery and test button, motion sensor, or button photocontrol it necessary to mount box
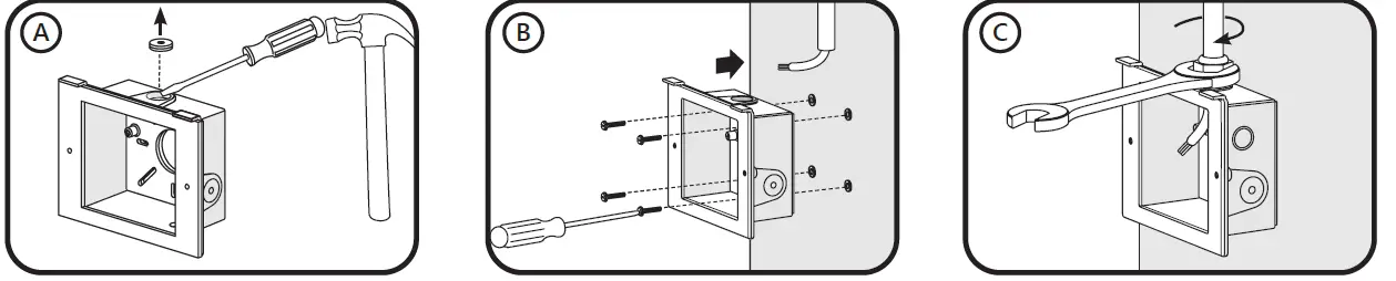
Junction Box Mounting
- Mount to a 3 ½-in. square or 4-in. octagonal recessed outlet box.
- Apply gaskets.
- Caulk upper edge and sides on rough surfaces

- Fasten to junction box with user supplied screws

CAUTION
Water-tight conduit connections are required when using the mounting box knockouts
Surface Conduit

- Knock out conduit entries as needed.
- Attach to wall (follow Step 4 below).
- Fasten/seal conduit to box
Surface Mount
- Locate and drill holes in wall surface of recommended diameter for user-supplied anchors.
- Install user-supplied anchor
- Apply gaskets

- Caulk upper edge and sides on rough surfaces
- Fasten plate or box to wall with user supplied screws

WARNING
Wiring
CAUTION
RISK OF SHOCK OR DAMAGE
Follow applicable national and local electrical codes.
RISK OF DAMAGE
Verify supply voltage and wire insulation temperature rating match nameplate requirements.
- Reinstall battery and test button, motion sensor, or button photocontrol if previously removed
- Connect supply leads to fixture

- (Standard No Sensors) Connect supply leads to fixture and backplate ground
- (Button Photocontrol) Connect supply leads to fixture, Button PE, and backplate ground leads

- (EMBB) Connect supply leads to fixture, EMBB, and chassis ground leads
- (Internal Motion Sensor) Connect supply leads to fixture, sensor, and backplate ground leads

WARNING
An unswitched AC power source of 100VAC to 277VAC is required for proper EMBB charging and operation. An Illuminated LED indicator light indicates AC power is applied
Controls
- Verify if unit has a programmable occupancy sensor.
- Refer to FSIR-100 datasheet for programable settings.
- Aim FSIR-100 at fixture and program settings.

- Fasten housing to box or plate
- For ADA installations, use shorter screws
- Insert plugs to hide screws

Testing EMBB/Tester
- Push button to test operation
- Note flashing light, see Table 1 for codes

Test Switch Indicator Status
| LED Indicator Status On/Off EM Driver Status | ||
| Solid Green | – | System OK/AC OK (Self-diagnostic Enabled or Disabled). |
| Flashing Green | 0.1s / 3s | System OK |
| Slow Flashing Red
| 4s / 1s | Battery not detected, check battery switch or connection.
|
| Flashing Red Rouge | 1s / 1s | Replace battery.
|
| Flashing Green Vert | 2s / 2s | Self-Diagnostic test underway.
|
| Fast Flashing Red
| 0.1s / 0.1s | Abnormal driver performance, replace driver. Performances anormales du pilote, remplacez le pilote.
|
| Very Slow Flashing Red | 1s / 7s | Over temperature. |
| Very Slow Flashing Red
| 4s / 4s | LED output load is Short/Over Current/Over Voltage/Open Circuit in EM Mode. |
Cleaning
- Use mild soap/detergent
- Rinse with cool low pressure water.
- Wipe dry with clean soft cloth
CAUTION
RISK OF DAMAGE. Do not use soap/detergent containing aromatic hydrocarbons
Specifications
|
Luminaire |
Weight |
Dimensions |
IP Rating Classe IP
|
Mounting Height | Operating Temp. |
| EWLS | 7.4 lbs. (3.4 kg) | Optical and all Electrical Components IP66
|
8-25 ft (2.4-7.6 m) |
-40° to 50°C | |
| EWLS | 8.0 lbs. (3.6 kg) | 8.3 x 7.4 x 6.3 in. | |||
| (EMBB) | (211 x 188 x 160 mm) | ||||
| EWLS | 9.4 lbs. (4.3 kg) | ||||
| (347V) |
FCC
This device complies with Part 15 of the FCC Rules. Operation is subject to the following two conditions: (1) This device may not cause harmful interference, and (2) this device must accept any interference received, including interference that may cause undesired operation. This Class [A] RFLD complies with the Canadian standard ICES-005. Ce DEFR de la classe [A] est conforme à la NMB-005 du Canada.
Note: This equipment has been tested and found to comply with the limits for a Class A digital device, pursuant to part 15 of the FCC Rules. These limits are designed to provide reasonable protection against harmful interference when the equipment is operated in a commercial environment. This equipment generates, uses, and can radiate radio frequency energy and, if not installed and used in accordance with the instruction manual, m ay cause harmful interference to radio communications. Operation of this equipment in a residential area is likely to cause harmful interference in which case the user will be required to correct the interference at his own expense These instructions do not purport to cover all details or variations in equipment nor to provide for every possible contingency to be met in connection with installation, operation or maintenance. Should further information be desired or should particular problems arise which are not covered sufficiently for the purchaser’s purposes, the matter should be referred to GE.
gecurrent.com/la-es/marcas/evolve
© 2023 Current Lighting Solutions, LLC.





























