velleman WBO17 Flat Panel Wall Support Instruction Manual
Note: Read the entire instruction manual before you start installation and assembly.
WARNING
- • Do not begin the installation until you have read and understood the instruc-tions and warnings contained in this installation sheet. If you have any questions regarding any of the instructions or warnings,please contact your local distributor.
- This mounting bracket was designed to be installed and utilized ONLY as specified in this manual. Improper installation of this product may cause damage or serious injury.
- Make sure that the supporting surface will safely support the combined load of the equipment and all attached hardware and components.
- Never exceed the maximum load capacity.
- Always use an assistant or mechanical lifting equipment to safely lift and position equipment.
- Tighten screws firmly, but do not overtighten. Overtightening can damage the items, greatly reducing their holding power.
- This product is intended for indoor use only. Using this product outdoors could lead to product failure and personal injury.
component checklist
IMPORTANT: Ensure that you have received all parts according to the component checklist prior to installing. If any parts are missing or faulty, contact your local distributor for a replacement.
package M


PACKAGE W


Mount on wood stud wall




Tighten the screws spacing 3mm to wall plate.

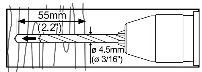
Mark the exact location of the mounting holes

Drill pilot holes


Screw the wall mount on to the the wall

WARNING
- Make sure that mounting screws are anchored into the center of the studs. The use of a stud finder is highly recommended.
- Installers are responsible to provide hardware for other types of mounting situations.
- Installers must verify that the supporting surface will safely support the combined load of the equipment and all attached hardware and components.
Mount on solid brick and concrete block




Tighten the screws spacing 3mm to wall plate.

Mark the exact location of the mounting holes

drill pilot holes

Screw the wall mount on to the the wall

WARNING
- When installing wall mounts on cinder block, verify the actual concrete thickness is at least 1-3/8″ (35mm) for using the concrete anchors. Do not drill into mortar joints! Be sure to mount in a solid part of the block, generally 1″ (25mm) minimum from the side of the block. It is suggested electric drill on slow setting be used to drill the hole instead of a hammer drill to avoid breaking out the back of the hole when entering a void or cavity.
- Installers must verify that the supporting surface will safely support the combined load of the equipment and all attached hardware and components.
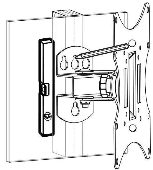
INSTALLING THE WALL MOUNT



TOP OF DISPLAY

Note: Choose appropriate screws, washers and spacers (if necessary) according to the type of screen. Screw wall mount onto the display.
Installaing the display
Two qualified persons are required




Align holes of wall plate to screws in wall and lower the wall plate until the screws are seated in upper area of tear-drop mounting holes. Tighten all screws for secure.
Adjustment

Use the tilt adjusting knob to adjust your TV to the desired angle then tighten it.
MAINTENANCE
- Check that the bracket is secure and safe to use at regular intervals (at least every three months).
- Please contact your dealer if you have any questions.
Velleman® Service and Quality Warranty
Since its foundation in 1972, Velleman® acquired extensive experience in the electronics world and currently distributes its products in over 85 countries. All our products fulfil strict quality requirements and legal stipulations in the EU. In order to ensure the quality, our products regularly go through an extra quality check, both by an internal quality department and by specialized external organisations. If, all precautionary measures notwithstanding, problems should occur, please make appeal to our warranty (see guarantee conditions). General Warranty Conditions Concerning Consumer Products (for EU):
- All consumer products are subject to a 24-month warranty on production flaws and defective material as from the original date of purchase.
- Velleman® can decide to replace an article with an equivalent article, or to refund the retail value totally or partially when the complaint is valid and a free repair or replacement of the article is impossible, or if the expenses are out of proportion. You will be delivered a replacing article or a refund at the value of 100% of the purchase price in case of a flaw occurred in the first year after the date of purchase and delivery, or a replacing article at 50% of the purchase price or a refund at the value of 50% of the retail value in case of a flaw occurred in the second year after the date of purchase and delivery.
- Not covered by warranty:
- all direct or indirect damage caused after delivery to the article (e.g. by oxidation, shocks, falls, dust, dirt, humidity…), and by the article, as well as its contents (e.g. data loss), compensation for loss of profits; – consumable goods, parts or accessories that are subject to an aging process during normal use, such as batteries (rechargeable, non-rechargeable, built-in or replaceable), lamps, rubber parts, drive belts… (unlimited list);
- flaws resulting from fire, water damage, lightning, accident, natural disaster, etc….;
- flaws caused deliberately, negligently or resulting from improper handling, negligent maintenance, abusive use or use contrary to the manufacturer’s instructions;
- damage caused by a commercial, professional or collective use of the article (the warranty validity will be reduced to six (6) months when the article is used professionally);
- damage resulting from an inappropriate packing and shipping of the article;
- all damage caused by modification, repair or alteration performed by a third party without written permission by Velleman®.
- Articles to be repaired must be delivered to your Velleman® dealer, solidly packed (preferably in the original packaging), and be completed with the original receipt of purchase and a clear flaw description.
- Hint: In order to save on cost and time, please reread the manual and check if the flaw is caused by obvious causes prior to presenting the article for repair. Note that returning a non-defective article can also involve handling costs.
- Repairs occurring after warranty expiration are subject to shipping costs.
- The above conditions are without prejudice to all commercial warranties. The above enumeration is subject to modification according to the article (see article’s manual).














