WASSERSTEIN 2-in-1 Gutter Mount for Google Nest Cam and Compatible Solar Panel Camera

In the Box

Camera Compatibility
- Designed exclusively for Google Nest Cam (battery) 2021.
Safety Information
- Read these instructions carefully before use. Failure to follow the safety instructions could cause injury or damage to your property.
- Be aware of height-related hazards during the installation process. Make sure you have the necessary equipment and assistance with you.
- Make sure your gutter can support the weight of the camera, solar panel, and gutter mount before installing it.
- Make sure your camera and solar panel are weatherproof before installing them outdoors.
- Small parts contained in the kit could be a choking hazard. Keep small parts away from children.
Introduction to Parts

- solar panel (not included)
- video camera (not included)
- adapter for Google Nest Cam (battery) 2021
- ball joint fixing screw
- support fixing screw
- metal hook
- knob screw
- mounting bracket
- velcro band
- supporting rod fixing nut
- angle adjustment screw
- glide
Installation
Pre-installation
- Make sure that you have all the included materials and tools.
- Attach the mounting bracket to the metal hook using the short screws. Make sure the screws pass through the two holes on the metal hook.

- Slide the supporting part onto the mounting bracket. Tighten the fixing screw to lock the parts using the hex key provided.

- Install the knob screw through the hole of the metal hook.
Note: Plastic nut is optional to prevent scratching the gutter surface.
Mounting Your Camera
- Lock the base to the Google Nest Cam adapter, then screw in to the ball joint from the supporting part as shown.

- Snap the camera to its original base at the designated angle.
Note: Make sure the ball joint fixing screw is firmly secured to lock the ball joint in place.
Mounting Your Solar Panel
- A. Using the Glide
If your solar panel is a glide model, attach the glide end of the rod. Slide them onto the solar panel. Make sure the solar panel is locked in place.
- B. Using the Camera Screw
If your solar panel is a screw hole model, fasten it directly onto the rod. Turn the plastic screw from the end to lock the solar panel in place.
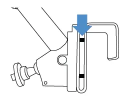
Mounting to Your Gutter
Check the compatibility of your gutter style before installing. Hang the gutter mount onto your compatible gutter and secure it by tightening the knob screw firmly.
Compatible Gutter Types
Note: The gutter mount is not compatible with round flange gutters or half-round gutters with an inward-facing flange.

Adjust The Devices to Desired Position
- Adjust the camera and solar panel to the desired position. Set directly towards the sun to maximize sunlight exposure.

Mounting On Wall
- The mount can be secured to a wall using the bracket and long screws provided.
- Attach the mounting bracket to the wall using the long screws and wall anchors (the drill bit size is 1/8”).

Frequently Asked Questions
- Why is the mount jiggling and triggering unwanted camera recordings?

The hook was probably not attached completely, make sure the short screw passes through the two holes on the metal hook. - Why does the camera face down after being mounted?

Since the camera contains a battery and extra weight, you will need to tighten the ball joint fixing screw as much as possible, until the ball joint is firmly in place.
Get More Support
Scan the QR code below or email us at [email protected].
Google Nest Cam (battery) and solar panel are not included.
Google Nest is a brand of Google LLC. Wasserstein is a brand of Dropcases Ltd. Wasserstein is not affiliated with Google LLC.
For more information, please visit: www.wasserstein-home.com or contact us at: [email protected] Made in China































