TABLE LAMP
Save these instructions
IMPORTANT SAFETY INSTRUCTIONS:
- These instructions are provided for your safety. Please read carefully and completely before beginning the assembly and installation of this lighting fixture.
- This lighting fixture is intended for indoor use only.
- Always place lighting fixture on a solid, level surface.
- For use with E26 (medium) base light bulbs only.
- To avoid the risk of fire, do not exceed the maximum wattage of 60W incandescent bulb
, or 9W LED bulb
, or 13W fluorescent (CFL) bulb
, or 9W self-ballasted LED bulb
.
(Bulbs not included) - This lighting fixture has a polarized plug (one prong is wider than the other) as a safety feature to reduce the risk of electric shock. This plug will fit in a polarized outlet only one way.
If the plug does not fit fully into the outlet, reverse the plug. If it still does not fit, contact a qualified electrician. Never use with an extension cord unless plug can be fully inserted.
Do not alter the plug. Do not attempt to bypass this safety feature.
WARNINGS:
- To reduce the risk of fire, electrical shock, or personal injury: always turn off and unplug this lighting fixture and allow it to cool before attempting to replace the light bulb.
- Do not touch light bulb while fixture is turned on.
- Keep flammable materials away from this lighting fixture.
- Never look directly at a lit bulb.
CARE INSTRUCTIONS:
- Unplug lamp before cleaning.
- Wipe clean with a soft, dry cloth or static duster.
- Always avoid the use of harsh chemicals or abrasive cleaners as they may cause damage to the fixture’s finish
PRE-ASSEMBLY:
Carefully remove all parts and hardware from carton, along with any protective plastic packaging. The lampshade may be covered with a plastic film that should be removed before use.
Do not discard any contents until after assembly is complete to avoid accidentally discarding small parts or hardware.
BE CAREFUL NOT TO STRIP THREADS
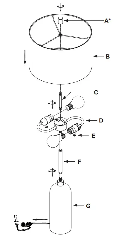
* Part A (Finial) may come pre-installed to Part C (Lampshade Post). Unscrew Part A before installing Part B (Lampshade), then reinstall Part A to secure.
PARTS INCLUDED:
(A*) Finial
(B) Lampshade
(C) Lampshade Post
(D) Sockets
(E) On/Off Switches
(F) Bottom Post
(G) Base
For use with light bulbs with a E26 (medium) base
DO NOT EXCEED THE SPECIFIED WATTAGE
CAREFULLY PULL CORD DOWN
THROUGH THE BASE TO REMOVE SLACK
Made in China














