MEYER CROSS TL1732 Metal Table Lamp

Product Information: Table Lamp
This table lamp is made in China and comes with pre-assembly instructions and care instructions to ensure proper usage. The lamp is designed to be used with light bulbs that have a medium E26 base. It is important not to exceed the specified wattage to avoid damage to the fixture’s finish. The lamp comes with all the necessary parts for assembly including a lampshade, lampshade ring, on/off control, base, and power cord.
Care Instructions
It is important to follow the care instructions to avoid damaging the fixture’s finish. Do not use harsh chemicals or abrasive cleaners to clean the lamp. Instead, use a soft cloth and mild soap to gently wipe down the lamp. Avoid getting water on the electrical components of the lamp.
Pre-Assembly
Before assembling the lamp, carefully remove all parts and hardware from the carton. The lampshade may be covered with a plastic film that should be removed before use. Do not discard any contents until after assembly is complete to avoid accidentally discarding small parts or hardware.
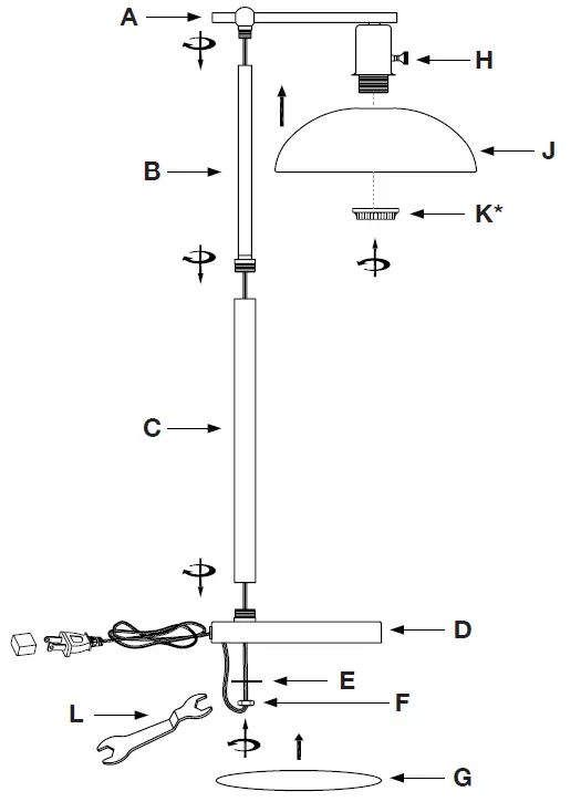
Parts Included:
- (A) Lampshade Post/Socket
- (B) Middle Post
- (C) Bottom Post
- (D) Base
- (E) Washer
- (F) Nut
- (G) Scratch Guard Pad
- (H) On/Off Control
- (J) Lampshade
- (K*) Lampshade Ring
- (L) Wrench
Assembly Instructions
The lamp should be assembled from the top down, starting with part A and working down. Take extra care not to strip the threads. Before installing part J (lampshade), unscrew part K (lampshade ring) if it is pre-installed to part A (lampshade post/socket). Then, reinstall part K to secure. Carefully pull the power cord out from the base (D) to remove slack.
Usage Instructions
Once the lamp is assembled, plug it in and turn it on using the on/off control (H). Use light bulbs with a medium E26 base and do not exceed the specified wattage. To turn off the lamp, use the on/off control (H) again.
IMPORTANT SAFETY INSTRUCTIONS
- These instructions are provided for your safety. Please read carefully and completely before beginning the assembly and installation of this lighting fixture.
- This lighting fixture is intended for indoor use only.
- Always place lighting fixture on a solid, level surface.
- For use with E26 (medium) base light bulbs only.
- To avoid the risk of fire, do not exceed the maximum wattage of 60W incandescent bulb
, or 9W LED bulb
, or 13W fluorescent (CFL) bulb
, or 9W self-ballasted LED bulb
.(Bulbs not included) - This lighting fixture has a polarized plug (one prong is wider than the other) as a safety feature to reduce the risk of electric shock. This plug will fit in a polarized outlet only one way. If the plug does not fit fully into the outlet, reverse the plug. If it still does not fit, contact a qualified electrician. Never use with an extension cord unless plug can be fully inserted.
Do not alter the plug. Do not attempt to bypass this safety feature.
WARNINGS:
- To reduce the risk of fire, electrical shock, or personal injury: always turn off and unplug this lighting fixture and allow it to cool before attempting to replace the light bulb.
- Do not touch light bulb while fixture is turned on.
- Keep flammable materials away from this lighting fixture.
- Never look directly at a lit bulb.
CARE INSTRUCTIONS:
- Unplug lamp before cleaning.
- Wipe clean with a soft, dry cloth or static duster.
- Always avoid the use of harsh chemicals or abrasive cleaners as they may cause damage to the fixture’s finish
PRE-ASSEMBLY:
Carefully remove all parts and hardware from carton, along with any protective plastic packaging. The lampshade may be covered with a plastic film that should be removed before use.
Do not discard any contents until after assembly is complete to avoid accidentally discarding small parts or hardware.
PARTS INCLUDED:
- (A) Lampshade Post/Socket
- (B) Middle Post
- (C) Bottom Post
- (D) Base
- (E) Washer
- (F) Nut
- (G) Scratch Guard Pad
- (H) On/Off Control
- (J) Lampshade
- (K*) Lampshade Ring
- (L) Wrench
* Part K (Lampshade Ring) may come pre-installed to Part A (Lampshade Post/Socket). Unscrew Part K before installing Part J (Lampshade), then reinstall Part K to secure.
BEGIN ASSEMBLY AT THE TOP, AT PART A, AND WORK DOWN, TAKING EXTRA CARE NOT TO STRIP THE THREADS. INSTALL LAMPSHADE LAST.
For use with light bulbs with a E26 (medium) base.
DO NOT EXCEED THE SPECIFIED WATTAGE.
















