
Codelocks Support
CL155/CL190/CL255/CL290 –
2018 Mortice Latchset
Installation Instructions
CL155 Mortice Latch Set

Front Plate (key override option shown)
Back Plate (hold-open models have a sliding snib)
Neoprene seals x 2
Spring Loaded Spindle
Latch 60mm (2 3⁄8″) backset
Strike Plate
Wood screws x 4 – Use with Latch & Strike Plate
Latch Support Post
Tweezers (for changing the code)
Fixing Bolts 3 supplied (spare x 1)
Code tumblers (spare x 2)
Code card
2 keys – key override models only

Tools required for installation:
- Power drill
- Drill bits 10mm (3/s”) 13mm (‘/2”) 25mm (1″)
- Bradawl
- Phillips screwdriver size 2
- Chisel – maximum 25mm (1”)
- Hammer/Mallet
- Tape measure
- Stanley knife
- Adhesive tape
- Pencil
SPECIAL NOTES
You are advised to familiarise yourself with the instructions before starting work.
- As standard, locks are supplied as ‘hold open’ function with a snib on the back plate. This enables the latchbolt to be held open when required. When using the ‘hold open’ function please note that the back plate is fitted with a blue screw to stop the handle moving in the wrong direction. The screw should be in the left hand hole for a right hand door or the right hand hole for a left hand door.
- When using the ‘hold open’ function please note that the back plate is fitted with a blue screw to stop the handle moving in the wrong direction The screw should be in the left hand hole for a right hand door or the handle moving in the wrong direction. The screw should be in the left hand hole for a right hand door or the right hand hole for a left hand door.
- To disable the ‘hold open’ see Note 4 – Disable Hold Open Function.
- Make sure that the lever handle of the back plate moves freely. If your lock is a ‘hold open’ model then check that the snib will engage and hold the handle in the ‘latch open’ position.
- Check that the latchbolt moves freely by pressing at the end and also by turning the flat spindle in the latch cam.
1. CHECK THE HAND OF YOUR DOOR

Viewed from outside, a door is right handed if the hinges are on the right, and left handed if the hinges are on the left.
2. APPLY THE TEMPLATE

- Crease the template along the ‘fold along the door edge’ dotted line that suits your latch backset, and tape it to the door.
- Mark the 13mm (1⁄2″) holes and the 3 x 10mm (3⁄8″) holes. Mark the centre line of latch in the middle of the door edge. Now apply the template to the other side of the door, aligning it with your first mark in the middle of the door edge.
- Mark the 4 holes again. Keeping the drill level and square to the door, drill holes from both sides to avoid splintering out of door face.
Positioning and fixing the latch
- Mark a central point on the ‘centre line of latch’ on the door edge.
- Mark the depth of 85mm (3 3⁄8″) on the drill bit with tape to act as a visible depth limit. Drill a 25mm (1″) hole, 85mm (3 3⁄8″) deep, keeping the drill level and square to the door.
- Insert the latch into the hole, and with the edges parallel to the door, draw around the faceplate.
- Remove the latch. Score the pencil line with a Stanley knife to avoid splitting prior to chiselling. Chisel a 3mm (1⁄8″) rebate to fit the latch face flush to the door edge.
- Fix the latch with the wood screws, with the bevel towards the door frame.
3. LATCH SUPPORT POST

Fit the Latch Support Post in the back of the front plate:
Hole A for a Right Hand Door
Hole B for a Left Hand Door
4. DISABLE HOLD OPEN FUNCTION
If required, the hold open feature can be disabled as follows: Remove fixing plate by removing the four fixing screws and blue handing screw.
- Lift out the snib block.
- Flip over and reseat. Refit the fixing plate.
Do not fit the blue handing screw.

5. POSITIONING THE SPINDLE

- The spring-loaded spindle will fit doors between 35mm (1 3⁄8”) and 60mm (2 3⁄8”) thick. For doors less than 50mm (2”) thick break off the 15mm (5⁄8”) section at the end of the spindle. For doors more than 60mm (2 3⁄8”) thick, ring the helpline for advice. The spring keeps the spindle firmly engaged in the outside handle when the lock is assembled on the door.
- Insert the spindle, with the spring on the code side, through the 13mm (1⁄2”) hole in the door, and make sure that it engages the latch correctly for the hand of the door (see inset diagram).
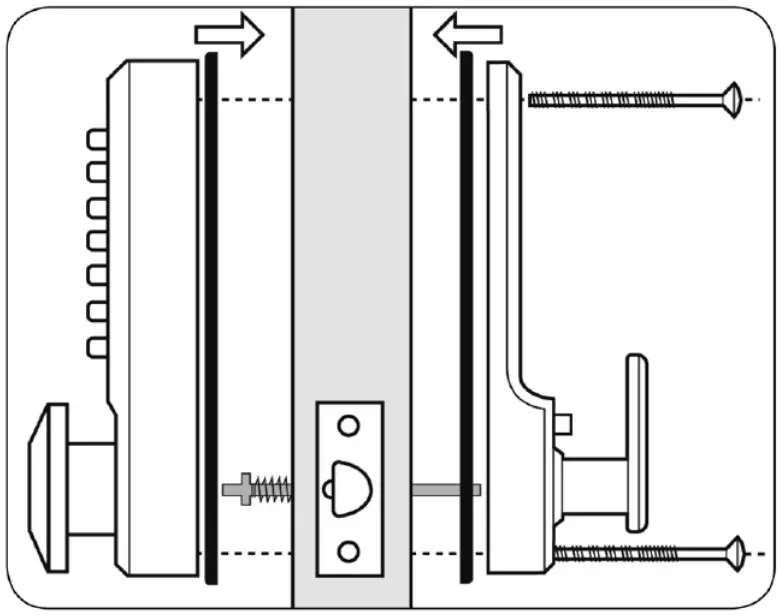
6. FIXING THE LOCK

- Cut the fixing bolts to suit the door thickness, length of bolts measured beneath the bolt head should be door thickness plus 15mm (5⁄8”). Use the pliers cutting jaws to crimp strongly several times around the bolt. The surplus end should now break off easily.
- Hold the front plate and the back plate, with the seals, onto the door with the spindle in position.
- Using the fixing bolts screw everything together through the top and bottom holes of the back plate. Before final tightening make sure that the lock is vertical, and test the mechanism to ensure that it is all moving easily.
DO NOT CLOSE THE DOOR UNTIL YOU ARE SURE THAT THE CODE WORKS
DO NOT over-tighten the fixing bolts as this may cause distortion and lead to poor operation.
7. FITTING THE STRIKE PLATE

NB The plunger beside the latchbolt deadlocks the latchbolt and protects it against manipulation. IT MUST NOT enter the strike plate aperture when the door is closed.

- Ensure that there are no obstructions to prevent the door closing properly into its frame, such as litter trapped in the hinge side.
- Position the strike plate on the door frame so that it lines up with the flat of the latchbolt, NOT THE PLUNGER.
- Draw around the aperture of the strike plate. Chisel out the aperture 15mm (5⁄8″) deep to receive the latchbolt. Fix the strike plate to the surface of the frame with one screw only. Close the door and ensure that the latchbolt enters the aperture easily, and is held without too much ‘play’. When satisfied, draw around the final position of the strike plate, remove it and cut a 1mm (1⁄16″) rebate to enable it to fit flush. Re-fix the strike plate with both screws.
II-CL100/CL200ML-v1:0218
© 2019 Codelocks Ltd. All rights reserved.
https://codelocks.zohodesk.eu/portal/en/kb/articles/cl155-cl190-
cl255-cl290-2018-mortice-latchset-installation-instructions



















