Steinel IS 180 digi Motion Detectors Outdoor white 
About this document
Please read carefully and keep in a safe place.
- Under copyright. Reproduction either in whole or in part only with our consent.
- Subject to change in the interest of technical progress.
General safety precautions
Failure to observe these operating instructions presents hazards!
These instructions contain important information on the safe use of this product. Particular attention is drawn to potential hazards. Failure to observe this information may lead to death or serious injuries.
- Read instructions carefully.
- Follow safety advice.
- Keep instructions within easy reach.
- Working with electrical current may produce hazardous situations. Touching live parts can result in electrical shock, burns or death.
- Work on mains voltage must only be performed by qualified, skilled personnel.
- National wiring regulations and electrical operat-ing conditions must be observed
(e.g. DE: VDE 0100, AT: ÖVE-ÖNORM E8001-1, CH: SEV 1000). - Only use genuine replacement parts.
- Repairs must be made by specialist workshops.
IS 180 digi
Proper use
- Sensor switch suitable for ceiling and wall mounting indoors and outdoors.
- Can be used on its own or interconnected via Bluetooth.
Features
- Operation via Steinel Connect App.
Operating principle
- The integrated infrared sensor detects the heat radiated from moving objects (e.g. people, animals).
- The heat detected in this way is converted electronically into a signal that automatically switches ON a connected load (e.g. a light).
- The most reliable way of detecting motion is to install the unit with the sensor aimed across the direction in which a person would walk.
- Reach is restricted when the unit is approached head on.
- Obstacles (e.g. trees, walls etc.) interrupt the line of sensor vision.
- Heat radiation is not detected through obstacles (e.g. walls or panes of glass), the sensor is not triggered.
- Sudden fluctuations in the temperature from changes in weather are not distinguished sources of heat.
Package contents 
Product dimensions
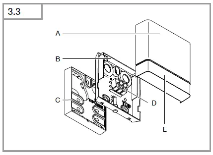
Product Components 
A Sensor unit
B Wall mount
C Surface-mounted wall base
D Connecting terminal
E LED
Technical specifications
- Dimensions (H × W × D): 116 × 116 × 42 mm
- Power supply: 220-240 V, 50/60 Hz
- Stand-by power consumption: < 0.6 W
- Time setting: 5 s – 60 min
- Twilight setting: 2-1,000 lux, daytime mode
- Reach: 8 m, mounted at a height of 2.0 m
- Mounting height: 1.8-2.5 m
- Sensor system: passive infrared
- The angle of coverage: 180°
- Temperature range: -20°C to +40°C
- Bluetooth frequency: 2.4 to 2.48 GHz
- Bluetooth transmission power 5 dBm/3 mW
- IP rating IP 54
Switching capacity:
- Incandescent/halogen lamp load: 1,000 W
- Low-voltage halogen lamps: 1,000 VA
- Fluorescent lamps, uncorrected: 500 VA
- Fluorescent lamps, series-corrected: 400 VA
- Fluorescent lamps, parallel-corrected: 400 VA
- Fluorescent lamps, electronic ballast: 430 W
- LED lamps < 2 W: 16 W
- 2 W < LED lamps < 8 W: 64 W
- LED lamps > 8 W: 64 W
- Capacitive load: 88 μF
Electrical installation
Hazard from electrical power.
Touching live parts can result in electrical shock, burns or death.
- Switch OFF power and interrupt power supply.
- Using a voltage tester, check to make sure the the power supply is disconnected.
- Make sure power supply remains interrupted.
Risk of damage to property!
Mixing up connection leads may produce a short circuit.
- Identify connection leads.
- Re-connect connection leads.
Connecting the mains power supply lead
The supply lead is a 4-core cable:
L = phase conductor (usually black, brown or grey)
= switched phase conductor (usually black, brown or grey)
N = neutral conductor (usually blue)
PE = protective-earth conductor (green/yellow)
Note:
The sealing plugs provided are intended for a mains supply lead with an outer diameter of 5-10 mm.
Note:
The protective-earth conductor need not be connected for this product.
Wiring diagram (Fig. 4.1)
Installation
Preparing for installation
- Check all components for damage. Do not use the product if it is damaged.
- Select an appropriate site to install the product.
- Take reach into consideration. (Fig. 5.1)

- Take reach and motion detection into consideration. (Fig. 5.2/5.3)


- Vibration-free.
- No obstacles in a detection zone.
- Not in explosive atmospheres.
- Not on normally flammable surfaces.
- Take reach into consideration. (Fig. 5.1)
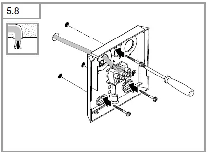
Mounting procedure
- Check to make sure the power supply is switched OFF. (Fig. 4.1)

- Unscrew the retaining screw. (Fig. 5.4)

- Detach sensor switch from the wall mount. (Fig. 5.5)

- Mark drill holes. (Fig. 5.6)

- Drill holes (Ø 6 mm) and fit wall plugs. (Fig. 5.7)

- Firmly screw wall mount into place.
- Concealed version (Fig. 5.8)

- Surface-mounted version with surface-mounted wall base (Fig. 5.9)

- Concealed version (Fig. 5.8)
- Connect mains power supply lead according to terminal labeling. An additional external load can be connected to N and
. (Fig. 5.10)
- Fit sensor switch on the wall mount. (Fig. 5.11)

- Tighten the retaining screw. (Fig. 5.12)

- Switch ON the power supply. (Fig. 5.12)
- Make settings ➜ “6. Function”
Function
Factory settings
- Time setting: 5 seconds
- Twilight setting: (daytime mode)
- Reach: 100%
Steinel Connect app
To configure the sensor switch via smartphone or tablet, you must download the STEINEL Connect app from your app store. You will need a Blue-tooth-capable smartphone or tablet.
The following functions can be set via the Steinel Connect app:
- Time setting 5 s – 60 min
- Twilight setting 2-1,000 lux, daytime mode, lux teach, time teach
- Reach adjustment
- Bluetooth interconnection
LED function
- Initialization: LED flashes green.
- Bluetooth identification: LED slowly flashes blue.
- Normal mode: LED is OFF.
Time setting
The time you want the sensor switch controlled light to stay ON for can be set to any period from approx. 5 seconds to a maximum of 60 minutes. Any movement detected before this time elapses will restart the timer.
Note:
After the load switches OFF, it takes approx. 1 sec-ond before movement can be detected again. The load will only switch light ON again in response to movement once this period has elapsed.
Twilight setting
The response threshold chosen for the sensor switch can be infinitely varied from approx. 2 to 1,000 lux.
Setting detection zone
The area covered by the sensor can be divided into three zones (Fig. 6.1):
- Each of the three zones can be activated or deactivated separately.
- Reach can be set for each of the three zones.
Note: It is recommended to select the shortest time for setting the detection zone.
Note: The twilight setting control must be set to daylight mode when adjusting the detection zone and performing the functional test in daylight.
Bluetooth interconnection (Bluetooth mesh)
The sensor switch does comply with the Bluetooth mesh standard. It can be interconnected with all products complying with the Bluetooth mesh standard.
The sensor switch is configured by the Steinel Connect app. Appropriate network keys are saved on the smartphone or tablet the first time a connection is made between sensor switch and the Steinel Connect app. The key rules out any unauthorized access to the sensor.
The network key must be shared for access via another smartphone or tablet.
Cleaning and Maintenance
Hazard from electrical power.
Contact between water and live parts can result in electrical shock, burns or death.
- Only clean tool in a dry state.
Risk of damage to property!
Using the wrong detergent can damage the light.
- Clean sensor switch with a moist cloth without detergent.
Troubleshooting
Unit without power.
- Fuse not switched ON or faulty.
- Switch ON fuse.
- Change faulty fuse.
- Break in wiring.
- Switch ON mains switch.
- Check wiring with voltage tester.
- Short circuit in mains power supply lead.
- Check connections.
Unit does not switch ON.
- Wrong twilight setting selected.
- Re-set brightness response threshold
- Mains switch OFF.
- Switch ON the mains switch.
- The fuse is not switched ON or is faulty.
- Switch ON the fuse.
- Change the faulty fuse.
- Detection zone too small or incorrect.
- Check and adjust the detection zone.
The unit does not switch OFF.
- Continued movement within the detection zone.
- Check the detection zone.
- If necessary, limit or change the detection zone.
Unit switches ON when it should not
- Movement within the detection zone, e.g. from animals, trees or cars.
- Check the detection zone.
- If necessary, limit or change the detection zone.
- Unit is moving as a result of gusts of wind or precipitation.
- Mount floodlight on a firm surface.
No connection is set up to the sensor switch from a smartphone or tablet.
- The smartphone is too close to the sensor switch.
- Distance from sensor switch at least 1.5 m.
- The app is not compatible with smartphone or tablets.
- Use different smartphone or tablet.
- App version not up to date.
- Update Steinel Connect app in the app store.
No connection with the app.
- No network key on the smartphone or tablet that is being used.
- Share network key via app.
Disposal
Electrical and electronic equipment, accessories and packaging must be recycled in an environmentally compatible manner.
Do not dispose of electrical and electronic equipment as domestic waste.
EU countries only:
Under the current European Directive on Waste Electrical and Electronic Equipment and its implementation in national law, electrical and electronic equipment no longer suitable for use must be collected separately and recycled in an environmentally compatible manner.
Declaration of Conformity
STEINEL Vertrieb GmbH hereby declares that the IS 180 digi sensor switch conforms to Directive 2014/53/EU. The full wording of the EU Declaration of Conformity is available for downloading from the following Internet address: www.steinel.de
Manufacturer’s warranty
This STEINEL product has been manufactured with the utmost care, tested for proper operation and safety, and then subjected to random sample inspection. STEINEL guarantees that it is in perfect condition and in proper working order. The warranty period is 36 months and starts on the date of sale to the consumer. We will remedy defects caused by material laws or manufacturing faults. The warranty will be met by repair or replacement of defective parts at our own discretion. The warranty shall not cover damage to worn parts, damage, or defects caused by improper treatment or maintenance. Further consequential damage to other objects shall be excluded.
Claims under the warranty will only be accepted if the unit is sent fully assembled and well-packed with a brief description of the fault, a receipt, or invoice ( date of purchase and dealer’s stamp ) to the appropriate Service Centre.
Repair service:
If defects occur outside the warranty period or are not covered by the warranty, ask your nearest service station for the possibility of repair.
STEINEL Vertrieb GmbH
Dieselstraße 80-84
33442 Herzebrock-Clarholz Tel: +49/5245/448-188 www.steinel.de
Steinel IS 180 digi Motion Detectors Outdoor white 

































