Barrier Panel
A84BP18 Universal Barrier Panel
User Manual
A84BP18 Universal Barrier Panel
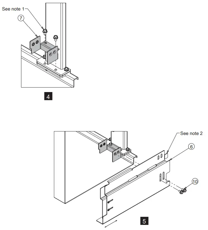
Welded Centerpost Enclosures
All Enclosures
Notes:
- Use the screws currently assemble on the centerpost for the installation.
Notes: - Remove precuts if necessary to avoid interference.
Floor-Mount Enclosures (Removable Centerpost)
Notes:
- Use the screws currently assemble on the centerpost for the installation.
- Remove precuts if necessary to avoid interference.
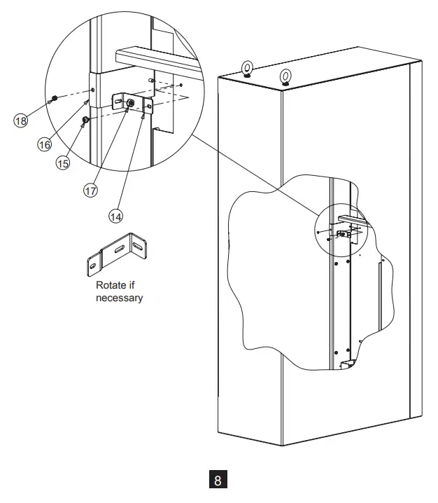
Free-Stand Enclosures
Notes:
- Use the screws currently assemble on the centerpost for the installation.
- Remove precuts if necessary to avoid interference.



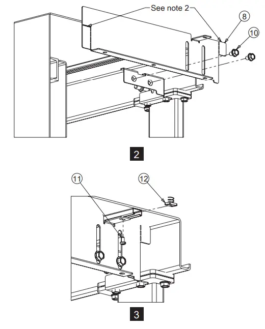
Removable Centerpost Enclosures
Welded Centerpost Enclosures
© 2019 Hoffman Enclosures Inc.
PH 763 422 2211
nVent.com/HOFFMAN
89172695
Notes:











