
USER MANUAL
Thank you for choosing Better Bathrooms.
Please read this manual before installing your product
and keep for future reference.
![]()
Close Coupled Rimless Toilet with Soft Close Seat
Close Coupled Toilet and Cistern
- Toilet pan, seat and cistern are supplied in three separate boxes
- Waste pipe (pan connector) sold separately if a new installation

Please note: Image is for illustrative purposes only and may differ slightly to the actual product
- Single-person assembly
- Tools required
- We always recommend using professional tradespeople to install your product
V1 27.5.20
Congratulations on your purchase
And welcome to our growing gang of savvy shoppers
We’re on a mission to bring you extraordinary bathroom products, for less. From modern to traditional style ceramics, plus the gorgeous fixtures, fittings and furniture to match. So,
you can fall in love with your space every single day.
As one of the UK’s largest independent bathroom stores, we’ve received countless awards; including the National Business Awards UK, the Digital Entrepreneur Awards and
being placed on The Sunday Times Fast Track 100.
We hope your new product exceeds your highest expectations. However, if you experience any problems, please:
- call our friendly UK call centre on 0871 244 0935 (9am-7pm Monday to Friday, or 10am-4pm Saturday and Sunday), or
- send us a message via [email protected]
Important information
- Please read these instructions thoroughly and retain for future reference.
- Manufactured to BS EN997 WC pans and WC suites with integral trap.
- All installation work must be carried out to comply with the Water Bylaw Regulations.
- The installation should be designed to allow access for maintenance.
- This manual covers installation of the toilet pan, seat and cistern.

WARNING: Risk of personal injury or product damage: Handle vitreous china products very carefully.
Vitreous china can break and chip if you overtighten bolts and nuts.
WARNING: Risk of external leakage . The fill valve nut has been factory-tightened to design specifications. If re-tightening is required, wrench tighten one tum past finger tight .
Parts

Toilet Pan (number 10 below) Seat
Floor fixing kit (below components)
- Screw cover
- Bracket to pan fixing screw
- Screw cup
- Floor fixing ‘L shaped’ bracket
- Floor screw
- Screw washer
- Screw plug
Cistern (components below) - Cistern tank
- Inlet valve including washer, seal and nut
- Toilet Pan
- Cistern bolt
- Cistern bolt seal
- Cistern bolt nut
- Doughnut washer
Flushing push button (components below) - Push button
- Flush rod nut
- Cistern lid
- Flush rods
- Rod rubber sleeve (not included in all models)
- Push button nut
- Syphon including washer, seal and nut (inside cistern part)
Please Note: For toilets which secure through the toilet directly into the floor, the ‘L shaped’ bracket is not used
Tools required
- Screwdriver
- Pencil
- Drill
- Sprit Level
- Drill Bit
- Hacksaw
- Spanner
- Adjustable grips
- Silicone sealant
- Hammer
Installation
Please note: Before starting any installation, turn off the water supply
Please note: Whenever possible and when safe to do so, it is recommended to carry out leak tests during the installation process
Pan Connector
The pan connector should be prepared for connection to the toilet being installed.
Please note: Pan connector (waste pipe) may need to be purchased separately if a new installation
Depending on your toilet, the pan connector could be installed through the wall, floor right and/or left.

Please note: Pan connector is not included.
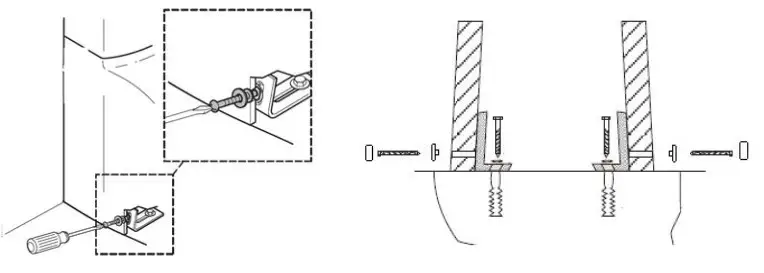
Close Coupled Toilet Pan Fitting
- Once the pan connector pipe is prepared, add a small amount of lubricant (washing up liquid) to the seal, then push the toilet into the require position, with the pan connector fully connected to the soil pipe (spigot).

- Ensure that the toilet pan is level and fully backed against the wall, then mark on the outer edge of the pan (at both sides), align with each fixing hole located in the side wall of the toilet pan.

- Remove the pan from the location, then measure the thickness of the toilet side wall and make another mark in from the original mark, and in line with the fixing hole. Repeat on the other side.

- If using the ‘L’ shaped bracket assembly, place the front edge of the bracket on the inside mark, then mark the screw hole position to secure the bracket to the floor. Repeat on the other side.
Please Note: For toilets which secure through the toilet directly into the floor, the ‘L shaped’ bracket is not used - Remove the brackets and drill the holes, ensuring that no pipes or cables can be damaged.

- If fitting into a solid floor, you will need to install the screw plugs and tap flush to the floor, then place the brackets over the drilled holes/plugs and insert the screws and washers through the brackets and secure into position.
Please note: Depending on the specification, this may be a screwdriver slot, not a spanner fitting
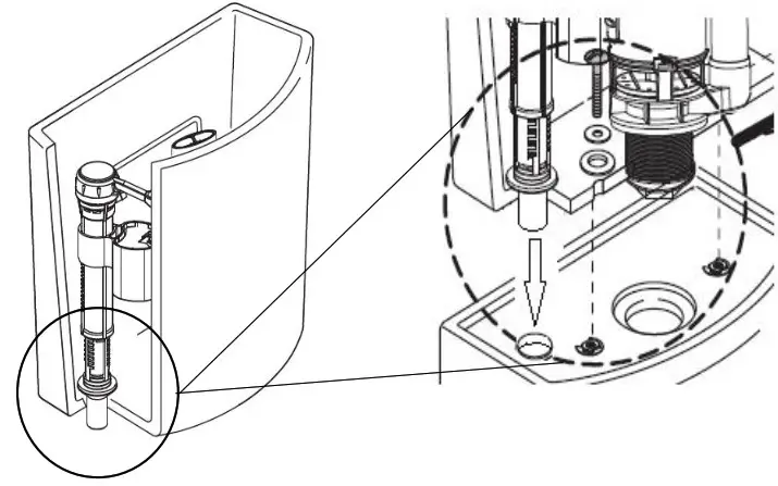
Preparing the Cistern
- From the inlet valve, remove the nut and washer, (the rubber seal should remain fitted) then place the tail of the inlet valve through the hole in the cistern tank. From underneath the tank re-fit the washer and the nut, do not tighten fully at this stage.
Remove the nut from the cistern fixing bolt, then place the bolt, washer and seal into the bottom of the cistern so that the bolt passes through the fixing hole, ensure that the seal sits against the inside face of the tank.
- Remove the nut and washer from the syphon, then place the threaded tail (syphon) through the hole in the bottom of the cistern. (with the seal against the inside face of the tank) Fit the washer and nut to the syphon thread and tighten, do not use grips as this could deform the syphon.

- Fit the thick doughnut washer to the tail of the syphon and ensure this is fully surrounding the nut.

- Position the cistern tank onto the toilet, allowing the cistern bolts to pass through the holes (1) in the toilet pan, so the inlet valve thread passes through the hole (2) in the toilet pan, and so the doughnut washer sits inside the recess (3).

- From underneath the cistern, fit the nut to the cistern bolt, and using a screwdriver tighten the cistern bolts, do not overtighten.

- From underneath the tank, fit the washer and nut, and tighten, do not overtighten Connect the water supply pipe which should be a 1/2″ female flat-faced connector.
Ensure to use a seal.
Re-fitting the Toilet Pan
- After securing the brackets, re-ft the toilet pan and push the waste spigot onto the pan connector, and align the fixing holes with the floor brackets, add a small amount of lubricant (washing up liquid) to assist.

- Once aligned, secure the toilet pan into position using the fixings provided, do not overtighten. Finish by pushing on the screw covers.

- Once the installation is completed, a small bead of silicone can be applied around the bottom edge of the toilet pan to finish.
Fitting the Push button
- Remove the nut from the push button assembly then screw the plastic flush rods into the push button.
Please note: These should be screwed in so that there is a 2 mm minimum gap between the end of the rod and button (on the syphon) - Place the assembly through the hole in the cistern lid and fit the lid to the tank, when the rods touch the syphon, measure the height ‘H’.
- Remove the rubber sleeves (not included in all models), then unscrew the rods and cut down by the dimension ‘H’, at the end that will touch the syphon.
- Screw the rods back into the push button and refit the rubber sleeves, then fit the nut and tighten, do not overtighten.
- Place the push button through the hole in the cistern lid, ensuring to align the large button with the full flush button on the syphon, operate several times to ensure correct function.

- Once assembly is completed, turn on water supply, check for leaks and check flush operation.
Troubleshooting
Please note: It is recommended to turn off the water supply via the stop valve before carrying out any internal maintenance
Water continues to run into the toilet pan
Remove the cistern tank lid and determine if the water level reaches the overflow pipe on the syphon; if it does, replace the inlet valve, if it doesn’t then replace the upper section of the syphon.

Insufficient or too much water entering the cistern tank
Adjust the inlet valve by turning the adjustment screw, until the desired level is reached.

No flush operation when the push button is pressed
Remove the cistern tank lid and press the two buttons on top of the syphon. If the cistern flushes ‘normal’, replace the push button or check that the rods have not been screwed into the push button too far, (that they’re not reaching the buttons when pressed).

Maintenance
Please note: Turn off the water supply and flush the toilet to drain away the water in the tank, it is also recommended to have a bucket under the tank to catch draining water
Please note: Depending on the toilet design you may need to remove the toilet pan from its location to access the inlet valve water supply nut and retaining nut
To replace the inlet valve
Disconnect the water supply from the inlet valve, then remove the inlet valve by unscrewing the nut on the underside of the cistern tank and remove the cistern tank lid and pull the inlet valve from the tank. Once replaced, ensure all seals are re-fitted.

To replace the syphon
This should only require the top section to be replaced. Grab the syphon and turn anticlockwise and then lift.
Upon replacing, ensure that the syphon clicks back into position and the flush buttons are aligned with the correct button on the syphon.

Cleaning
To maintain the surface finish of your product, wipe clean after every use, using a clean damp cloth, a mild detergent mixture can be used. Do not use abrasive cleaning agents or materials which can strip and scratch the surface; the use of these agents or materials can invalidate your guarantee.
Top Fix Soft Close Toilet Seat

Please note: Image is for illustrative purposes only and may differ slightly to the actual product
- Single-person assembly
- Tools required
- We always recommend using professional tradespeople to install your product
V1_21.5.20
Congratulations on your purchase
And welcome to our growing gang of savvy shoppers
We’re on a mission to bring you extraordinary bathroom products, for less. From modern to traditional style ceramics, plus the gorgeous fixtures, fittings and furniture to match. So, you can fall in love with your space every single day.
As one of the UK’s largest independent bathroom stores, we’ve received countless awards; including the National Business Awards UK, the Digital Entrepreneur Awards and being placed on The Sunday Times Fast Track 100.
We hope your new product exceeds your highest expectations. However, if you experience any problems, please:
- call our friendly UK call centre on 0871 244 0935 (9am-7pm Monday to Friday, or 10am-4pm Saturday and Sunday), or
- send us a message via [email protected]
Important information
- Please read these instructions thoroughly and retain for future reference
- Manufactured to BS EN 1254 – Specification for WC seats (plastics)
Parts

Please note that Parts are for illustrative purposes only and may differ slightly to the actual product
- Expanding Plug
- Gasket
- Fitting Peg
- Fixing Screw
- Fitting Cover
- Seat/Lid Assembly
Tools required
Screwdriver
Installation
- Push the expanding plugs (part 1) into the holes on the toilet pan then place the gaskets (part 2) between fitting pegs (part 3) and toilet pan. Next, place the long screws (part 4) through the fitting pegs and gaskets and screw into the expanding plug (part 1).
Please note: Fit the screws loosely and do not fully tighten at this stage - Turn the fittings on the toilet so that they align with the holes on the seat, then push the seat onto the pegs until it clicks into place. Gently move the seat so that it aligns on the toilet pan.

- Once the seat is aligned, tighten the screws into the fittings (as below) then once the seat is secured, remove it by pressing both buttons and lifting away.

- Place the fitting covers over the fixed fittings then push the seat onto the fitting pegs and click into position

Using
During use do not force the seat closed as this will damage the soft close mechanism.
Pull the seat and/or lid towards you slightly until it reaches the point at which it will fall under its own weight, then release.
Do not stand on the toilet seat.
Cleaning
To maintain the surface of your product, wipe with a clean damp cloth and wipe dry, do not use any abrasive cleaning agents or materials.
It is recommended to wipe the seat and fittings on a regular basis.
Troubleshooting
Seat becomes loose after a period of use Remove the seat and re-tighten the fittings.
Soft close mechanism stops working The mechanism cannot be replaced, replace the seat and lid, however, the fittings can remain fitted. Removal of seat/lid is advised in Maintenance (below).
Seat is short or overhangs the toilet pan
Align the seat lid with the front edge of the toilet pan, the fittings are adjustable.
Maintenance
- To remove the seat/lid, press the two buttons at the rear of the seat and pull the seat/lid away from the fitting pegs. When replacing ensure it clicks into place.

- To access the fixing screws, remove the lid/seat as above, then pull off the covers.

A1370 Fill valve Installation Manual
Fill valve Installation Drawing:

The inlet pipe thread specification is:
M=G61/2, H=348mm (including the thickness of rubber gasket), L adjustable range 210-280mm Note: The thickness of the rubber gasket Is 5mm, H and L are subject to customers actual measurement.
Water Tank installation drawing:

Note:
Instructions :
- Please read carefully the following installation manual in order to avoid component damage or injury to the installer.
- The instructions have been composed based on the latest product specifications. We reserve the right to make modifications to the packaging and specifications without providing prior notification.
- Do not use or drop any chlorine or detergent containing any chemical related components. Use of such products will result In damage to tank components and may cause flocding and property damage and void warranty.
- Do not install this product using any components such as glass glue etc. not supplied by our company. Any damage caused by using elsewhere supplied components Is not our liability
- Water Temperature: 2°C to 45°C
- Water Pressure Range: 0.2Mpa (2 Bar) to 0.8Mpa (8 Bar)
- If the product Is not in conformity with the material, please prevail in kind.
⚠ warning
DO NOT USE OR DROP ANY CHLORINE OR ANY CHEMICAL RELATED COMPONENTS. USE OF SUCH PRODUCTS WILL (1) RESULT IN DAMAGE TO TANK COMPONENTS AND MAY CAUSE FLOODING AND PROPERTY DAMAGE AND (2) VOID WARRANTY,.DO NOT OVERTIGHTEN NUTS, OR TANK/BOWL MAY CRACK.
I. Work Preparation: Remove the inoperative tank fittings and carefully clean the water cistern/tank.
Make sure all debris has been removed prior to Installing new tank fittings.
II. Fill Valve Installation

III. Water Level Adjustment

IV. Cleaning Filter (Filter which Is located inside the Fill valve shank Is required for cleaning periodically )


V. Troubleshooting
| Issue | Cause | Resolution |
| Water line is too high or too low. | Fill valve is not adjusted to a suitable position. | Adjust the water level to the appropriate water level . |
| Fill valve does not shut off or turn on. | 1.Water supply valve/angle stop is off 2.Filter screen is dirty | 1.Turn on the water supply valve/angle stop. 2. Clean filter screen. |
Thank you for choosing our product. You may contact our local dealer directly for prompt service if you have any questions.
Work Preparation: Remove the inoperative tank fittings and carefully clean the water cistern/tank.
Make sure all debris has been removed prior to installing new tank fittings.
Note :
- This device is not intended to be used as retrofit device for1.28 gpf water closet.
- Performance may vary since product was not tested on all models of water closets”

Thank you for choosing our product. You may contact our local dealer directly for prompt service if you have any questions.
For more information
- visit betterbathrooms.com
- email [email protected]
- call 08712440935
- write to Trident Business Park, Neptune Way, Huddersfield, HD2 1UA

Part of the BuyltDirect Group
Cistern (components below)
Flushing push button (components below)


Please Note: For toilets which secure through the toilet directly into the floor, the ‘L shaped’ bracket is not used
Please note: Depending on the specification, this may be a screwdriver slot, not a spanner fitting
Remove the nut from the cistern fixing bolt, then place the bolt, washer and seal into the bottom of the cistern so that the bolt passes through the fixing hole, ensure that the seal sits against the inside face of the tank.








Please note: Fit the screws loosely and do not fully tighten at this stage


















