better bathrooms BeBa 27076 Close Coupled Toilet with Soft Close Wrap Seat

Product Information: Close Coupled Toilet and Cistern
The Close Coupled Toilet and Cistern is a WC (water closet) system that includes a toilet pan, seat, and cistern. It is manufactured to comply with BS EN997 standards for WC pans and WC suites with integral traps. The installation of this product should be done in accordance with the Water Bylaw Regulations and designed to allow easy access for maintenance.
Parts Included:
- Toilet Pan
- Seat
- Floor fixing kit (components include: screw cover, bracket to pan fixing screw, screw cup, floor fixing ‘L shaped’ bracket, floor screw, screw washer, screw plug)
- Cistern (components include: cistern tank, inlet valve including washer, seal, and nut, toilet pan, cistern bolt, cistern bolt seal, cistern bolt nut, doughnut washer)
- Flushing push button (components include: push button, flush rod nut, cistern lid, flush rods, rod rubber sleeve – not included in all models, push button nut, syphon including washer, seal, and nut – inside cistern part)
Tools Required:
- Pan connector (not included)
- Lubricant (washing up liquid)
- Screwdriver or spanner (depending on specification)
Product Usage Instructions
Close Coupled Toilet Pan Fitting:
- Prepare the pan connector pipe and apply a small amount of lubricant (washing up liquid) to the seal.
- Push the toilet into the desired position, ensuring that the pan connector is fully connected to the soil pipe (spigot).
- Ensure that the toilet pan is level and fully backed against the wall.
- Mark the outer edge of the pan at both sides, aligning with each fixing hole located in the side wall of the toilet pan.
- Remove the pan from the location and measure the thickness of the toilet side wall.
- Create another mark in from the original mark, in line with the fixing hole on both sides.
- If using the ‘L’ shaped bracket assembly, place the front edge of the bracket on the inside mark and mark the screw hole position to secure the bracket to the floor. Repeat on the other side.
- Remove the brackets and drill the holes, ensuring no pipes or cables are damaged.
- If fitting into a solid floor, install the screw plugs and tap them flush to the floor.
- Place the brackets over the drilled holes/plugs and insert the screws and washers through the brackets, securing them into position.
Preparing the Cistern:
- Remove the nut and washer from the inlet valve, leaving the rubber seal fitted.
- Insert the tail of the inlet valve through the hole in the cistern tank from above.
- From underneath the tank, re-fit the washer and nut onto the tail of the inlet valve. Do not tighten fully at this stage.
Close Coupled Toilet and Cistern
- Toilet pan, seat and cistern are supplied in three separate boxes
- Waste pipe (pan connector) sold separately if a new installation

Please note: Image is for illustrative purposes only and may differ slightly to the actual product
- Single-person assembly
- Tools required
- We always recommend using professional tradespeople to install your product
Congratulations on your purchase
And welcome to our growing gang of savvy shoppers
We’re on a mission to bring you extraordinary bathroom products, for less. From modern to traditional style ceramics, plus the gorgeous fixtures, fittings and furniture to match. So, you can fall in love with your space every single day.
As one of the UK’s largest independent bathroom stores, we’ve received countless awards; including the National Business Awards UK, the Digital Entrepreneur Awards and being placed on The Sunday Times Fast Track 100.
We hope your new product goes above and beyond your expectations. However, should any problems occur, please:
- log in to your account and contact our customer services team via your self-serve portal – betterbathrooms.com/CustomerAccount/Login
- contact us via betterbathrooms.com/content/contact-us
Important information
- Please read these instructions thoroughly and retain for future reference.
- Manufactured to BS EN997 WC pans and WC suites with integraltrap.
- All installation work must be carried out to comply with the Water Bylaw Regulations.
- The installation should be designed to allow access for maintenance.
- This manual covers installation of the toilet pan, seat and cistern.

Parts

Toilet Pan (number 10 below) Seat
Floor fixing kit (below components)
- Screw cover
- Bracket to pan fixing screw
- Screw cup
- Floor fixing ‘L shaped’ bracket
- Floor screw
- Screw washer
- Screw plug


Cistern (components below) - Cistern tank
- Inlet valve including washer, seal and nut
- Toilet Pan
- Cistern bolt
- Cistern bolt seal
Cistern bolt nut - Doughnut washer

Flushing push button (components below) - Push button
- Flush rod nut
- Cistern lid
- Flush rods
- Rod rubber sleeve (not included in all models)
- Push button nut
- Syphon including washer, seal and nut (inside cistern part)
Please Note: For toilets which secure through the toilet directly into the floor, the ‘L shaped’ bracket is not used
Tools required
- Screwdriver
- Pencil
- Drill
- Sprit Level
- Drill Bit
- Hacksaw
- Spanner
- Adjustable grips
- Silicone sealant
- Hammer
Installation
Please note: Before starting any installation, turn off the water supply
Please note: Whenever possible and when safe to do so, it is recommended to carry out leak tests during the installation process
Pan Connector
The pan connector should be prepared for connection to the toilet being installed.
Please note: Pan connector (waste pipe) may need to be purchased separately if a new installation
Depending on your toilet, the pan connector could be installed through the wall, floor right and/or left.

Please note: Pan connector is not included.
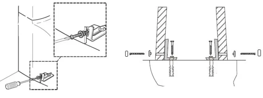
Close Coupled Toilet Pan Fitting
- Once the pan connector pipe is prepared, add a small amount of lubricant (washing up liquid) to the seal, then push the toilet into the require position, with the pan connector fully connected to the soil pipe (spigot).

- Ensure that the toilet pan is level and fully backed against the wall, then mark on the outer edge of the pan (at both sides), align with each fixing hole located in the side wall of the toilet pan.

- Remove the pan from the location, then measure the thickness of the toilet side wall and make another mark in from the original mark, and in line with the fixing hole. Repeat on the other side.

- If using the ‘L’ shaped bracket assembly, place the front edge of the bracket on the inside mark, then mark the screw hole position to secure the bracket to the floor. Repeat on the other side.

Please Note: For toilets which secure through the toilet directly into the floor, the ‘L shaped’ bracket is not used - Remove the brackets and drill the holes, ensuring that no pipes or cables can be damaged.

- If fitting into a solid floor, you will need to install the screw plugs and tap flush to the floor, then place the brackets over the drilled holes/plugs and insert the screws and washers through the brackets and secure into position.

Please note: Depending on the specification, this may be a screwdriver slot, not a spanner fitting
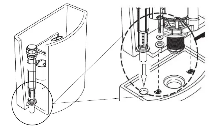
Preparing the Cistern
- From the inlet valve, remove the nut and washer, (the rubber seal should remain fitted) then place the tail of the inlet valve through the hole in the cistern tank. From underneath the tank re-fit the washer and the nut, do not tighten fully at this stage.

- Remove the nut from the cistern fixing bolt, then place the bolt, washer and seal into the bottom of the cistern so that the bolt passes through the fixing hole, ensure that the seal sits against the inside face of the tank.

- Remove the nut and washer from the syphon, then place the threaded tail (syphon) through the hole in the bottom of the cistern. (with the seal against the inside face of the tank) Fit the washer and nut to the syphon thread and tighten, do not use grips as this could deform the syphon.

- Fit the thick doughnut washer to the tail of the syphon and ensure this is fully surrounding the nut.

- Position the cistern tank onto the toilet, allowing the cistern bolts to pass through the holes (1) in the toilet pan, so the inlet valve thread passes through the hole (2) in the toilet pan, and so the doughnut washer sits inside the recess (3).

- From underneath the cistern, fit the nut to the cistern bolt, and using a screwdriver tighten the cistern bolts, do not overtighten.

- From underneath the tank, fit the washer and nut, and tighten, do not overtighten Connect the water supply pipe which should be a 1/2″ female flat-faced connector. Ensure to use a seal.

Re-fitting the Toilet Pan
- After securing the brackets, reft the toilet pan and push the waste spigot onto the pan connector, and align the fixing holes with the floor brackets, add a small amount of lubricant (washing up liquid) to assist.

- Once aligned, secure the toilet pan into position using the fixings provided, do not overtighten. Finish by pushing on the screw covers.

- Once the installation is completed, a small bead of silicone can be applied around the bottom edge of the toilet pan to finish.
Fitting the Push button
- Remove the nut from the push button assembly then screw the plastic flush rods into the push button.
Please note: These should be screwed in so that there is a 2 mm minimum gap between the end of the rod and button (on the syphon) - Place the assembly through the hole in the cistern lid and fit the lid to the tank, when the rods touch the syphon, measure the height ‘H’.
- Remove the rubber sleeves (not included in all models), then unscrew the rods and cut down by the dimension ‘H’, at the end that will touch the syphon.
- Screw the rods back into the push button and refit the rubber sleeves, then fit the nut and tighten, do not overtighten.
- Place the push button through the hole in the cistern lid, ensuring to align the large button with the full flush button on the syphon, operate several times to ensure correct function.

- Once assembly is completed, turn on water supply, check for leaks and check flush operation.
Troubleshooting
Please note: It is recommended to turn off the water supply via the stop valve before carrying out any internal maintenance
Water continues to run into the toilet pan
Remove the cistern tank lid and determine if the water level reaches the overflow pipe on the syphon; if it does, replace the inlet valve, if it doesn’t then replace the upper section of the syphon.

Insufficient or too much water entering the cistern tank
Adjust the inlet valve by turning the adjustment screw, until the desired level is reached.

No flush operation when the push button is pressed
Remove the cistern tank lid and press the two buttons on top of the syphon. If the cistern flushes ‘normal’, replace the push button or check that the rods have not been screwed into the push button too far, (that they’re not reaching the buttons when pressed).

Maintenance
Please note: Turn off the water supply and flush the toilet to drain away the water in the tank, it is also recommended to have a bucket under the tank to catch draining water
Please note: Depending on the toilet design you may need to remove the toilet pan from its location to access the inlet valve water supply nut and retaining nut
To replace the inlet valve
Disconnect the water supply from the inlet valve, then remove the inlet valve by unscrewing the nut on the underside of the cistern tank and remove the cistern tank lid and pull the inlet valve from the tank. Once replaced, ensure all seals are re-fitted.

To replace the syphon
This should only require the top section to be replaced. Grab the syphon and turn anti-clockwise and then lift. Upon replacing, ensure that the syphon clicks back into position and the flush buttons are aligned with the correct button on the syphon.

Cleaning
To maintain the surface finish of your product, wipe clean after every use, using a clean damp cloth, a mild detergent mixture can be used. Do not use abrasive cleaning agents or materials which can strip and scratch the surface; the use of these agents or materials can invalidate your guarantee.
BeBa_17290 – Top Fix Soft Close Toilet Seat

Please note: Image is for illustrative purposes only and may differ slightly to the actual product
- Single-person assembly
- Tools required
- We always recommend using professional tradespeople to install your product
Congratulations on your purchase
And welcome to our growing gang of savvy shoppers We’re on a mission to bring you extraordinary bathroom products, for less. From modern to traditional style ceramics, plus the gorgeous fixtures, fittings and furniture to match. So, you can fall in love with your space every single day. As one of the UK’s largest independent bathroom stores, we’ve received countless awards; including the National Business Awards UK, the Digital Entrepreneur Awards and being placed on The Sunday Times Fast Track 100. We hope your new product goes above and beyond your expectations. However, should any problems occur, please:
- log in to your account and contact our customer services team via your self- serve portal – betterbathrooms.com/CustomerAccount/Login
- contact us via betterbathrooms.com/content/contact-us
Parts For Top Fix Soft Close Toilet Seat

Please note that Parts are for illustrative purposes only and may differ slightly to the actual product
- Expanding Plug
- Gasket
- Fitting Peg
- Fixing Screw
- Fitting Cover
- Seat/Lid Assembly
Tools required
- Screwdriver
Installation For Top Fix Soft Close Toilet Seat
- Push the expanding plugs (part 1) into the holes on the toilet pan then place the gaskets (part 2) between fitting pegs (part 3) and toilet pan. Next, place the long screws (part 4) through the fitting pegs and gaskets and screw into the expanding plug (part 1 ).
Please note: Fit the screws loosely and do not fully tighten at this stage - Turn the fittings on the toilet so that they align with the holes on the seat, then push the seat onto the pegs until it clicks into place. Gently move the seat so that it aligns on the toilet pan.

- Once the seat is aligned, tighten the screws into the fittings (as below) then once the seat is secured, remove it by pressing both on the rear and lifting away.

- Place the fitting covers over the fixed fittings then push the seat onto the fitting pegs and click into position

Using
During use do not force the seat closed as this will damage the soft close mechanism.
Pull the seat and/or lid towards you slightly until it reaches the point at which it will fall under its own weight, then release.
Do not stand on the toilet seat.
Cleaning
To maintain the surface of your product, wipe with a clean damp cloth and wipe dry, do not use any abrasive cleaning agents or materials.
It is recommended to wipe the seat and fittings on a regular basis.
Troubleshooting
Seat becomes loose after a period of use
Remove the seat and re-tighten the fittings.
Soft close mechanism stops working
The mechanism cannot be replaced, replace the seat and lid, however, the fittings can remain fitted. Removal of seat/lid is advised in Maintenance (below).
Seat is short or overhangs the toilet pan
Align the seat lid with the front edge of the toilet pan, the fittings are adjustable.
Maintenance For Top Fix Soft Close Toilet Seat
- To remove the seat/lid, press the button at the rear of the seat and pull the seat/lid away from the fitting pegs. When replacing ensure it clicks into place.

- To access the fixing screws, remove the lid/seat as above, then pull off the covers.

Dual Flush Valve Instruction

Tip
- Read all manipulation and installation guideline, and please install it step by step according to the installation guideline and prevent any damage from product breakage and improper use.
- All material are written according to the latest information when design. Our company reserve the right to change product characterizes, package and supply at any time without notice.
- Do not use corrosive detergent (such as hypochlorite) in water tank because such strong oxidant makes fittings damaged easily and lead to leakage. The mentioned above situations are beyond the range of our guarantee.
- Our company do not bear the related loses and damages caused by use other company’s parts and material such as glass glue.
- Suitable temperature range: 0~45°C
Functional Instruction
- The flush valve has 2 flushing ways: half-flush and full flush; when you push the full flush, the discharge volume is big and when you push the half flush, the discharge volume is small.
- Water level of half flush is adjustable. (Refer to photo 6)
- Water level of full flush is adjustable. (Refer to photo 3-2)
Installation Steps
- Preparation before Installation
Remove the old fittings and wash tank before installation. And wash clean because many impurities probably existed in conduit. - Flush Valve Installation (According to the actual need)
Stainless steel hook for one-piece flush valve installation

- Contra rotate drainage body and make it remove from pedestal.
- Circumrotate stain less steel hook to the end of bolt clockwise
- Let pedestal aim at the water tank scupper, deflect properly, circumrotate, and, the stain less steel hook can reach the scupper downside, then, revise the pedestal, the sealing washer should put upside. Go through the pedestal by the middle finger of left hand to keep off stainless steel hook and make its both sides put around the outfall symmetrically.
- Circumrotate bolt by screwdriver and be sure that seal between sealing washer and the surrounding for outfall.
- Let flush valve body insert into pedestal and circus rotate it inside the buckle clockwise.
Two-piece flush valve installation
- Contra rotate drainage body and make it removed from pedestal.

- Let pedestal insert into outfall from inside of water tank, cover the drainage plastic washer, circumrotate drainage nut and cover the standard washer, and it can adjust the put angle properly according to the actual size of water tank.

- Let flush valve body insert into pedestal and circumrotate it inside the buckle clockwise.

Notice: If the product is different from the photo shown, please refer to the actual product.
Fill Valve Installation
- Put fill valve & water- inlet triangle washer insert into water-inlet hole of water tank, then, cover water- inlet plastic washer and hexagonal nut in turn from the bottom of fill valve. Fastening water -inlet hexagonal nut and make a proper adjust according to the size of water tank.

- Adjust water level: Fetch out buckle and screw off water- inlet body anti-clockwise: pull upside or press downside to the proper situation, then, screwing on water-inlet body closely and install the buckle. Little adjustment on water level: revolve adjusted rod to adjust the height of water -stop cup and buoy to reach the suitable water level you need.

- Connect water-supply pipe and built in adapter or filter according to your actual need. Notice: 1.Be sure that buoy is active freely before fill valve installation.
- Wash the impurity in the conduit when you connecting water-supply pipe. 3. The height of water level can not beyond overflow mouth of flush valve when adjusting water level.

Water tank Installation
Put water tank on ceramic toilet and make standard washer located at the outfall of toilet. Just the photo shows, let jointed bolt insert into installation hole, then, screw the jointed nut closely.

Examination

As photo show, connect water-inlet pipe to test and notice the following phenomenon:
- According to the height of half flush to adjust half flush water level: when half flush buoy is higher, the drainage volume is less; when it is lower, the drainage volume is more.
- Adjust the height of water level by the adjusted digit and its corresponding adjusted patch. The placket is big and its water level is high; the placket is small and its water level is low (Note: When adjusting full flush water level, please fetch out f lush valve, then, install flush valve again correctly after adjusted.)
- Adjust al l parts position to prevent them from interference.
- Open & close for water-stop cup is normal and has no leakage.
- It is normal for full flush and half flush.
Push button Installation

- Screw off push button nut.
- Let push button insert into water tank lid middle hole, screwing on push button nut from the bottom of water tank lid, then, screwing the adjusted nut closely and be sure that it is firm.

- Please confirm pull flush rod press the flush valve key-press whether or not and check it is blocked or not.
- Note: Screw off pull flush rod, the cut part is upside.
- Note: Pull flush rod should aim at the full flush key-press.
Examination Again
Cover water tank lid and notice the following phenomenon to confirm installation complete or not:
- 0pen & close for water-stop washer is normal and has no leakage .
- It is normal for full flush and half flush and they flush excellently.
Product Troubleshooting
| Symptoms | Probable Reasons | Corrective actions |
| Water level is too high or too low | Do not adjust the water level of fill valve well | Refer to photo 5 to adjust water level |
| Always water-inlet or do not water-inlet (for fill valve) |
|
|
| Leakage |
|
|
| No drainage or less drainage | Pull flush rod is too short to press drainage pipe | Adjust adjusted nut (refer to 7-2). |
| Water level for half flush is too heath or too low | Water level does not adjusted well | Adjust water level (refer to photo 6). |




















Please note: Fit the screws loosely and do not fully tighten at this stage


























